TOP
|
特許
|
意匠
|
商標
特許ウォッチ
Twitter
他の特許を見る
10個以上の画像は省略されています。
公開番号
2025169186
公報種別
公開特許公報(A)
公開日
2025-11-12
出願番号
2025068286
出願日
2025-04-17
発明の名称
ガスタービンのノズルセグメントのための分離ツールおよび方法
出願人
ジーイー・ベルノバ・テクノロジー・ゲーエムベーハー
,
GE Vernova Technology GmbH
代理人
個人
,
弁理士法人NIP&SBPJ国際特許事務所
主分類
F01D
25/00 20060101AFI20251105BHJP(機械または機関一般;機関設備一般;蒸気機関)
要約
【課題】ガスタービンのノズルセグメントのための分離ツールおよび方法を提供する。
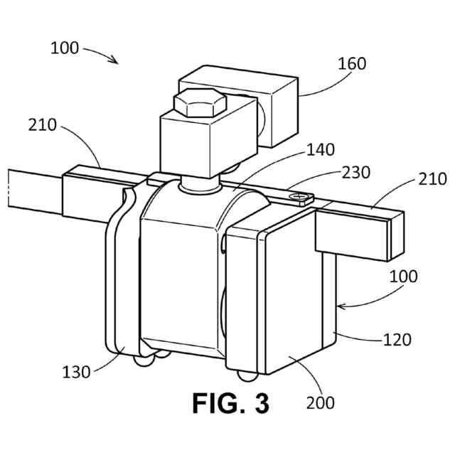
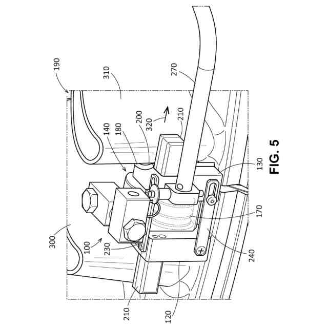
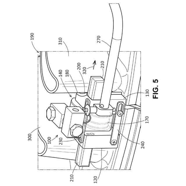
【解決手段】ノズルセグメント分離ツール(100)は、一対の分離ブラケットと、可動分離ブラケット(120)および静止分離ブラケット(130)と、一対の分離ブラケットの間に位置決めされた油圧シリンダ(140)とを含む。可動分離ブラケット(120)は、一対の翼形部(190)の第1の翼形部(300)の周りに位置決めされ、静止分離ブラケット(130)は、一対の翼形部(190)の第2の翼形部(310)の周りに位置決めされる。油圧シリンダ(140)は、静止分離ブラケット(130)が第2の翼形部(310)を押して第1の翼形部(300)から分離するまで、第1の翼形部(300)に対して可動分離ブラケット(120)を押し付ける。
【選択図】図5
特許請求の範囲
【請求項1】
タービン(40)内の隣接するノズルセグメント(66)の一対の翼形部(190)と共に使用するためのノズルセグメント分離ツール(100)であって、
一対の分離ブラケット(110)であって、
前記一対の分離ブラケット(110)は、可動分離ブラケット(120)および静止分離ブラケット(130)を備える
一対の分離ブラケット(110)と、
前記一対の分離ブラケット(110)の間に位置決めされた油圧シリンダ(140)と
を備え、
前記可動分離ブラケット(120)は、前記一対の翼形部(190)の第1の翼形部(300)の周りに位置決めされ、前記静止分離ブラケット(130)は、前記一対の翼形部(190)の第2の翼形部(310)の周りに位置決めされ、
前記油圧シリンダ(140)は、前記静止分離ブラケット(130)が前記第2の翼形部(310)を押して前記第1の翼形部(300)から分離するまで、前記第1の翼形部(300)に対して前記可動分離ブラケット(120)を押し付ける、
ノズルセグメント分離ツール(100)。
続きを表示(約 790 文字)
【請求項2】
前記油圧シリンダ(140)は、内部ピストン(170)を備える、請求項1に記載のノズルセグメント分離ツール(100)。
【請求項3】
前記油圧シリンダ(140)は、油圧スイベルホイスト(160)内に位置決めされた油圧流体ポート(150)を備える、請求項1に記載のノズルセグメント分離ツール(100)。
【請求項4】
前記一対の分離ブラケット(110)の一方または両方は、外形形状(180)を備える、請求項1に記載のノズルセグメント分離ツール(100)。
【請求項5】
前記一対の分離ブラケット(110)の各々は、衝撃吸収層(200)を備える、請求項1に記載のノズルセグメント分離ツール(100)。
【請求項6】
前記一対の分離ブラケット(110)の各々は、バンパ(210)を備える、請求項1に記載のノズルセグメント分離ツール(100)。
【請求項7】
前記バンパ(210)は、衝撃吸収層(200)を備える、請求項6に記載のノズルセグメント分離ツール(100)。
【請求項8】
前記一対の分離ブラケット(110)の間に位置決めされた安全スライド(220)をさらに備える、請求項1に記載のノズルセグメント分離ツール(100)。
【請求項9】
前記安全スライド(220)は、前記可動分離ブラケット(120)に固定して取り付けられる、請求項8に記載のノズルセグメント分離ツール(100)。
【請求項10】
前記安全スライド(220)は、ローラ(250)およびスロット(260)を介して前記静止分離ブラケット(130)に摺動可能に取り付けられる、請求項9に記載のノズルセグメント分離ツール(100)。
(【請求項11】以降は省略されています)
発明の詳細な説明
【技術分野】
【0001】
本出願および結果として得られる特許は、一般に、ガスタービンエンジンに関し、より詳細には、修理または交換のためにタービンのケーシングからノズルを取り外す準備において隣接するノズルセグメントを分離するために使用される分離ツールに関する。
続きを表示(約 3,000 文字)
【背景技術】
【0002】
ガスタービンエンジンは、従来、周囲空気を圧縮するための圧縮機と、空気の流れを燃料の流れと混合して高温燃焼ガスを生成するための燃焼器とを含む。タービンは、高温燃焼ガスの流れを受け取り、そこからエネルギーを抽出して圧縮機に動力を供給し、発電機などの外部負荷のための出力動力を発生する。高温ガス経路に沿って位置決めされたタービンノズルおよびブレードなどのタービン構成要素は、高い燃焼温度および圧力、ならびに異なるタイプの動的力を受ける。したがって、これらの高温ガス経路構成要素は、効率的かつ安全な性能を確保するために定期的に交換および/または改修することができる。
【0003】
ノズルなどの高温ガス構成要素の取り外しは、困難で時間がかかる場合がある。ノズルの各段は、典型的には、セグメントに形成され、タービンセクションのケーシングの周りに連続的なリングを形成するように円周方向に端から端まで載置されてもよい。高温高圧環境は、支持構造内でノズルを互いにくっつけ、かつ/または互いに固着させる原因となり得る。さらに、タービンセクションにおける小さな隙間は、ノズルおよびその中の他の構成要素にアクセスするための空間をほとんど提供せず、取り外し前にノズルを分離する任意のタイプの力を加えるための十分な空間がはるかに少ない。
【発明の概要】
【0004】
したがって、本出願および結果として得られる特許は、タービン内の隣接するノズルセグメントの一対の翼形部と共に使用するためのノズルセグメント分離ツールを提供する。ノズルセグメント分離ツールは、一対の分離ブラケットと、可動分離ブラケットおよび静止分離ブラケットと、一対の分離ブラケットの間に位置決めされた油圧シリンダとを含む。可動分離ブラケットは、一対の翼形部の第1の翼形部の周りに位置決めされ、静止分離ブラケットは、一対の翼形部の第2の翼形部の周りに位置決めされる。油圧シリンダは、静止分離ブラケットが第2の翼形部を押して第1の翼形部から分離するまで、第1の翼形部に対して可動分離ブラケットを押し付ける。
【0005】
本出願および結果として得られる特許は、タービンのケーシング内の一対の隣接するノズルを分離する方法をさらに提供する。方法は、一対の翼形部の周りにノズルセグメント分離ツールを摺動させるステップと、一対の翼形部の第1の翼形部の周りにノズルセグメント分離ツールの可動分離ブラケットを位置決めするステップと、一対の翼形部の第2の翼形部の周りにノズルセグメント分離ツールの静止分離ブラケットを位置決めするステップと、静止分離ブラケットが第2の翼形部を押して第1の翼形部から分離するまで、油圧シリンダによって第1の翼形部に対して可動分離ブラケットを押し付けるステップとを含むことができる。
【0006】
本出願および結果として得られる特許は、タービン内の隣接するノズルセグメントの一対の翼形部と共に使用するためのノズルセグメント分離ツールをさらに提供することができる。ノズルセグメント分離ツールは、一対の分離ブラケットと、可動分離ブラケットおよび静止分離ブラケットと、一対の分離ブラケットの間に位置決めされた油圧シリンダとを含む。静止分離ブラケットは、油圧シリンダに取り付けられ、外形形状を含む。可動分離ブラケットは、一対の翼形部の第1の翼形部の周りに位置決めされ、静止分離ブラケットは、一対の翼形部の第2の翼形部の周りに位置決めされる。油圧シリンダは、静止分離ブラケットが第2の翼形部を押して第1の翼形部から分離するまで、第1の翼形部に対して可動分離ブラケットを押し付ける。
【0007】
本出願および結果として得られる特許のこれらおよび他の特徴および改良は、いくつかの図面および添付の特許請求の範囲と併せて、以下の詳細な説明を検討することにより当業者には明らかになるであろう。
【図面の簡単な説明】
【0008】
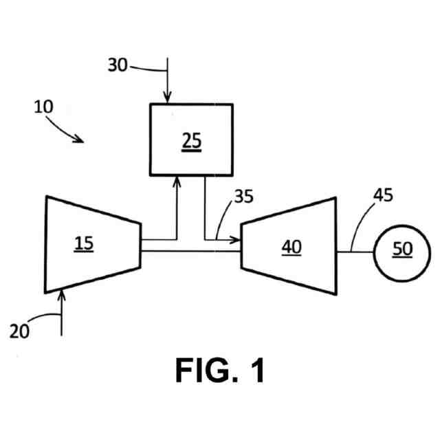
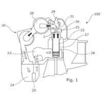
圧縮機、燃焼器、タービン、および外部負荷を含むガスタービンエンジンの概略図である。
タービンのケーシング内に位置決めされたいくつかの段の概略図である。
本明細書に記載され得るノズルセグメント分離ツールの正面斜視図である。
図3のノズルセグメント分離ツールの背面斜視図である。
一対の翼形部の間に位置決めされた図3のノズルセグメント分離ツールの部分正面断面図である。
一対の翼形部の間に位置決めされた図3のノズルセグメント分離ツールの部分背面断面図である。
ノズルセグメントの間に位置決めされた図3のノズルセグメント分離ツールの斜視図である。
一対の翼形部の間に位置決めされた図3のノズルセグメント分離ツールの上面図である。
ノズルセグメントの周りに位置決めされた図3のノズルセグメント分離ツールの側面図である。
【発明を実施するための形態】
【0009】
ここで図面を参照すると、いくつかの図を通して同一の符号が同一の要素を指し、図1は、本明細書で使用され得るガスタービンエンジン10の概略図を示す。ガスタービンエンジン10は、圧縮機15を含むことができる。圧縮機15は、流入する空気の流れ20を圧縮する。圧縮機15は、圧縮された空気の流れ20をいくつかの燃焼器缶25に送達する。燃焼器缶25は、圧縮された空気の流れ20を加圧された燃料の流れ30と混合し、混合物に点火して高温燃焼ガスの流れ35を生成する。単一の燃焼器缶25のみが示されているが、ガスタービンエンジン10は、円周方向アレイなどで位置決めされた任意の数の燃焼器缶25を含むことができる。あるいは、燃焼器25は、環状燃焼器であってもよい。燃焼ガス35の流れは、次いでタービン40に送達される。燃焼ガス35の流れは、タービン40を駆動して機械的仕事を発生する。タービン40で発生した機械的仕事は、ロータシャフト45を介して圧縮機15および発電機などの外部負荷50を駆動する。
【0010】
ガスタービンエンジン10は、天然ガス、様々なタイプの合成ガス、液体燃料、および/または他のタイプの燃料、ならびにこれらの配合物を使用することができる。ガスタービンエンジン10は、限定はしないが、7シリーズまたは9シリーズのヘビーデューティガスタービンエンジンなどのエンジンを含む、ニューヨーク州スケネクタディのゼネラルエレクトリック社が提供するいくつかの異なるガスタービンエンジンのうちの任意の1つであってもよい。ガスタービンエンジン10は、単純サイクルもしくは複合サイクル発電システムまたは他のタイプの発電システムの一部であってもよい。ガスタービンエンジン10は、異なる構成を有してもよく、他のタイプの構成要素を使用してもよい。他のタイプのガスタービンエンジンがまた、本明細書で使用されてもよい。複数のガスタービンエンジン、他のタイプのタービン、および他のタイプの発電機器がまた、共に本明細書で使用されてもよい。
(【0011】以降は省略されています)
この特許をJ-PlatPat(特許庁公式サイト)で参照する
関連特許
トヨタ自動車株式会社
計測システム
1か月前
株式会社SUBARU
エンジン制御装置
9日前
株式会社クボタ
多目的車両
1か月前
株式会社クボタ
多目的車両
1か月前
トヨタ自動車株式会社
水素エンジン
23日前
トヨタ自動車株式会社
油量判定装置
10日前
トヨタ自動車株式会社
異常診断装置
17日前
株式会社アイシン
冷却モジュール
9日前
トヨタ自動車株式会社
内燃機関の制御装置
23日前
日産自動車株式会社
内燃機関
9日前
トヨタ自動車株式会社
内燃機関の制御装置
18日前
トヨタ自動車株式会社
車両のエンジンルーム構造
1か月前
株式会社豊田自動織機
排気浄化装置
26日前
トヨタ自動車株式会社
車両の制御装置
1か月前
三菱自動車工業株式会社
オイルパン
25日前
カナデビア株式会社
排ガス処理システム
19日前
川崎重工業株式会社
多段ラジアルタービン
9日前
トヨタ自動車株式会社
冷却システム
24日前
株式会社豊田自動織機
内燃機関の制御装置
10日前
スズキ株式会社
エンジンの排気浄化装置
4日前
三菱重工業株式会社
蒸気タービンシステム
19日前
株式会社豊田自動織機
内燃機関の制御システム
1か月前
トヨタ自動車株式会社
ウォーターポンプ制御装置
19日前
スズキ株式会社
内燃機関のオイルレベルゲージの支持構造
25日前
フタバ産業株式会社
触媒の盗難抑制構造及び触媒の盗難抑制システム
1か月前
株式会社小松製作所
ファン駆動システム及びファン駆動方法
9日前
三菱重工業株式会社
劣化判定装置、劣化判定システム、および、劣化判定方法
1か月前
三菱重工業株式会社
静翼セグメント、及びこれを備える蒸気タービン
2日前
イブラヒム ハンナ
内燃機関用の自給式4ストローク1サイクル燃焼シリンダ
10日前
ヤンマーパワーテクノロジー株式会社
エンジン装置
11日前
三菱重工業株式会社
流路形成板、分割環、静翼、ガスタービン、及び流路形成板の製造方法
24日前
エヴァレンス,フィリアル・アフ・エヴァレンス・エスイー,ティスクランド
内燃機関の排気弁
1か月前
ジーイー・ベルノバ・テクノロジー・ゲーエムベーハー
冷却回路を有するタービンシュラウドおよびターボ機械
11日前
ジーイー・ベルノバ・テクノロジー・ゲーエムベーハー
ガスタービンのノズルセグメントのための分離ツールおよび方法
4日前
アクセラロン スウィツァーランド リミテッド
排気ガスタービンのタービンホイールのバランス調整を行うための方法及びバランス調整されたタービンホイール
1か月前
エヴァレンス,フィリアル・アフ・エヴァレンス・エスイー,ティスクランド
二酸化炭素回収のための方法及び大型2ストロークユニフロー掃気内燃機関
19日前
他の特許を見る