TOP
|
特許
|
意匠
|
商標
特許ウォッチ
Twitter
他の特許を見る
10個以上の画像は省略されています。
公開番号
2025168995
公報種別
公開特許公報(A)
公開日
2025-11-12
出願番号
2024073929
出願日
2024-04-30
発明の名称
半導体装置
出願人
ルネサスエレクトロニクス株式会社
代理人
弁理士法人筒井国際特許事務所
主分類
H10D
30/65 20250101AFI20251105BHJP()
要約
【課題】LDMOSFETのオフ耐圧を低下させることなく、LDMOSFETのしきい値電圧を低減する。
【解決手段】半導体装置は、オフセットドレイン領域ODとp型ウェルPWLを有する。ゲート電極のゲート長方向において、オフセットドレイン領域ODとp型ウェルPWLの第1部分P1との間の第1距離は、オフセットドレイン領域ODとp型ウェルPWLの第2部分P2との間の第2距離よりも大きい。半導体装置は、エピタキシャル層EPIのうちのオフセットドレイン領域ODとソース領域SRとの間に位置する部分内に形成されたn型半導体領域NRを有する。
【選択図】図13
特許請求の範囲
【請求項1】
第1導電型の半導体基板と、
前記半導体基板内に形成され、かつ、前記半導体基板の不純物濃度よりも高い不純物濃度を有し、第1部分および第2部分を有する前記第1導電型の第1ウェルと、
前記半導体基板内に形成され、かつ、前記第1ウェルと離れており、かつ、前記第1導電型とは反対の第2導電型のオフセットドレイン領域と、
前記オフセットドレイン領域内に形成され、かつ、前記オフセットドレイン領域の不純物濃度よりも高い不純物濃度を有する前記第2導電型のドレイン領域と、
前記第1ウェルの前記第1部分と部分的に重なるように前記半導体基板内に形成され、前記オフセットドレイン領域と離れている前記第2導電型のソース領域と、
前記半導体基板上に形成されたゲート絶縁膜と、
前記ゲート絶縁膜上に形成されたゲート電極と、
を備え、
前記ゲート電極のゲート長方向において、前記オフセットドレイン領域と前記第1ウェルの前記第1部分との間の第1距離は、前記オフセットドレイン領域と前記第1ウェルの前記第2部分との間の第2距離よりも大きく、
前記半導体装置は、前記半導体基板のうちの前記オフセットドレイン領域と前記ソース領域との間に位置する部分内に形成された前記第2導電型の第1半導体領域を有する、半導体装置。
続きを表示(約 880 文字)
【請求項2】
請求項1に記載の半導体装置において、
前記第1半導体領域は、前記半導体基板のうちの前記オフセットドレイン領域と前記第1ウェルの前記第2部分との間に位置する部分内に形成されている。
【請求項3】
請求項2に記載の半導体装置において、
前記第1半導体領域は、前記第1ウェル内にも延在する。
【請求項4】
請求項1に記載の半導体装置において、
前記第1半導体領域は、前記半導体基板のうちの前記オフセットドレイン領域と前記第1ウェルの前記第2部分内との間に位置する部分内に形成されないように配置される。
【請求項5】
請求項1に記載の半導体装置において、
前記第1半導体領域の不純物濃度は、前記半導体基板の不純物濃度よりも高い。
【請求項6】
請求項5に記載の半導体装置において、
前記第1半導体領域の不純物濃度は、前記第1ウェルの不純物濃度よりも低い。
【請求項7】
請求項5に記載の半導体装置において、
前記第1半導体領域の不純物濃度は、前記第1ウェルの不純物濃度よりも高い。
【請求項8】
請求項1に記載の半導体装置において、
前記第1導電型は、p型であり、
前記第2導電型は、n型であり、
前記ゲート電極は、nチャネル型電界効果トランジスタのゲート電極であり、
前記nチャネル型電界効果トランジスタは、負のしきい値電圧を有する。
【請求項9】
請求項1に記載の半導体装置において、
前記半導体装置は、前記オフセットドレイン領域内に形成された溝を有し、
前記溝には、絶縁材料が充填されている。
【請求項10】
請求項1に記載の半導体装置において、
前記第1ウェルの前記第1部分と前記第1ウェルの前記第2部分は、前記ゲート電極のゲート幅方向において隣り合っている。
(【請求項11】以降は省略されています)
発明の詳細な説明
【技術分野】
【0001】
本発明は、半導体装置に関し、例えば、横方向拡散電界効果トランジスタ(LDMOSFET(Laterally Diffused Metal Oxide Semiconductor Field Effect Transistor))を含む半導体装置に適用して有効な技術に関する。
続きを表示(約 2,400 文字)
【背景技術】
【0002】
特開2020-129597号公報(特許文献1)は、LDMOSFETを含む半導体装置に関する技術を記載している。
【先行技術文献】
【特許文献】
【0003】
特開2020-129597号公報
【発明の概要】
【発明が解決しようとする課題】
【0004】
例えば、LDMOSFETを含む半導体装置において、LDMOSFETのオフ耐圧を低下させることなく、LDMOSFETのしきい値電圧を低減することが望まれている。
【0005】
その他の課題と新規な特徴は、本明細書の記述および添付図面から明らかになる。
【課題を解決するための手段】
【0006】
一実施の形態において、半導体装置は、第1部分と第2部分を有するp型ウェルと、半導体基板内に形成され、且つオフセットドレイン領域とソース領域との間に配置されたn型半導体領域と、を備える。
【発明の効果】
【0007】
一実施の形態におけるLDMOSFETを含む半導体装置によれば、LDMOSFETのオフ耐圧を低下させることなく、LDMOSFETのしきい値電圧を低減できる。
【図面の簡単な説明】
【0008】
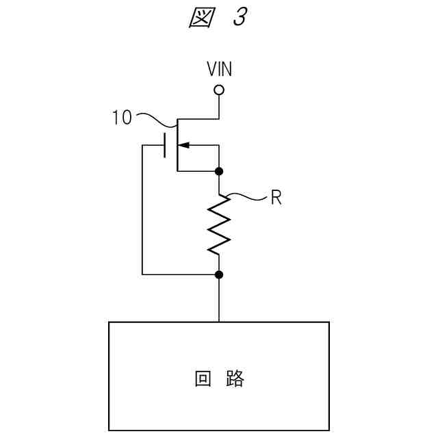
抵抗素子から構成される定電流源の構成を示す図である。
図1に示す定電流源において、電流-電圧特性を示すグラフである。
デプレッション型MOSFETと抵抗素子の組み合わせから構成される定電流源の構成を示す図である。
図3に示す定電流源において、電流-電圧特性を示すグラフである。
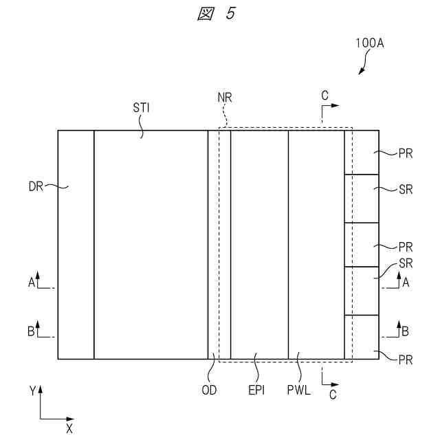
第1関連技術におけるLDMOSFETを示す平面図である。
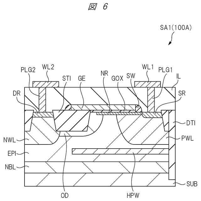
図5のA-A線に沿うLDMOSFETの断面図である。
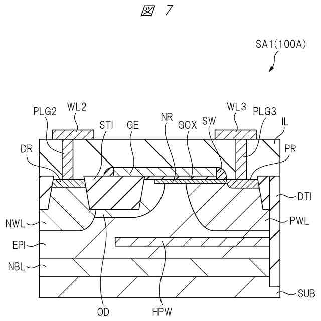
図5のB-B線に沿うLDMOSFETの断面図である。
図5のC-C線に沿うLDMOSFETの断面図である。
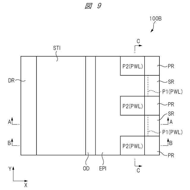
第2関連技術におけるLDMOSFETを示す平面図である。
図9のA-A線に沿うLDMOSFETの断面図である。
図9のB-B線に沿うLDMOSFETの断面図である。
図9のC-C線に沿うLDMOSFETの断面図である。
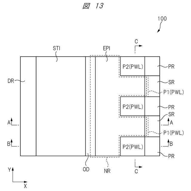
実施の形態1におけるLDMOSFETを示す平面図である。
図13のA-A線に沿うLDMOSFETの断面図である。
図13のB-B線に沿うLDMOSFETの断面図である。
図13のC-C線に沿うLDMOSFETの断面図である。
変形例におけるLDMOSFETを示す平面図である。
図17のA-A線に沿うLDMOSFETの断面図である。
図17のB-B線に沿うLDMOSFETの断面図である。
実施の形態1における半導体装置の製造工程を示す図である。
図20に続く半導体装置の製造工程を示す図である。
図21に続く半導体装置の製造工程を示す図である。
図22に続く半導体装置の製造工程を示す図である。
図23に続く半導体装置の製造工程を示す図である。
図24に続く半導体装置の製造工程を示す図である。
n型半導体領域を形成するための開口部の構成例を示す図である。
n型半導体領域を形成するための開口部の他の構成例を示す図である。
n型半導体領域を形成するための開口部の他の構成例を示す図である。
実施の形態2におけるLDMOSFETを示す平面図である。
図29のA-A線に沿うLDMOSFETの断面図である。
図29のB-B線に沿うLDMOSFETの断面図である。
図29のC-C線に沿うLDMOSFETの断面図である。
実施の形態3におけるLDMOSFETを示す平面図である。
図33のA-A線に沿うLDMOSFETの断面図である。
図33のB-B線に沿うLDMOSFETの断面図である。
図33のC-C線に沿うLDMOSFETの断面図である。
(a)は、図14と図34において、深さ方向におけるエピタキシャル層内の不純物プロファイルを示す図であり、(b)は、図15と図35において、深さ方向におけるエピタキシャル層内の不純物プロファイルを示す図である。
第1部分と第2部分を有する「ラダー構造」からなるp型ウェルおよびn型半導体領域を有するLDMOSFETにおいて、ソース領域に流れるメイン電流およびサブ電流を示す図である。
実施の形態3において、メイン電流の電流-電圧特性およびサブ電流の電流-電圧特性を示すグラフである。
【発明を実施するための形態】
【0009】
実施の形態を説明するための全図において、同一の部材には原則として同一の符号を付し、その繰り返しの説明は省略する。なお、図面をわかりやすくするために平面図であってもハッチングを付す場合がある。
【0010】
<デプレッション型電界効果トランジスタの有用性>
電界効果トランジスタとして、デプレッション型電界効果トランジスタとエンハンスト型電界効果トランジスタが知られている。「デプレッション型電界効果トランジスタ」がnチャネル型電界効果トランジスタである場合、「デプレッション型電界効果トランジスタ」は、負のしきい値電圧を有する。一方、「エンハンスト型電界効果トランジスタ」がnチャネル型電界効果トランジスタである場合、「エンハンスト型電界効果トランジスタ」は、正のしきい値電圧を有する。「デプレッション型電界効果トランジスタ」は、ノーマリオン型トランジスタとも呼ばれる。また、「エンハンスト型電界効果トランジスタ」は、ノーマリオフ型トランジスタとも呼ばれる。
(【0011】以降は省略されています)
この特許をJ-PlatPat(特許庁公式サイト)で参照する
関連特許
個人
半導体装置
1か月前
個人
積和演算用集積回路
22日前
サンケン電気株式会社
半導体装置
21日前
東レ株式会社
太陽電池モジュール
1か月前
旭化成株式会社
発光素子
1か月前
エイブリック株式会社
縦型ホール素子
1か月前
エイブリック株式会社
縦型ホール素子
1か月前
日機装株式会社
半導体発光装置
16日前
ローム株式会社
半導体装置
1か月前
ローム株式会社
半導体装置
今日
富士通株式会社
半導体装置
1か月前
ローム株式会社
抵抗チップ
1か月前
三菱電機株式会社
半導体装置
1か月前
三菱電機株式会社
半導体装置
1か月前
株式会社半導体エネルギー研究所
表示装置
今日
富士電機株式会社
半導体装置
1か月前
株式会社半導体エネルギー研究所
表示装置
1か月前
三菱電機株式会社
半導体装置
8日前
株式会社東芝
半導体装置
8日前
日亜化学工業株式会社
発光装置
1か月前
日亜化学工業株式会社
発光素子
1か月前
TDK株式会社
圧電素子
1か月前
日亜化学工業株式会社
発光装置
1か月前
ローム株式会社
半導体集積回路
1か月前
ローム株式会社
半導体装置
1か月前
ローム株式会社
窒化物半導体装置
1か月前
サンケン電気株式会社
半導体装置
8日前
株式会社半導体エネルギー研究所
発光デバイス
29日前
ローム株式会社
窒化物半導体装置
1か月前
ローム株式会社
半導体装置
1か月前
富士電機株式会社
半導体装置の製造方法
1か月前
ローム株式会社
半導体装置
21日前
株式会社半導体エネルギー研究所
発光デバイス
16日前
沖電気工業株式会社
発光装置及び表示装置
1か月前
大日本印刷株式会社
太陽電池
1か月前
日亜化学工業株式会社
発光素子
21日前
続きを見る
他の特許を見る