TOP
|
特許
|
意匠
|
商標
特許ウォッチ
Twitter
他の特許を見る
10個以上の画像は省略されています。
公開番号
2025168937
公報種別
公開特許公報(A)
公開日
2025-11-12
出願番号
2024073817
出願日
2024-04-30
発明の名称
電子機器用サブラック、及び、電子機器用ラック
出願人
株式会社東芝
代理人
弁理士法人鈴榮特許綜合事務所
主分類
H05K
7/18 20060101AFI20251105BHJP(他に分類されない電気技術)
要約
【課題】種々の高さの電子機器を実装しやすい電子機器用サブラックを提供する。
【解決手段】第1の部品12は、底板22、1対の第1の側壁24a,b、1対の第1の固定部26a,b、及び、1対の載置部28を有する。第1の固定部は、第1の側壁のうち、第1の側壁間の底板上に電子機器を出し入れする側の端面から外側に向かってそれぞれ突出し、電子機器用ラック10のフレームに固定される。載置部は、電子機器用ラックの該フレームに設けられる支持部に載置される。第2の部品14は、天井板、1対の第2の側壁、及び、1対の第2の固定部を有する。天井板32は、底板に対向する位置に配置される。第2の固定部36a,bは、第2の側壁34a,bのうち、第2の側壁間の該電子機器を出し入れする側の端面から第2の側壁の外側に向かってそれぞれ突出し、第1の部品の底板に対する天井板の高さを調整して電子機器用ラックのフレームに固定される。
【選択図】図3
特許請求の範囲
【請求項1】
各種の電子機器が載置される底板、
前記底板にそれぞれ設けられ、互いに対向する1対の第1の側壁、
前記1対の第1の側壁のうち、前記1対の第1の側壁間の前記底板上に前記電子機器を出し入れする側の端面から前記1対の第1の側壁の外側に向かってそれぞれ突出し、電子機器用ラックのフレームに固定される1対の第1の固定部、及び、
前記1対の第1の側壁の外側となる面にそれぞれ設けられ、前記電子機器用ラックの前記フレームに設けられる支持部に載置される1対の載置部、
を有する第1の部品と、
前記底板に対向する位置に配置される天井板、
前記天井板にそれぞれ設けられ、互いに対向し、前記天井板及び前記第1の部品とともに前記電子機器を収容する収容部を形成する1対の第2の側壁、及び、
前記1対の第2の側壁のうち、前記1対の第2の側壁間の前記電子機器を出し入れする側の端面から前記1対の第2の側壁の外側に向かってそれぞれ突出し、前記第1の部品の前記底板に対する前記天井板の高さを調整して前記電子機器用ラックの前記フレームに固定される1対の第2の固定部、
を有する第2の部品と
を備える、電子機器用サブラック。
続きを表示(約 1,000 文字)
【請求項2】
前記1対の第2の固定部は、それぞれ、
前記フレームに固定されるときに前記フレームに当接される前記天井板側の第1の壁部と、
前記第1の壁部よりも前記天井板から離間し、前記第1の固定部に重ねられる第2の壁部と、
前記フレームに固定されるときに前記フレームに対して前記第2の壁部を前記フレームに対して前記第1の壁部よりも離間させるように前記第1の壁部と前記第2の壁部とを連結し、前記第2の壁部と前記第1の固定部が重ねられたときに、前記第1の壁部のうち、前記フレームに当接される面を、前記第1の固定部のうち、前記フレームに固定されるときに前記フレームに当接される面と面一に配置する段差を形成する連結部と
を備える、
請求項1に記載の電子機器用サブラック。
【請求項3】
前記1対の第1の側壁に対して、前記1対の第2の側壁が外側に配置されるとき、前記1対の載置部のうち、前記支持部に支持される下端は、前記1対の第2の側壁の下端よりも下側に配置される、
請求項1又は請求項2に記載の電子機器用サブラック。
【請求項4】
前記1対の第2の側壁は、前記1対の載置部に固定される、
請求項3に記載の電子機器用サブラック。
【請求項5】
前記1対の載置部は、前記1対の第1の側壁と前記1対の第2の側壁との間にそれぞれ空間を形成する、
請求項1又は請求項2に記載の電子機器用サブラック。
【請求項6】
前記第1の部品は、前記1対の第1の側壁のうち、前記1対の第1の固定部が設けられる前記端面とは反対側の端面から前記収容部に向かって突出する1対の第1の突出部を備え、
前記第2の部品は、前記1対の第2の側壁のうち、前記1対の第2の固定部が設けられる前記端面とは反対側の端面から前記収容部に向かって突出し、前記1対の第1の突出部に固定される1対の第2の突出部を備える、
請求項1又は請求項2に記載の電子機器用サブラック。
【請求項7】
請求項1又は請求項2に記載の電子機器用サブラックと、
前記1対の第2の側壁の外側間の幅よりも離間してそれぞれ上下方向に延び、前記1対の第1の固定部、前記1対の第2の固定部が重ねられて固定される1対の縦フレームを有する筐体と、
前記筐体に設けられ、前記電子機器用サブラックの前記1対の載置部を載置して支持する支持部と、
を有する、電子機器用ラック。
発明の詳細な説明
【技術分野】
【0001】
本発明の実施形態は、電子機器用サブラック、及び、電子機器用ラックに関する。
続きを表示(約 1,900 文字)
【背景技術】
【0002】
所定の幅を有する電子機器用ラック(以下、主としてラックと称する)に複数の電子機器を実装する場合、複数の電子機器用サブラック(以下、主としてサブラックと称する)をラックに実装し、複数の電子機器を複数のサブラックに分けて実装している。
【先行技術文献】
【特許文献】
【0003】
特開2001-358477号公報
特開2005-198686号公報
【発明の概要】
【発明が解決しようとする課題】
【0004】
本発明が解決しようとする課題は、種々の高さの電子機器を実装しやすい電子機器用サブラック、及び、そのようなサブラックを有する電子機器用ラックを提供することである。
【課題を解決するための手段】
【0005】
実施形態によれば、電子機器用サブラックは、第1の部品と、第2の部品とを備える。第1の部品は、各種の電子機器が載置される底板、1対の第1の側壁、1対の第1の固定部、及び、1対の載置部を有する。1対の第1の側壁は、底板にそれぞれ設けられ、互いに対向する。1対の第1の固定部は、1対の第1の側壁のうち、1対の第1の側壁間の底板上に電子機器を出し入れする側の端面から1対の第1の側壁の外側に向かってそれぞれ突出し、電子機器用ラックのフレームに固定される。1対の載置部は、1対の第1の側壁の外側となる面にそれぞれ設けられ、電子機器用ラックのフレームに設けられる支持部に載置される。第2の部品は、天井板、1対の第2の側壁、及び、1対の第2の固定部を有する。天井板は、底板に対向する位置に配置される。1対の第2の側壁は、天井板にそれぞれ設けられ、互いに対向し、天井板及び第1の部品とともに電子機器を収容する収容部を形成する。1対の第2の固定部は、1対の第2の側壁のうち、1対の第2の側壁間の電子機器を出し入れする側の端面から1対の第2の側壁の外側に向かってそれぞれ突出し、第1の部品の底板に対する天井板の高さを調整して電子機器用ラックのフレームに固定される。
【図面の簡単な説明】
【0006】
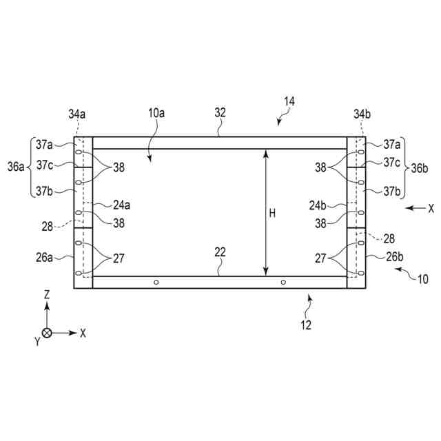
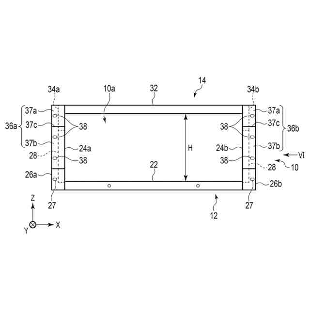
実施形態に係る電子機器用ラックの構成を示す概略的な正面図。
図1に示す符号IIで示す方向から見たラックの側面図
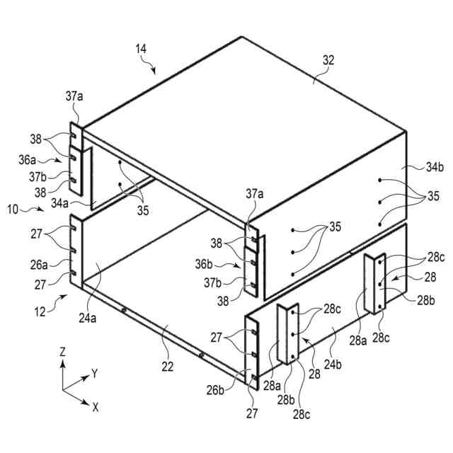
ラックに用いられる第1実施形態に係る電子機器用サブラックの概略的な分解斜視図。
ラックに用いられるサブラックの収容部の高さを低くした状態を示す概略的な斜視図。
図4に示すサブラックの概略的な正面図。
図5中の符号VIで示す方向から見たサブラックの側面図。
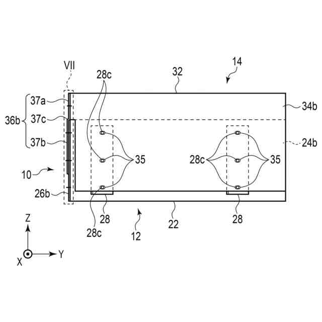
図6中の符号VIIで示す位置の拡大図。
ラックに用いられるサブラックの収容部の高さを図4に示す状態に対して大きくした状態を示す概略的な斜視図。
図8に示すサブラックの概略的な正面図。
図9中の符号Xで示す方向から見たサブラックの側面図。
図10中の符号XIで示す位置の拡大図。
ラックに用いられる第2実施形態に係る電子機器用サブラックの概略的な分解斜視図。
ラックに用いられる第3実施形態に係る電子機器用サブラックの概略的な正面図。
【発明を実施するための形態】
【0007】
以下、図面を参照しながら好ましい実施形態について説明する。
【0008】
(第1実施形態)
図1は、実施形態に係る電子機器用サブラック(以下、主にサブラックと称する)10を有する電子機器用ラック(以下、主にラックと称する)100の構成を示す概略的な正面図である。図2は、図1に示す符号IIで示す方向から見たラック100の側面図である。ラック100は、筐体100aと、筐体100aに設けられ、サブラック10の後述する1対の載置部28が載置されて支持する複数の支持部120と、支持部120に支持されるとともに筐体100aに固定されるサブラック10と、を備える。
【0009】
ラック100には、図1及び図2に示すようにXYZ直交座標系を設定する。なお、図1及び図2中、ラック100の筐体100aにサブラック10を取り付ける際に用いる雄ネジ又はボルト(以下、これらを主としてネジと称する)の図示を省略する。なお、雄ネジとしては、例えば、座金組込みネジや、つまみネジを用いることができる。
【0010】
図3は、ラック100に用いられる第1実施形態に係る電子機器用サブラック10の分解斜視図である。
(【0011】以降は省略されています)
この特許をJ-PlatPat(特許庁公式サイト)で参照する
関連特許
株式会社東芝
端子台
20日前
株式会社東芝
センサ
1か月前
株式会社東芝
モータ
1か月前
株式会社東芝
センサ
1か月前
株式会社東芝
電子装置
1か月前
株式会社東芝
吸音装置
1か月前
株式会社東芝
電子回路
29日前
株式会社東芝
電子装置
1か月前
株式会社東芝
金型構造
1か月前
株式会社東芝
除去装置
13日前
株式会社東芝
半導体装置
1か月前
株式会社東芝
真空バルブ
1か月前
株式会社東芝
半導体装置
1か月前
株式会社東芝
半導体装置
1か月前
株式会社東芝
半導体装置
1か月前
株式会社東芝
半導体装置
1か月前
株式会社東芝
半導体装置
1か月前
株式会社東芝
半導体装置
1か月前
株式会社東芝
半導体装置
1か月前
株式会社東芝
半導体装置
1か月前
株式会社東芝
半導体装置
1か月前
株式会社東芝
半導体装置
1か月前
株式会社東芝
半導体装置
1か月前
株式会社東芝
半導体装置
1か月前
株式会社東芝
真空バルブ
28日前
株式会社東芝
半導体装置
29日前
株式会社東芝
半導体装置
29日前
株式会社東芝
高周波回路
29日前
株式会社東芝
半導体装置
1か月前
株式会社東芝
半導体装置
29日前
株式会社東芝
半導体装置
1か月前
株式会社東芝
半導体装置
29日前
株式会社東芝
半導体装置
29日前
株式会社東芝
半導体装置
1か月前
株式会社東芝
半導体装置
1か月前
株式会社東芝
粒子加速器
1か月前
続きを見る
他の特許を見る