TOP
|
特許
|
意匠
|
商標
特許ウォッチ
Twitter
他の特許を見る
10個以上の画像は省略されています。
公開番号
2025168586
公報種別
公開特許公報(A)
公開日
2025-11-07
出願番号
2025149204,2024121992
出願日
2025-09-09,2021-06-23
発明の名称
電界効果トランジスタ
出願人
株式会社デンソー
代理人
弁理士法人 快友国際特許事務所
主分類
H10D
30/66 20250101AFI20251030BHJP()
要約
【課題】 複数のp型ディープ層を有する電界効果トランジスタにおいて、高耐圧化を実現する技術を提案する。
【解決手段】 電界効果トランジスタ10は、トレンチ14の下側に配置されており、上側から半導体基板12を見たときにトレンチの長手方向に沿って伸びているp型トレンチ下層35と、複数のp型ディープ層36と、複数のn型ディープ層37と、を有する。各p型ディープ層が、ボディ層34から下側に突出しており、上側から半導体基板を見たときにトレンチに対して交差する第1方向に沿って伸びており、第1方向に対して直交する第2方向に間隔部を開けて配置されており、トレンチの下側に配置されているp型トレンチ下層に接している。各n型ディープ層が、対応する間隔部内に配置されており、ボディ層の下側に位置するトレンチの側面でゲート絶縁膜に接している。
【選択図】図1
特許請求の範囲
【請求項1】
電界効果トランジスタ(10)であって、
上面にトレンチ(14)が設けられた半導体基板(12)と、
前記トレンチの内面を覆うゲート絶縁膜(16)と、
前記トレンチ内に配置されており、前記ゲート絶縁膜によって前記半導体基板から絶縁されているゲート電極(18)、
を有し、
前記半導体基板が、
前記トレンチの側面で前記ゲート絶縁膜に接するn型のソース層(30)と、
前記ソース層の下側に位置する前記トレンチの前記側面で前記ゲート絶縁膜に接するp型のボディ層(34)と、
前記トレンチの下側に配置されており、上側から前記半導体基板を見たときに前記トレンチの長手方向に沿って伸びているp型トレンチ下層(35)と、
複数のp型ディープ層(36)と、
複数のn型ディープ層(37)、
を有し、
前記各p型ディープ層が、前記ボディ層から下側に突出しており、前記ボディ層から前記トレンチの底面よりも下側まで伸びており、上側から前記半導体基板を見たときに前記トレンチに対して交差する第1方向に沿って伸びており、上側から前記半導体基板を見たときに前記第1方向に対して直交する第2方向に間隔部を開けて配置されており、前記トレンチの下側に配置されている前記p型トレンチ下層に接しており、
前記各n型ディープ層が、対応する前記間隔部内に配置されており、前記ボディ層の下側に位置する前記トレンチの前記側面で前記ゲート絶縁膜に接している、
電界効果トランジスタ。
続きを表示(約 1,200 文字)
【請求項2】
前記ソース層は、上側から前記半導体基板を見たときに前記トレンチの長手方向に対して平行に伸びている、請求項1に記載の電界効果トランジスタ。
【請求項3】
前記半導体基板が、
前記ボディ層上に設けられており、前記ボディ層よりも高いp型不純物濃度を有するコンタクト層(32)、を有しており、
前記コンタクト層は、上側から前記半導体基板を見たときに前記トレンチの長手方向に対して平行に伸びている、請求項1又は2に記載の電界効果トランジスタ。
【請求項4】
前記各n型ディープ層は、
n型ディープ下層(137A)と、
前記n型ディープ下層の上側に配置されており、前記n型ディープ下層よりも高いn型不純物濃度を有するn型ディープ上層(137B)、
を有し、
前記n型ディープ上層は、前記トレンチの底面よりも上側に配置されている、請求項1~3のいずれか一項に記載の電界効果トランジスタ。
【請求項5】
前記各p型ディープ層は、
p型ディープ下層(136A)と、
前記p型ディープ下層の上側に配置されており、前記p型ディープ下層よりも高いp型不純物濃度を有するp型ディープ上層(136B)、
を有し、
前記p型ディープ上層は、前記トレンチの底面よりも上側に配置されている、請求項1~4のいずれか一項に記載の電界効果トランジスタ。
【請求項6】
対応する前記トレンチの底面から前記各p型トレンチ下層の下面までの深さは、前記半導体基板の上面から前記ボディ層の下面までの深さと一致する、請求項1~5のいずれか一項に記載の電界効果トランジスタ。
【請求項7】
前記p型トレンチ下層は、前記トレンチの底面から離れている、請求項6に記載の電界効果トランジスタ。
【請求項8】
前記p型トレンチ下層は、深さ方向に濃度が異なる複数の部分を有している、請求項6に記載の電界効果トランジスタ。
【請求項9】
前記p型トレンチ下層は、
第1p型トレンチ下層(135A)と、
前記第1p型トレンチ下層の上側に配置されている第2p型トレンチ下層(135B)、
を有し、
前記第2p型トレンチ下層は、前記第1p型トレンチ下層よりも濃度が濃い、請求項8に記載の電界効果トランジスタ。
【請求項10】
前記p型トレンチ下層は、
第1p型トレンチ下層(135A)と、
前記第1p型トレンチ下層の上側に配置されている第2p型トレンチ下層(135B)、
を有し、
前記第2p型トレンチ下層は、前記第1p型トレンチ下層よりも濃度が薄い、請求項8に記載の電界効果トランジスタ。
(【請求項11】以降は省略されています)
発明の詳細な説明
【技術分野】
【0001】
本明細書に開示の技術は、電界効果トランジスタとその製造方法に関する。
続きを表示(約 4,100 文字)
【0002】
特許文献1には、トレンチゲート型の電界効果トランジスタが開示されている。この電界効果トランジスタは、ボディ層から下側に突出する複数のp型ディープ層を有している。各p型ディープ層は、上側から半導体基板を見たときにトレンチに対して交差するように伸びている。複数のp型ディープ層は、その幅方向に間隔部を開けて配置されている。各p型ディープ層は、ボディ層からトレンチの底面よりも下側まで伸びている。特許文献1に開示の電界効果トランジスタの一例では、各p型ディープ層は、ボディ層の下側に位置するトレンチの側面及びトレンチの底面でゲート絶縁膜に接している。また、電界効果トランジスタは、ボディ層及び各p型ディープ層に接するn型のドリフト層を有している。この電界効果トランジスタがオフすると、ボディ層からドリフト層内に空乏層が広がる。ドリフト層内に広がる空乏層によって、ソース-ドレイン間の電圧が保持される。また、この電界効果トランジスタがオフすると、各ディープp層からもドリフト層内に空乏層が広がる。各ディープp層がトレンチの底面でゲート絶縁膜に接しているので、各ディープp層から広がる空乏層によってトレンチの底面の周辺のドリフト層が空乏化される。このように、各ディープp層からトレンチの底面の周辺に広がる空乏層によって、トレンチの底面の周辺のゲート絶縁膜及びドリフト層で電界集中が生じることが抑制される。したがって、この電界効果トランジスタは、高い耐圧を有する。
【先行技術文献】
【特許文献】
【0003】
特開2009-194065号公報
【発明の概要】
【発明が解決しようとする課題】
【0004】
このような複数のp型ディープ層を有する電界効果トランジスタでは、トレンチの底面の周辺のゲート絶縁膜における電界集中をさらに緩和し、高耐圧化するための技術が必要である。本明細書では、複数のp型ディープ層を有する電界効果トランジスタにおいて、高耐圧化を実現する技術を提案する。
【課題を解決するための手段】
【0005】
本明細書が開示する電界効果トランジスタ(10)は、上面にトレンチ(14)が設けられた半導体基板(12)と、前記トレンチの内面を覆うゲート絶縁膜(16)と、前記トレンチ内に配置されており、前記ゲート絶縁膜によって前記半導体基板から絶縁されているゲート電極(18)、を有することができる。前記半導体基板が、前記トレンチの側面で前記ゲート絶縁膜に接するn型のソース層(30)と、前記ソース層の下側に位置する前記トレンチの前記側面で前記ゲート絶縁膜に接するp型のボディ層(34)と、前記トレンチの下側に配置されており、上側から前記半導体基板を見たときに前記トレンチの長手方向に沿って伸びているp型トレンチ下層(35)と、複数のp型ディープ層(36)と、複数のn型ディープ層(37)を有することができる。前記各p型ディープ層が、前記ボディ層から下側に突出しており、前記ボディ層から前記トレンチの底面よりも下側まで伸びており、上側から前記半導体基板を見たときに前記トレンチに対して交差する第1方向に沿って伸びており、上側から前記半導体基板を見たときに前記第1方向に対して直交する第2方向に間隔部を開けて配置されており、前記トレンチの下側に配置されている前記p型トレンチ下層に接している。前記各n型ディープ層が、対応する前記間隔部内に配置されており、前記ボディ層の下側に位置する前記トレンチの前記側面で前記ゲート絶縁膜に接している。
【0006】
この電界効果トランジスタは、トレンチの下側に配置されているp型トレンチ下層を有している。このため、電界効果トランジスタがオフするときにトレンチの底面の周辺の電界集中が緩和される。この結果、この電界効果トランジスタは、高い耐圧を有することができる。さらに、この電界効果トランジスタでは、p型トレンチ下層が複数のp型ディープ層を介してボディ層に電気的に接続されている。このため、p型トレンチ下層の電位が安定し、この電界効果トランジスタのスイッチング特性が悪化することが抑えられている。このように、この電界効果トランジスタでは、p型トレンチ下層と複数のp型ディープ層を組合せたことにより、スイッチング特性の悪化を抑えながら、耐圧を改善することができる。
【0007】
本明細書が開示する電界効果トランジスタ(10)の製造方法は、n型のエピタキシャル層(50)に複数のp型ディープ層(36)と複数のn型ディープ層(37)を形成するディープ層形成工程であって、前記各p型ディープ層が、上側から前記エピタキシャル層を見たときに第1方向に沿って伸びており、上側から前記エピタキシャル層を見たときに前記第1方向に対して直交する第2方向に間隔部を開けて配置されており、前記各n型ディープ層が、対応する前記間隔部内に配置されている、ディープ層形成工程と、前記エピタキシャル層の表面から前記複数のp型ディープ層と前記複数のn型ディープ層を超えない深さのトレンチ(14)を形成するトレンチ形成工程であって、前記トレンチは、上側から前記エピタキシャル層を見たときに前記複数のp型ディープ層と前記複数のn型ディープ層に交差している、トレンチ形成工程と、イオン注入技術を利用して、前記エピタキシャル層の表面に向けてp型不純物を導入し、前記複数のp型ディープ層と前記複数のn型ディープ層の上側にボディ層(34)を形成するボディ層形成工程と、イオン注入技術を利用して、前記トレンチの底面の下側にp型トレンチ下層(35)を形成する、p型トレンチ下層形成工程、を有することができる。
【0008】
この電界効果トランジスタの製造方法によると、p型トレンチ下層と複数のp型ディープ層を有する電界効果トランジスタを製造することができる。
【図面の簡単な説明】
【0009】
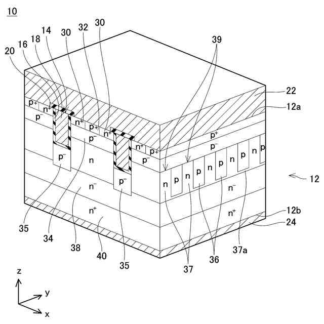
MOSFET10の断面斜視図(p型ディープ層36を含まないxz断面を示す図)。
ソース電極22と層間絶縁膜20を省略したMOSFET10の断面斜視図(p型ディープ層36を含まないxz断面を示す図)。
p型トレンチ下層35、p型ディープ層36及びn型ディープ層37を含む拡大xy断面であって、半導体基板12を上から見たときのp型トレンチ下層35、p型ディープ層36及びn型ディープ層37の配置を示すMOSFET10の拡大断面図。
トレンチ14、p型ディープ層36及びn型ディープ層37を含む拡大xy断面であって、半導体基板12を上から見たときのトレンチ14、p型ディープ層36及びn型ディープ層37の配置を示すMOSFET10の拡大断面図。
p型ディープ層36及びn型ディープ層37を含むMOSFET10の拡大yz断面図。
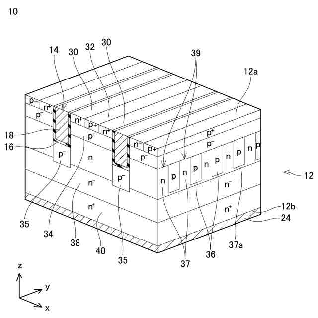
MOSFET10の断面斜視図(p型ディープ層36を含むxz断面を示す図)。
トレンチ14、p型ディープ層36及びn型ディープ層37を含む拡大xy断面であって、半導体基板12を上から見たときのトレンチ14とp型ディープ層36及びn型ディープ層37の配置を示すMOSFET10の変形例の拡大断面図。
トレンチ14、p型ディープ層36及びn型ディープ層37を含む拡大xy断面であって、半導体基板12を上から見たときのトレンチ14とp型ディープ層36及びn型ディープ層37の配置を示すMOSFET10の変形例の拡大断面図。
p型トレンチ下層35、p型ディープ層36及びn型ディープ層37を含む拡大xy断面であって、半導体基板12を上から見たときのp型トレンチ下層35、p型ディープ層36及びn型ディープ層37の配置を示すMOSFET10の変形例の拡大断面図。
ソース電極22と層間絶縁膜20を省略したMOSFET10の変形例の断面斜視図(p型ディープ層36を含まないxz断面を示す図)。
MOSFET10の変形例の断面斜視図(p型ディープ層36を含まないxz断面を示す図)。
MOSFET10の変形例の断面斜視図(p型ディープ層36を含むxz断面を示す図)。
MOSFET10の変形例の断面斜視図(p型ディープ層36を含まないxz断面を示す図)。
MOSFET10の変形例の断面斜視図(p型ディープ層36を含むxz断面を示す図)。
MOSFET10の製造方法の説明図。
MOSFET10の製造方法の説明図。
MOSFET10の製造方法の説明図。
MOSFET10の製造方法の説明図。
MOSFET10の製造方法の説明図。
MOSFET10の変形例の断面斜視図(p型ディープ層36を含まないxz断面を示す図)。
【発明を実施するための形態】
【0010】
図1、2に示す実施形態のMOSFET10(metal-oxide-semiconductor field effect transistor)は、半導体基板12を有している。以下では、半導体基板12の厚み方向をz方向といい、半導体基板12の上面12aに平行な一方向(z方向に直交する一方向)をx方向といい、x方向及びz方向に直交する方向をy方向という。半導体基板12は、炭化シリコン(すなわち、SiC)により構成されている。なお、半導体基板12がシリコン、窒化ガリウム等の他の半導体材料により構成されていてもよい。半導体基板12の上面12aには、複数のトレンチ14が設けられている。図2に示すように、複数のトレンチ14は、上面12aにおいて、y方向に沿って長く伸びている。複数のトレンチ14は、x方向に間隔を開けて配置されている。
(【0011】以降は省略されています)
この特許をJ-PlatPat(特許庁公式サイト)で参照する
関連特許
株式会社デンソー
電動機
10日前
株式会社デンソー
ロータ
5日前
株式会社デンソー
ロータ
5日前
株式会社デンソー
分離体
18日前
株式会社デンソー
端子台
12日前
株式会社デンソー
トランス
10日前
株式会社デンソー
光学部材
18日前
株式会社デンソー
光学部材
18日前
株式会社デンソー
整流回路
3日前
株式会社デンソー
光学部材
10日前
株式会社デンソー
電子装置
10日前
株式会社デンソー
回転電機
3日前
株式会社デンソー
レーダ装置
4日前
株式会社デンソーエレクトロニクス
電磁継電器
4日前
株式会社デンソー
電磁継電器
10日前
株式会社デンソー
半導体装置
18日前
株式会社デンソー
音低減装置
3日前
株式会社デンソー
表面加工方法
11日前
株式会社デンソー
電力変換装置
10日前
株式会社デンソー
電子制御装置
10日前
株式会社デンソー
形状検査方法
12日前
株式会社デンソー
電気化学セル
11日前
株式会社デンソー
電子制御装置
3日前
株式会社デンソー
給電システム
18日前
株式会社デンソー
燃料噴射装置
11日前
株式会社デンソー
電磁弁駆動装置
10日前
株式会社デンソー
エレクトレット
18日前
株式会社デンソー
車両用空調装置
18日前
株式会社デンソー
液体分離システム
18日前
株式会社デンソー
冷凍サイクル装置
3日前
株式会社デンソーウェーブ
投入品管理用装置
3日前
株式会社デンソー
電気化学反応装置
12日前
株式会社デンソー
セル制御システム
3日前
株式会社デンソー
運転評価支援装置
10日前
株式会社デンソー
ダクトおよび電池装置
12日前
株式会社デンソー
差動リングオシレータ
18日前
続きを見る
他の特許を見る