TOP
|
特許
|
意匠
|
商標
特許ウォッチ
Twitter
他の特許を見る
10個以上の画像は省略されています。
公開番号
2025168581
公報種別
公開特許公報(A)
公開日
2025-11-07
出願番号
2025149067,2024102081
出願日
2025-09-09,2019-09-03
発明の名称
レンズ鏡筒
出願人
パナソニックIPマネジメント株式会社
代理人
弁理士法人新樹グローバル・アイピー
主分類
G02B
7/04 20210101AFI20251030BHJP(光学)
要約
【課題】同一サイズのレンズ鏡筒においてより大きなサイズのアクチュエータを搭載し、より質量の大きなレンズを駆動可能なレンズ鏡筒を提供する。
【解決手段】レンズ鏡筒は、レンズを光軸方向に沿って前後に駆動するアクチュエータと、レンズを保持するとともにアクチュエータによってレンズと光軸方向に沿って前後に駆動されるレンズ枠と、を備える。アクチュエータは、レンズ枠の外周面よりも外周側に配置されており、同じ極を向かい合わせに略平行に間隔を空けて配置された2個の永久磁石と、センターヨーク部とバックヨーク部と継鉄部とを有するヨークと、センターヨーク部を囲うように巻回されたコイルと、を有する。ヨークに含まれるI字型ヨークは、I型の鉄板と、I型の鉄板のセンターヨーク部の部分の形状を削除した鉄板と、を複数枚積み重ねることにより、センターヨーク部の積層方向の厚みが、その他の部分の積層方向の厚みより薄い。
【選択図】図14A
特許請求の範囲
【請求項1】
レンズを光軸方向に沿って前後に駆動するアクチュエータと、
前記レンズを保持するとともに、前記アクチュエータによって前記レンズとともに前記光軸方向に沿って前後に駆動されるレンズ枠と、
を備え、
前記アクチュエータは、
前記レンズ枠の外周面よりも外周側に配置されており、
同じ極を向かい合わせに略平行に間隔を空けて配置された2個の永久磁石と、
前記2個の永久磁石を向かい合わせに配置した間に設けられたセンターヨーク部と、前記永久磁石の向かい合わせにした極と反対側の面に接する位置に設けられたバックヨーク部と、前記センターヨーク部と前記バックヨーク部とを磁気的に接合する継鉄部と、を有するヨークと、
前記センターヨーク部を囲うように巻回されたコイルと、
を有しており、
前記ヨークは、薄板の鉄板を複数枚積み重ねて構成されており、バックヨーク部、継鉄部に相当する部分を、四角型ヨークとして一体化して構成され、センターヨーク部に相当する部分を、I字型ヨークとして前記四角型ヨークと組合せて構成されており、
前記I字型ヨークは、I型の鉄板と、前記I型の鉄板のセンターヨーク部の部分の形状を削除した鉄板と、を複数枚積み重ねることにより、前記センターヨーク部の積層方向の厚みが、その他の部分の積層方向の厚みより薄くなる様に構成される、
レンズ鏡筒。
続きを表示(約 86 文字)
【請求項2】
前記I字型ヨークは、薄板の鉄板を前記レンズの光軸を中心とする半径方向に複数枚積み重ねて構成されている、
請求項1に記載のレンズ鏡筒。
発明の詳細な説明
【技術分野】
【0001】
本開示は、レンズを光軸方向に沿って前後に駆動するアクチュエータを備えたレンズ鏡筒に関する。
続きを表示(約 3,200 文字)
【背景技術】
【0002】
従来、レンズ鏡筒のレンズ枠体を光軸方向に移動させるために、高速応答が可能なリニアモータが使用されている。(例えば、特許文献1)。
近年、撮像装置に用いられる撮像素子は、高画素化、ダイナミックレンジの向上等を目的としてサイズの大型化が進んでいる。
撮像素子が大型化すると、必然的に、レンズ鏡筒に使用されるレンズも大型化し、レンズの質量も大きくなる。よって、大型化したレンズを駆動するアクチュエータには、従来よりも推力が高いものが要求される。
【0003】
例えば、特許文献1には、1つのコイルに対して複数の界磁部を設けることで、推力向上を図った構成について開示されている。
【先行技術文献】
【特許文献】
【0004】
特開平8-248290号公報
【発明の概要】
【発明が解決しようとする課題】
【0005】
しかしながら、上記特許文献1に開示された技術では、推力向上には限界がある。
本開示は、同一サイズのレンズ鏡筒においてより大きなサイズのアクチュエータを搭載して、より質量の大きなレンズを駆動することが可能なレンズ鏡筒を提供する。
【課題を解決するための手段】
【0006】
本開示に係るレンズ鏡筒は、レンズを光軸方向に沿って前後に駆動するアクチュエータと、レンズを保持するとともにアクチュエータによってレンズとともに光軸方向に沿って前後に駆動されるレンズ枠と、を備えている。アクチュエータは、レンズ枠の外周面よりも外周側に配置されており、同じ極を向かい合わせに略平行に間隔を空けて配置された2個の永久磁石と、2個の永久磁石を向かい合わせに配置した間に設けられたセンターヨーク部と、永久磁石の向かい合わせにした極と反対側の面に接する位置に設けられたバックヨーク部と、センターヨーク部とバックヨーク部とを磁気的に接合する継鉄部と、を有するヨークと、センターヨーク部を囲うように巻回されたコイルと、を有している。ヨークは、薄板の鉄板を複数枚積み重ねて構成されており、バックヨーク部、継鉄部に相当する部分を、四角型ヨークとして一体化して構成され、センターヨーク部に相当する部分を、I字型ヨークとして四角型ヨークと組合せて構成されている。I字型ヨークは、I型の鉄板と、I型の鉄板のセンターヨーク部の部分の形状を削除した鉄板と、を複数枚積み重ねることにより、センターヨーク部の積層方向の厚みが、その他の部分の積層方向の厚みより薄くなる様に構成される。
【図面の簡単な説明】
【0007】
図1は、実施の形態1に係るカメラを示す斜視図である。
図2は、実施の形態1に係るレンズ鏡筒を示す斜視図である。
図3は、実施の形態1に係るレンズ鏡筒の分解斜視図である。
図4は、実施の形態1に係る3-4群ユニットの斜視図である。
図5は、実施の形態1に係る3-4群ユニットの分解斜視図である。
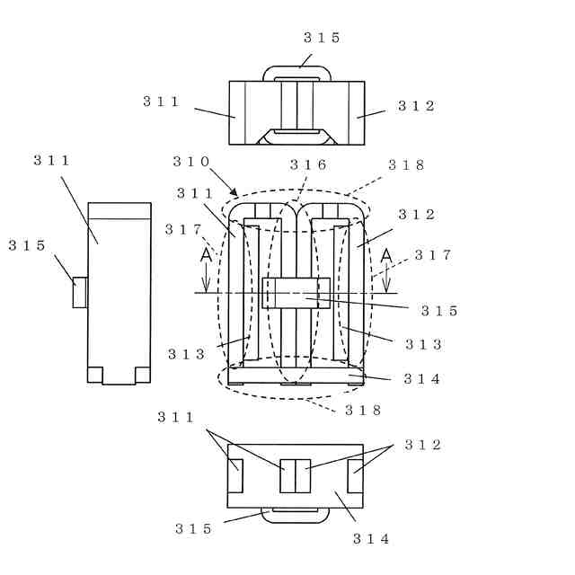
図6Aは、実施の形態1に係るリニアアクチュエータを示す斜視図である。
図6Bは、実施の形態1に係るリニアアクチュエータを示す4面図である。
図7は、実施の形態1に係るリニアアクチュエータを示す断面図である。
図8は、実施の形態1に係るレンズ鏡筒内におけるリニアアクチュエータ配置を示した模式図である。
図9は、コイルをオフセットしない比較例1のレンズ鏡筒内におけるリニアアクチュエータ配置を示した模式図である。
図10は、リニアアクチュエータのサイズを縮小した比較例2のレンズ鏡筒内でのリニアアクチュエータ配置を示した模式図である。
図11は、コイルオフセット量とリニアアクチュエータの性能の関係を示す図である。
図12は、コイルオフセット量とリニアアクチュエータの性能の関係を示すグラフである。
図13Aは、実施の形態1に係る別のヨーク構成を示す斜視図である。
図13Bは、実施の形態1に係る別のヨーク構成を示す4面図である。
図14Aは、実施の形態1に係る別のヨーク構成を示す斜視図である。
図14Bは、実施の形態1に係る別のヨーク構成を示す4面図である。
比較例のアクチュエータの斜視図である。
比較例のアクチュエータの構成を示す上面図である。
比較例のアクチュエータの構成を示す正面図である。
比較例のアクチュエータの構成を示す底面図である。
図16BのD-D線矢視断面図である。
比較例のアクチュエータの構成を示す側面図である。
実施の形態2のアクチュエータの斜視図である。
実施の形態2のアクチュエータの構成を示す上面図である。
実施の形態2のアクチュエータの構成を示す正面図である。
実施の形態2のアクチュエータの構成を示す底面図である。
図18BのD-D線矢視断面図である。
実施の形態2のアクチュエータの構成を示す側面図である。
実施の形態2のE型ヨークの形状を示す正面図である。
実施の形態2のE型ヨークの形状を示す側面図である。
図19BのE型ヨークのA-A線矢視断面図である。
図19BのE型ヨークのB-B線矢視断面図である。
図19BのE型ヨークのC-C線矢視断面図である。
【発明を実施するための形態】
【0008】
以下、適宜図面を参照しながら、実施の形態を詳細に説明する。但し、必要以上に詳細な説明は省略する場合がある。例えば、既によく知られた事項の詳細説明や実質的に同一の構成に対する重複説明を省略する場合がある。これは、以下の説明が不必要に冗長になるのを避け、当業者の理解を容易にするためである。また、以下の実施の形態の説明において、平行、垂直、直交などの、相対的な方向または姿勢を示す表現が用いられるが、これらの表現は、厳密には、その方向または姿勢ではない場合も含む。例えば、平行とは、完全に平行であることを意味するだけでなく、実質的に平行である、すなわち、例えば数%程度の差異を含むことも意味する。
【0009】
なお、発明者は、当業者が本開示を十分に理解するために添付図面および以下の説明を提供するのであって、これらによって特許請求の範囲に記載の主題を限定することを意図するものではない。
(実施形態1)
(1)レンズ鏡筒の構成概要
以下、図面を参照しつつ、実施の形態に係るレンズ鏡筒100の構成を説明する。図1は、実施の形態に係るカメラ1を示す斜視図である。図2は、実施の形態に係るレンズ鏡筒100の構成概要を示す斜視図である。図3は、実施の形態に係るレンズ鏡筒100の分解斜視図である。
【0010】
図1および図2に示すように、レンズ鏡筒100は、カメラ1の本体に対して着脱自在に取り付けられた沈胴式のレンズ鏡筒である。図2に示すように、レンズ鏡筒100は、1群ユニット101、2群ユニット102、3-4群ユニット103、5群ユニット104、固定枠105、カム枠106および外装ユニット107を備えている。
レンズ鏡筒100は、各部品を次の順に組み立てることで完成される。まず、カム枠106に対して、固定枠105、5群ユニット104、3-4群ユニット103、2群ユニット102が順に組み付けられる。その後、各部品が組み付けられたカム枠106は、1群ユニット101に組み付けられる。この手順で各部品を組み付けることで、レンズ鏡筒100は完成する。
(【0011】以降は省略されています)
この特許をJ-PlatPat(特許庁公式サイト)で参照する
関連特許
個人
立体像表示装置
28日前
カンタツ株式会社
光学系
20日前
住友化学株式会社
偏光板
25日前
株式会社シグマ
結像光学系
14日前
株式会社シグマ
結像光学系
4日前
住友化学株式会社
垂直偏光板
25日前
東レ株式会社
貼合体の製造方法
28日前
東レ株式会社
赤外線遮蔽構成体
28日前
日本精機株式会社
ミラーユニット
13日前
古河電気工業株式会社
融着機
20日前
日本電気株式会社
光モジュール
14日前
日本電気株式会社
光集積回路素子
1か月前
日東電工株式会社
導光部材
4日前
個人
多方向視差効果のための微細穴加工
15日前
三菱電機株式会社
レンズモジュール
25日前
個人
眼鏡装着位置変更具および眼鏡
26日前
京セラ株式会社
光学系
12日前
日東電工株式会社
光学積層体
6日前
日東電工株式会社
調光フィルム
1か月前
AGC株式会社
インフィニティミラー
21日前
日本精機株式会社
ヘッドアップディスプレイ
7日前
住友化学株式会社
偏光板
28日前
日本精機株式会社
ヘッドアップディスプレイ
4日前
住友化学株式会社
積層体
1か月前
住友化学株式会社
偏光板
28日前
新光電気工業株式会社
光導波路部品
25日前
新光電気工業株式会社
光導波路部品
25日前
日本精機株式会社
ヘッドアップディスプレイ装置
4日前
住友化学株式会社
偏光積層体
28日前
住友化学株式会社
光学積層体
28日前
日本精機株式会社
ヘッドアップディスプレイ装置
5日前
住友ベークライト株式会社
積層体の製造方法
1か月前
株式会社リコー
光走査装置及び画像形成装置
4日前
株式会社タムロン
ズームレンズ及び撮像装置
12日前
キヤノン株式会社
レンズ装置および撮像装置
1か月前
レーザーテック株式会社
光学装置及び調整方法
4日前
続きを見る
他の特許を見る