TOP
|
特許
|
意匠
|
商標
特許ウォッチ
Twitter
他の特許を見る
10個以上の画像は省略されています。
公開番号
2025168443
公報種別
公開特許公報(A)
公開日
2025-11-07
出願番号
2025142973,2024068240
出願日
2025-08-29,2011-06-20
発明の名称
表示装置
出願人
株式会社半導体エネルギー研究所
代理人
主分類
G02F
1/1676 20190101AFI20251030BHJP(光学)
要約
【課題】帯電物質に電界を印加して表示を行う装置において、残像を低減するための構造
及びその作製方法を提供することを課題の一とする。
【解決手段】複数の画素電極と、画素電極上に設けられた帯電層(帯電物質を含む層)と
を有し、複数の画素電極のうち隣接する2つの画素電極の端部は、一方が端面方向に凹部
を有し、他方が端面方向に凸部を有し、当該凹部と凸部とが対になることで、2つの画素
電極間に隙間が形成される表示装置である。
【選択図】図1
特許請求の範囲
【請求項1】
複数の画素電極と、前記画素電極上に設けられた帯電層とを有し、
前記複数の画素電極のうち一の画素電極の右辺の端部と、前記一の画素電極の右辺において隣接する画素電極の左辺の端部とが屈曲し、且つ、隙間を形成しており、
前記一の画素電極の上辺の端部と、前記一の画素電極の上辺において隣接する画素電極の下辺の端部とが屈曲し、且つ、隙間を形成しており、
前記一の画素電極の右辺における隙間と、前記一の画素電極の上辺における隙間とは、二カ所以上の間隔が等しい部分を有することを特徴とする表示装置。
発明の詳細な説明
【技術分野】
【0001】
技術分野は、表示装置及びその駆動方法に関する。また、表示装置の作製方法に関する
。
続きを表示(約 1,600 文字)
【背景技術】
【0002】
近年、デジタル化技術の進歩に伴い、新聞、雑誌などの文字情報や画像情報を電子デー
タとして提供できるようになっている。この種の電子データは、一般に、テレビ、パーソ
ナルコンピュータ、または携帯型電子端末などが備える表示装置に表示されることで、そ
の内容が閲覧される。
【0003】
そして、紙面と同等の高い視認性を有する表示装置として、電気泳動素子などの電子イ
ンクを用いたものが開発されている。電子インクを用いた表示装置としては、例えば、画
素電極と対向電極との間にマイクロカプセルを有するものが挙げられる。2つの電極間に
電圧を印加し、マイクロカプセル中に存在する着色された粒子を電界方向に移動させるこ
とで、表示を行うものである(特許文献1参照)。
【先行技術文献】
【特許文献】
【0004】
特開2008-276153
【発明の概要】
【発明が解決しようとする課題】
【0005】
上記特許文献1では、表示画像を切り替える際に、残像が生じるという問題があった。
【0006】
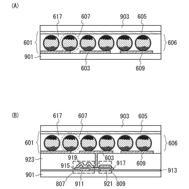
その原因の一つとして、図13(A)に示すように、画素電極5001の端部5003
が直線形状であることが挙げられる。端部5003が直線形状であると、表示を行った際
に、図13(B)に示すように、画素電極間の隙間5005において電界が正しく印加さ
れない可能性があるため、残像が生じてしまう。なお、残像を消すために初期化処理を行
う場合、表示速度が遅くなってしまう。
【0007】
上記問題に鑑み、残像の低減をはじめとする表示装置の諸性能を向上することを課題の
一とする。
【課題を解決するための手段】
【0008】
本明細書で開示する表示装置は、帯電物質に電界を印加することで表示を行う装置であ
る。複数の画素電極を有し、隣接する2つの画素電極の端部の一部又は全部を直線形状と
しないことで、画素電極間の隙間において、帯電物質に正しく電界を印加するものである
。
【0009】
本発明の一態様は、複数の画素電極と、画素電極上に設けられた帯電層(帯電物質を有
する層とも呼ぶ)とを有し、複数の画素電極のうち隣接する2つの画素電極の端部は、端
面方向に屈曲している部分(屈曲部ともいう)を有する表示装置である。本明細書におい
て、端面方向とは、画素電極の上面に対して平行な方向を指す。また、屈曲している部分
は、頂点を有する形状(折れている形状ともいう)でもよく、頂点を有さない形状(曲が
っている形状ともいう)でもよい。そして、2つの画素電極における屈曲している部分が
、互いに噛み合っていることが好ましい。
【0010】
本発明の他の一態様は、複数の画素電極と、画素電極上に設けられた帯電層とを有し、
複数の画素電極のうち隣接する2つの画素電極の間において、一方の画素電極の端部は端
面方向に凹部(又は凹凸部)を有し、他方の画素電極の端部は端面方向に凸部(又は凹凸
部)を有し、一方の画素電極の凹部(又は凹凸部)と、他方の画素電極の凸部(又は凹凸
部)とが対になることで、2つの画素電極の間に隙間が形成されている表示装置である。
本明細書において、凹部と凸部が対(又は凹凸部が対)になるとは、凹部に対し、凸部が
入り込んでいる状態を指す。また、この状態を、凹部と凸部が互いに噛み合っていると表
現してもよい。
(【0011】以降は省略されています)
この特許をJ-PlatPat(特許庁公式サイト)で参照する
関連特許
個人
立体像表示装置
1か月前
住友化学株式会社
偏光板
28日前
カンタツ株式会社
光学系
23日前
株式会社シグマ
結像光学系
7日前
株式会社シグマ
結像光学系
17日前
住友化学株式会社
垂直偏光板
28日前
東レ株式会社
貼合体の製造方法
1か月前
東レ株式会社
赤外線遮蔽構成体
1か月前
日本精機株式会社
ミラーユニット
16日前
古河電気工業株式会社
融着機
23日前
日本電気株式会社
光モジュール
17日前
日東電工株式会社
導光部材
7日前
日本電気株式会社
光集積回路素子
1か月前
株式会社コシナ
投射ズームレンズ
今日
個人
多方向視差効果のための微細穴加工
18日前
日東電工株式会社
光学積層体
9日前
個人
眼鏡装着位置変更具および眼鏡
29日前
京セラ株式会社
光学系
15日前
三菱電機株式会社
レンズモジュール
28日前
日東電工株式会社
調光フィルム
1か月前
AGC株式会社
インフィニティミラー
24日前
日本精機株式会社
ヘッドアップディスプレイ
7日前
住友化学株式会社
積層体
1か月前
日本精機株式会社
ヘッドアップディスプレイ
10日前
住友化学株式会社
偏光板
1か月前
住友化学株式会社
偏光板
1か月前
日本精機株式会社
ヘッドアップディスプレイ装置
7日前
日本精機株式会社
ヘッドアップディスプレイ装置
8日前
日本精機株式会社
ヘッドアップディスプレイ装置
1か月前
住友化学株式会社
偏光積層体
1か月前
新光電気工業株式会社
光導波路部品
28日前
新光電気工業株式会社
光導波路部品
28日前
住友化学株式会社
光学積層体
1か月前
マクセル株式会社
映像表示装置
今日
キヤノン株式会社
レンズ装置および撮像装置
1か月前
住友ベークライト株式会社
積層体の製造方法
1か月前
続きを見る
他の特許を見る