TOP
|
特許
|
意匠
|
商標
特許ウォッチ
Twitter
他の特許を見る
公開番号
2025168307
公報種別
公開特許公報(A)
公開日
2025-11-07
出願番号
2025071912
出願日
2025-04-23
発明の名称
衛生設備のためのエネルギー伝送システム
出願人
ゲベリット インターナショナル アーゲー
,
Geberit International AG
代理人
SK弁理士法人
,
個人
,
個人
主分類
H02J
50/12 20160101AFI20251030BHJP(電力の発電,変換,配電)
要約
【課題】トイレのためのエネルギー伝送システム並びに対応する衛生設備及び衛生設備のためのエネルギー伝送方法を提供する。
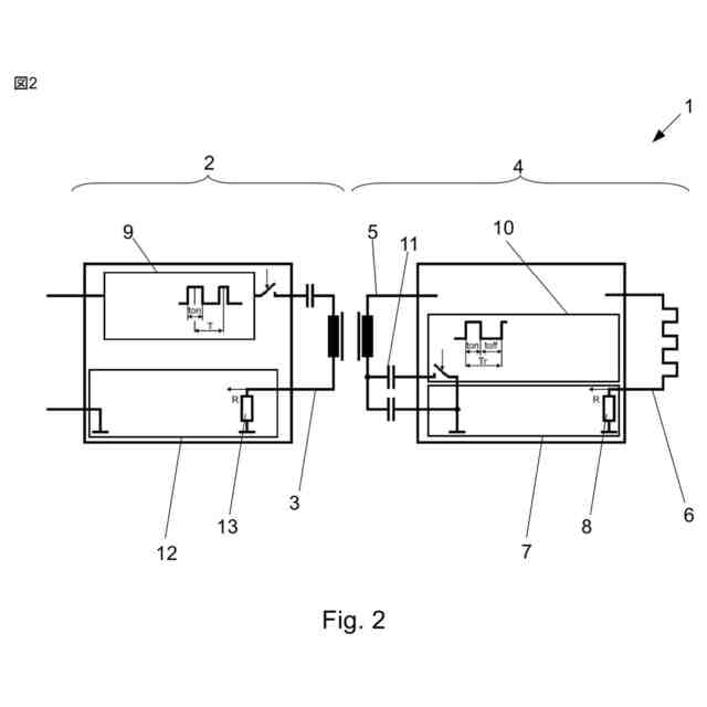
【解決手段】衛生設備、特にトイレのためのエネルギー伝送システム(1)であって、一次共振回路(3)を有する第1装置(2)と、一次共振回路(3)に結合され、負荷(6)の動作のために意図されたエネルギーを無線で受信する二次共振回路(5)を有する第2装置(4)と、を備え、第1装置(2)は、所定の期間にわたって二次共振回路(5)に伝送されるエネルギーを変化させ、第2装置(4)は、伝送されたエネルギーが変化させられた期間に基づいて、意図された目標パラメータの値を決定する。
【選択図】図2
特許請求の範囲
【請求項1】
衛生設備、特にトイレのためのエネルギー伝送システム(1)であって、
一次共振回路(3)を有する第1装置(2)と、
前記一次共振回路(3)に結合され、負荷(6)の動作ために意図されたエネルギーを無線で受信するように構成される二次共振回路(5)を有する第2装置(4)と、を備え、
前記第1装置(2)は、前記二次共振回路(5)へ伝送されるエネルギーを所定の期間にわたって変化させるように構成され、
前記第2装置(4)は、前記伝送されたエネルギーが変化させられた前記期間に基づいて、意図された目標パラメータの値を決定するように構成される、エネルギー伝送システム(1)。
続きを表示(約 1,100 文字)
【請求項2】
前記所定の期間における前記伝送されるエネルギーの変化は、前記伝送されるエネルギーを減少させることを含む、請求項1に記載のエネルギー伝送システム(1)。
【請求項3】
前記第2装置(4)はシャント(8)を有する測定装置(7)を備え、前記測定装置(7)によって前記所定の期間中に前記負荷(6)へ供給される前記エネルギーの変化が測定可能である、請求項1または請求項2に記載のエネルギー伝送システム(1)。
【請求項4】
前記第1装置(2)が、パルス持続時間変調(PDM)によって前記第1装置(2)に供給される入力電圧をクロックするように構成される制御装置(9)を備える、請求項1~請求項3のいずれか一つに記載のエネルギー伝送システム(1)。
【請求項5】
前記制御装置(9)が、前記PDMのデューティサイクルを変化させることによって、前記二次共振回路(5)へ伝送されるエネルギーを調整するように構成される、請求項4に記載のエネルギー伝送システム(1)。
【請求項6】
前記第1装置(2)が前記所定の期間を制御可能なタイマーを備える、請求項1~請求項5のいずれか一つに記載のエネルギー伝送システム(1)。
【請求項7】
前記タイマーが、前記意図された目標パラメータの異なる値に関連付けられた複数の所定の期間を制御するように構成される、請求項6に記載のエネルギー伝送システム(1)。
【請求項8】
前記複数の所定の期間として、100~300msの範囲の値、特に100ms、150ms、200ms、250ms、及び300msが提供される、請求項7に記載のエネルギー伝送システム(1)。
【請求項9】
前記第2装置(4)が、前記伝送されるエネルギーを減少させるように構成される、請求項1~請求項8のいずれか一つに記載のエネルギー伝送システム(1)。
【請求項10】
衛生設備、特にトイレのためのエネルギー伝送システム(1)であって、
一次共振回路(3)を有する第1装置(2)と、
前記一次共振回路(3)に結合され、負荷(6)の動作のために意図されたエネルギーを無線で受信するように構成される二次共振回路(5)を有する第2装置(4)と、を備え、
前記第2装置(4)は、前記一次共振回路(3)における有効電流を減少させるために、前記二次共振回路(5)において少なくとも1つの共振決定キャパシタ(11)を接続または切断するように構成される共振制御装置(10)を備える、エネルギー伝送システム(1)。
(【請求項11】以降は省略されています)
発明の詳細な説明
【技術分野】
【0001】
本発明は、衛生設備、特にトイレのためのエネルギー伝送システム、および対応する衛生設備に関する。さらに本発明の主題は、衛生設備のためのエネルギー伝送方法である。
続きを表示(約 1,400 文字)
【背景技術】
【0002】
トイレ、ウォシュレット、衛生洗浄装置などの衛生設備は従来技術として知られており、これらは拡張された機能を提供する。例えば、使用者が接触する構成要素を加熱することが可能である。例えば、便座におけるいわゆる便座リングヒーター(便座ヒーティングとしても知られる)は、ユーザーが向上した快適性を享受することを可能にする。さらに、体重および他の生理学的データなどのユーザー情報は、便座内に配置された対応するセンサーを介して収集され、通信リンクによって送信され得る。
【0003】
このような従来技術の応用の欠点は、現在では時々無線エネルギー伝送(WET)を有するものの、特に、例えばユーザーによる温度設定に関する便座からの制御コマンドを、入力電圧を提供する構成要素に送信できるようにするために、この無線エネルギー伝送に加えて専用の通信リンクが依然として必要とされることである。
【0004】
上記の通信要件は、製品全体の複雑さが増大し、製造業者が、例えばBluetooth Low Energy(BLE)などの業界標準の使用に対してライセンス料および認証料を負担する可能性があることを意味する。
【発明の概要】
【発明が解決しようとする課題】
【0005】
この背景に対して、本発明の目的は、前記の欠点を回避し、衛生設備のための改善されたエネルギー伝送システムを提供するソリューションを提供することである。
【図面の簡単な説明】
【0006】
【発明を実施するための形態】
【0007】
本発明によれば、この目的は、衛生設備、特にトイレのためのエネルギー伝送システムであって、一次共振回路を有する第1装置と、一次共振回路に結合され、負荷の動作のために意図されたエネルギーを無線で受信するように構成される二次共振回路を有する第2装置とを備えるエネルギー伝送システムによって達成される。この目的のために、第1装置は、所定の期間にわたって二次共振回路に伝送されるエネルギーを変化させるように構成され、第2装置は、伝送されたエネルギーが変化させられた期間に基づいて、意図された目標パラメータの値を決定するように構成される。例えば、目標パラメータは、電気負荷として機能する便座リングヒーティングによって到達されるべき温度であり得る。
【0008】
この場合、第1装置は送信機とも呼ぶことができ、第2装置は受信機とも呼ぶことができる。
【0009】
このようにして、本発明に係るソリューションは、エネルギーを無線で伝送するために意図された回路が、少なくとも単方向通信(送信機から受信機へ)のために同時に使用されることを可能にする。これは、追加の通信回路を回避でき、全体の複雑さと関連する製造コストを削減できることを意味する。
【0010】
好ましくは、所定の期間にわたり伝送されるエネルギーの変化は、伝送されるエネルギーを減少させることを含む。このようにして、受信機として機能する第2装置は、例えば、シャント(シャント抵抗または測定シャントとしても知られる)の電圧降下によって、または負荷の電圧降下によって、負荷に供給されるエネルギーの変化を測定または取得することができる。
(【0011】以降は省略されています)
この特許をJ-PlatPat(特許庁公式サイト)で参照する
関連特許
個人
単極モータ
27日前
個人
電気を重力で発電装置
4日前
キヤノン電子株式会社
モータ
11日前
キヤノン電子株式会社
モータ
3日前
株式会社アイシン
ロータ
1か月前
株式会社アイシン
ロータ
27日前
コーセル株式会社
電源装置
12日前
日星電気株式会社
ケーブル組立体
19日前
トヨタ自動車株式会社
固定子
1か月前
トヨタ自動車株式会社
モータ
3日前
株式会社デンソー
回転機
25日前
株式会社アイシン
ステータ
1か月前
株式会社ダイヘン
充電装置
1か月前
株式会社ダイヘン
充電装置
1か月前
株式会社アイシン
ステータ
1か月前
株式会社ダイヘン
充電装置
1か月前
株式会社アイシン
ステータ
1か月前
株式会社ダイヘン
充電装置
1か月前
株式会社アイシン
ステータ
1か月前
株式会社kaisei
発電システム
27日前
個人
二次電池繰返パルス放電器用印刷基板
17日前
株式会社デンソー
電力変換装置
26日前
株式会社ミツバ
回転電機
24日前
株式会社ミツバ
回転電機
1か月前
株式会社デンソー
電力変換装置
18日前
株式会社ダイヘン
インバータ装置
26日前
トヨタ自動車株式会社
固定子の加熱装置
14日前
株式会社デンソー
非接触受電装置
20日前
トヨタ自動車株式会社
ステータの製造装置
4日前
矢崎総業株式会社
ワイヤーハーネス
27日前
山洋電気株式会社
モータ
17日前
株式会社TMEIC
電力変換装置
24日前
トヨタ自動車株式会社
可変界磁ロータ
6日前
株式会社明治ゴム化成
ワイヤレス給電用部品
13日前
株式会社デンソー
ステータ及びモータ
27日前
トヨタ紡織株式会社
ロータの製造装置
12日前
続きを見る
他の特許を見る