TOP
|
特許
|
意匠
|
商標
特許ウォッチ
Twitter
他の特許を見る
10個以上の画像は省略されています。
公開番号
2025168287
公報種別
公開特許公報(A)
公開日
2025-11-07
出願番号
2025068844
出願日
2025-04-18
発明の名称
半導体受光素子及び半導体受光素子の製造方法
出願人
DOWAエレクトロニクス株式会社
代理人
個人
,
個人
主分類
H10F
30/223 20250101AFI20251030BHJP()
要約
【課題】支持基板接合型の半導体受光素子に対して、接合層によって支持基板側からの入射光を遮ることで、ノイズ比率の低い半導体受光素子を提供する。
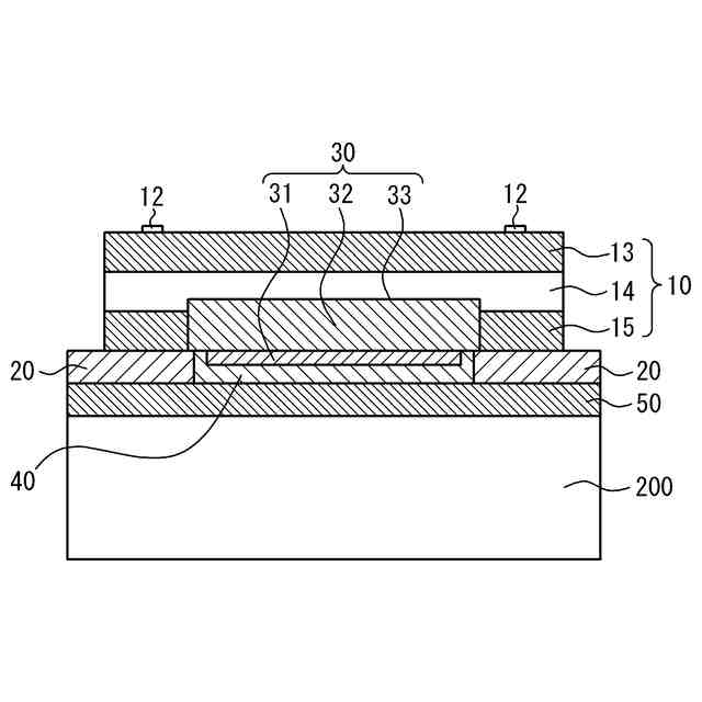
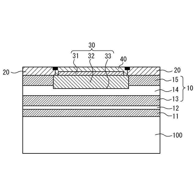
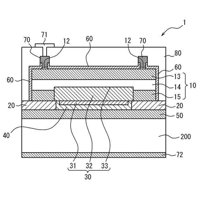
【解決手段】半導体受光素子1は、支持基板200と、支持基板200上の接合層50と、接合層50上に位置する受光部33を有する半導体積層体10と、半導体積層体10上に位置し、受光ピーク波長を含む波長範囲を透過させる光学フィルタ80と、を備え、接合層50と半導体積層体10との間の少なくとも一部に第1導電型電極40及び第1導電型電極40上に位置する第1導電型コンタクト層31を有し、半導体積層体10は接合層50側から光が入射しないことを特徴とする。
【選択図】図10
特許請求の範囲
【請求項1】
支持基板と、
前記支持基板上の接合層と、
前記接合層上に位置する受光部を有する半導体積層体と、
前記半導体積層体上に位置し、受光ピーク波長を含む波長範囲を透過させる光学フィルタと、
を備え、
前記接合層と前記半導体積層体との間の少なくとも一部に第1導電型電極及び前記第1導電型電極上に位置する第1導電型コンタクト層を有し、
前記半導体積層体は前記接合層側から光が入射しないことを特徴とする、
半導体受光素子。
続きを表示(約 910 文字)
【請求項2】
前記半導体積層体と前記光学フィルタとの間に第2導電型コンタクト層及び第2導電型電極を有し、前記第2導電型電極上にパッド電極を有する、
請求項1に記載の半導体受光素子。
【請求項3】
前記接合層と前記半導体積層体との間において、
前記第1導電型電極は前記第1導電型コンタクト層の下面及び側面を覆い、
前記第1導電型電極又は前記第1導電型コンタクト層を含む第1領域と異なる第2領域に誘電体層を有する、
請求項1に記載の半導体受光素子。
【請求項4】
前記半導体積層体は光吸収層を有し、
前記光吸収層の面内方向の一部領域に前記受光部を有し、
俯瞰したときに、前記パッド電極の領域を除き、前記第2導電型電極は前記受光部よりも外側を囲む形状を有する、
請求項2に記載の半導体受光素子。
【請求項5】
前記受光ピーク波長が800nm以上2500nm以下であり、前記光吸収層がInGaAs層である、
請求項4に記載の半導体受光素子。
【請求項6】
前記半導体積層体の側面にさらに前記光学フィルタを有する、
請求項1に記載の半導体受光素子。
【請求項7】
前記半導体積層体の厚さが20μm以下であり、前記支持基板を含む全体の厚さが100μm以上である、
請求項1に記載の半導体受光素子。
【請求項8】
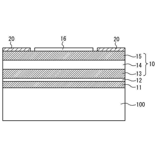
成長用基板上に受光部を有する半導体積層体を形成する成長工程と、
前記半導体積層体上の少なくとも一部に第1導電型コンタクト層及び第1導電型電極を形成するコンタクト領域形成工程と、
前記半導体積層体上に接合層を形成する接合層形成工程と、
前記接合層を介して支持基板を接合させる接合工程と、
前記成長用基板を除去する基板除去工程と、
前記基板除去工程により露出した前記半導体積層体上に、受光ピーク波長を含む波長範囲を透過させる光学フィルタを形成する工程と、を含む、
半導体受光素子の製造方法。
発明の詳細な説明
【技術分野】
【0001】
本発明は、半導体受光素子及び半導体受光素子の製造方法に関する。
続きを表示(約 1,700 文字)
【背景技術】
【0002】
受光素子において、センサの誤動作を抑制するために所望の波長の光のみを選択的に受光することは、近年さらに重要となっている。所望の波長の光以外の光を遮る方法として、光学フィルタを用いる方法が知られている。
【0003】
例えば、特許文献1では、誘電体多層膜からなる光フィルタを基板の裏面に有し、長波長側の光と短波長側の光とを含む多重光から長波長側の光を選択的に入射させることのできる半導体受光素子について開示されている。
【0004】
特許文献2では、受光層よりも吸収端波長の短い第1の吸収層を半導体基板よりも遠い側に設け、さらに、受光層より吸収端波長の短い第2の吸収層を半導体基板よりも近い側に設けている。これにより、半導体基板の側面から入射した光を含む所望の波長の光を選択的に入射させることについて開示されている。
【先行技術文献】
【特許文献】
【0005】
特開2002-33503号公報
特許第3046970号公報
【発明の概要】
【発明が解決しようとする課題】
【0006】
しかしながら、従来の方法では幅広い波長帯の中から所望の波長を有する光のみを選択的に受光するには不十分であった。例えば、特許文献1の半導体受光素子では、基板の側面から入射する光は光フィルタを介さないため、半導体受光素子に入射した光は全て光吸収層に入射する。すなわち、光学フィルタを備えない基板の側面から、所望の波長以外の光も受光し、それらがノイズとなるという問題があった。また、厚みの大きい基板の側面を光学フィルタで覆うことは実現困難であり、生産性に乏しい。高い受光感度を得るために所望の波長と半導体受光素子の受光ピーク波長とが合うように設計するのが通常である。そのため、以下、光学フィルタが透過する所望の波長範囲を、半導体受光素子の受光ピーク波長を含む波長範囲として記載する。
【0007】
特許文献2の半導体受光素子では、吸収層のような半導体層を設けて入射光を選択的に吸収させる方法であるが、この方法では、吸収端波長よりも長波長側の光は透過させることはできるが、短波長側の光を透過させることはできないという問題があった。また、半導体吸収層はエピタキシャル成長させており、基板の格子定数に近い格子定数の半導体組成である必要があるので、その吸収端波長にも制限がある。したがって、半導体層で吸収層を形成し、所望の波長の光のみを選択的に透過させる構造では、選択できる波長に制限があった。
【0008】
本発明は、支持基板接合型の半導体受光素子に対して、接合層によって支持基板側からの入射光を遮ることで、ノイズ比率の低い半導体受光素子及び半導体受光素子の製造方法を提供することを目的とする。
【課題を解決するための手段】
【0009】
本発明者らは、上記課題を解決する方途について鋭意検討し、支持基板と光吸収層との間に例えば光を反射させる接合層を設けることを着想した。支持基板の上部に光を遮る接合層を設けることで、支持基板側からの入射光を確実に遮ることが可能となり、ノイズを低減できることを本発明者らは知見し、本発明を完成するに至った。すなわち、本発明の要旨構成は以下の通りである。
【0010】
(1)支持基板と、
前記支持基板上の接合層と、
前記接合層上に位置する受光部を有する半導体積層体と、
前記半導体積層体上に位置し、受光ピーク波長を含む波長範囲を透過させる光学フィルタと、
を備え、
前記接合層と前記半導体積層体との間の少なくとも一部に第1導電型電極及び前記第1導電型電極上に位置する第1導電型コンタクト層を有し、
前記半導体積層体は前記接合層側から光が入射しないことを特徴とする、
半導体受光素子。
(【0011】以降は省略されています)
この特許をJ-PlatPat(特許庁公式サイト)で参照する
関連特許
個人
半導体装置
1か月前
個人
積和演算用集積回路
4日前
東レ株式会社
太陽電池モジュール
1か月前
サンケン電気株式会社
半導体装置
3日前
旭化成株式会社
発光素子
13日前
エイブリック株式会社
縦型ホール素子
27日前
エイブリック株式会社
縦型ホール素子
27日前
ローム株式会社
抵抗チップ
18日前
富士通株式会社
半導体装置
1か月前
三菱電機株式会社
半導体装置
12日前
三菱電機株式会社
半導体装置
1か月前
富士電機株式会社
半導体装置
24日前
株式会社半導体エネルギー研究所
表示装置
27日前
日亜化学工業株式会社
発光装置
1か月前
TDK株式会社
圧電素子
1か月前
日亜化学工業株式会社
発光装置
13日前
ローム株式会社
半導体集積回路
12日前
日亜化学工業株式会社
発光素子
1か月前
ローム株式会社
窒化物半導体装置
27日前
株式会社半導体エネルギー研究所
発光デバイス
11日前
ローム株式会社
窒化物半導体装置
18日前
ローム株式会社
半導体装置
3日前
ローム株式会社
半導体装置
19日前
富士電機株式会社
半導体装置の製造方法
26日前
ローム株式会社
半導体装置
17日前
株式会社カネカ
太陽電池モジュール
1か月前
沖電気工業株式会社
発光装置及び表示装置
1か月前
大日本印刷株式会社
太陽電池
20日前
日亜化学工業株式会社
発光素子
3日前
日本電気株式会社
超伝導量子回路装置
1か月前
サンケン電気株式会社
発光装置
1か月前
株式会社MARUWA
発光装置及び照明器具
1か月前
一般財団法人電力中央研究所
熱化学電池
1か月前
日亜化学工業株式会社
発光装置
12日前
ローム株式会社
RAM
1か月前
今泉工業株式会社
光発電装置及びその製造方法
17日前
続きを見る
他の特許を見る