TOP
|
特許
|
意匠
|
商標
特許ウォッチ
Twitter
他の特許を見る
公開番号
2025168285
公報種別
公開特許公報(A)
公開日
2025-11-07
出願番号
2025068295
出願日
2025-04-17
発明の名称
インクジェット記録物の製造方法及びインクジェット記録物の製造装置
出願人
キヤノン株式会社
代理人
個人
,
個人
,
個人
主分類
B41M
5/00 20060101AFI20251030BHJP(印刷;線画機;タイプライター;スタンプ)
要約
【課題】インクジェット方式で画像を記録した樹脂フィルムを含む記録媒体をレーザーダイカット法でカットする場合に、カット幅が狭くかつ均一に揃った高品位な記録物を製造しうるインクジェット記録物の製造方法を提供する。
【解決手段】樹脂フィルムを含む記録媒体に水性の反応液を付与する工程と、記録媒体の反応液が付与された領域の少なくとも一部に重なるようにインクジェット方式で水性インクを付与して画像を記録する工程と、反応液及び水性インクが付与された領域にレーザー光を照射して記録媒体をカットする工程と、を有するインクジェット記録物の製造方法である。反応液が、無機金属塩を含有し、水性インクが、酸化チタンを含有する。
【選択図】なし
特許請求の範囲
【請求項1】
樹脂フィルムを含む記録媒体に水性の反応液を付与する工程と、
前記記録媒体の前記反応液が付与された領域の少なくとも一部に重なるようにインクジェット方式で水性インクを付与して画像を記録する工程と、
前記反応液及び前記水性インクが付与された領域にレーザー光を照射して前記記録媒体をカットする工程と、を有するインクジェット記録物の製造方法であって、
前記反応液が、無機金属塩を含有し、
前記水性インクが、酸化チタンを含有することを特徴とするインクジェット記録物の製造方法。
続きを表示(約 860 文字)
【請求項2】
前記水性インクが、さらに樹脂を含有し、
前記水性インク中、前記酸化チタンの含有量(質量%)が、前記樹脂の含有量(質量%)に対する質量比率で、0.15倍以上である請求項1に記載のインクジェット記録物の製造方法。
【請求項3】
前記レーザー光を照射する領域に付与する前記水性インクの付与量が、20ng/600dpi以上100ng/600dpi以下である請求項1に記載のインクジェット記録物の製造方法。
【請求項4】
前記水性インクの付与量に対する、前記反応液の付与量が、質量比率で、0.05倍以上0.3倍以下である請求項1に記載のインクジェット記録物の製造方法。
【請求項5】
前記記録媒体が、無機材料を含有しない請求項1に記載のインクジェット記録物の製造方法。
【請求項6】
前記レーザー光を照射して前記記録媒体をハーフカットする請求項1に記載のインクジェット記録物の製造方法。
【請求項7】
前記画像を記録する工程において、前記記録媒体をカットするためのカット領域を記録し、
前記記録媒体をカットする工程において、前記カット領域に前記レーザー光を照射して前記記録媒体をカットする請求項1乃至6のいずれか1項に記載のインクジェット記録物の製造方法。
【請求項8】
樹脂フィルムを含む記録媒体に水性の反応液を付与する反応液付与装置と、
前記記録媒体の前記反応液が付与された領域の少なくとも一部に重なるようにインクジェット方式で水性インクを付与して画像を記録するインク付与装置と、
前記反応液及び前記水性インクが付与された領域にレーザー光を照射して前記記録媒体をカットするレーザー光照射装置と、を有するインクジェット記録物の製造装置であって、
前記反応液が、無機金属塩を含有し、
前記水性インクが、酸化チタンを含有することを特徴とするインクジェット記録物の製造装置。
発明の詳細な説明
【技術分野】
【0001】
本発明は、インクジェット記録物の製造方法及びインクジェット記録物の製造装置に関する。
続きを表示(約 2,400 文字)
【背景技術】
【0002】
インクジェット記録装置は、記録ヘッドの吐出口から微小なインク滴を吐出させて記録媒体に画像を記録する装置である。近年、ポスターや巨大広告の印刷などのサイン&ディスプレイの分野や、ラベル印刷やパッケージ印刷の分野においても、インクジェット記録装置を使用することが検討されている。インクジェット記録装置に対しては、水性インクを吸収する記録媒体のみならず、水性インクをほとんど吸収しない非吸収性の記録媒体など、幅広い記録媒体に画像を記録可能であることが求められている。水性インクをほとんど吸収しない非吸収性の記録媒体としては、樹脂フィルムなどを挙げることができる。
【0003】
記録媒体に画像を記録して得られた記録物は、使用用途に応じてカットや切り抜きなどの加工が施されて最終製品となる。例えば、商品ラベルとして使用する場合は、画像が記録された支持体、粘着層、及び剥離紙を有する記録媒体において、商品ラベルとして使用される部分の周囲をハーフカットする。その後、商品ラベルとして使用されない部分を剥離紙からはがす、いわゆるカス上げ加工を行うことで、最終製品とすることがある。画像を記録した記録媒体をカットする方法としては、近年、レーザーダイカット方法が注目されている。レーザーダイカット方法は、高出力レーザーを使用して対象物をカットする方法である。機械式のダイカット方法の場合、切り抜く形に合わせた金型を作製する必要がある。これに対して、レーザーダイカット方法の場合、コンピュータでカット形状を制御しながらレーザーを直接照射して記録媒体をカットするため、金型作製の手間が省くことができる。また、レーザービームは非常に細く制御することができるため、複雑な形状にカットすることも容易である。
【0004】
例えば、ブラックインクを用いて抜き形状の輪郭に沿ったカット軌跡及び印刷絵柄をラベル用紙にそれぞれ印刷した後、カット軌跡上をなぞるようにレーザー光を照射してハーフカットするラベル用紙の加工方法が提案されている(特許文献1)。
【先行技術文献】
【特許文献】
【0005】
特開2014-218040号公報
【発明の概要】
【発明が解決しようとする課題】
【0006】
本発明者らは、特許文献1で提案された加工方法について検討した。具体的には、樹脂フィルムにカラーインク及び白インクを用いて画像を記録するとともに、抜き形状の輪郭に沿ったカット軌跡(カット領域)をブラックインクで記録した。そして、レーザーダイカット装置を使用し、レーザー光を照射してカット軌跡に沿ってフィルムをハーフカットした。その結果、カット幅にばらつきが生じやすいとともに、ブラックインクで記録されたカット軌跡がレーザー光によりダメージを受けてしまい、レーザー光のスポット径よりもカット幅が大きくなることがわかった。また、カット軌跡を記録せずにレーザーダイカット方法でカットした場合も、同様にカット幅にばらつきが生じやすく、レーザー光のスポット径よりもカット幅が大きくなることがわかった。さらに、白インクを付与した印字部のカット幅と、カラーインクのみを付与した印字部及びインクを付与していない未印字部のカット幅との間に差が生じてしまうことがわかった。このように、カット幅の拡大やばらつきが生じてしまうと、カットして形成された端部が綺麗に揃わず、得られる記録物の見栄えが損なわれることになる。
【0007】
したがって、本発明の目的は、インクジェット方式で画像を記録した樹脂フィルムを含む記録媒体をレーザーダイカット法でカットする場合に、カット幅が狭くかつ均一に揃った高品位な記録物を製造しうるインクジェット記録物の製造方法を提供することにある。また、本発明の別の目的は、このインクジェット記録物の製造方法に用いるインクジェット記録物の製造装置を提供することにある。
【課題を解決するための手段】
【0008】
すなわち、本発明によれば、樹脂フィルムを含む記録媒体に水性の反応液を付与する工程と、前記記録媒体の前記反応液が付与された領域の少なくとも一部に重なるようにインクジェット方式で水性インクを付与して画像を記録する工程と、前記反応液及び前記水性インクが付与された領域にレーザー光を照射して前記記録媒体をカットする工程と、を有するインクジェット記録物の製造方法であって、前記反応液が、無機金属塩を含有し、前記水性インクが、酸化チタンを含有することを特徴とするインクジェット記録物の製造方法が提供される。
【発明の効果】
【0009】
本発明によれば、インクジェット方式で画像を記録した樹脂フィルムを含む記録媒体をレーザーダイカット法でカットする場合に、カット幅が狭くかつ均一に揃った高品位な記録物を製造しうるインクジェット記録物の製造方法が提供される。また、本発明によれば、このインクジェット記録物の製造方法に用いるインクジェット記録物の製造装置を提供することができる。
【図面の簡単な説明】
【0010】
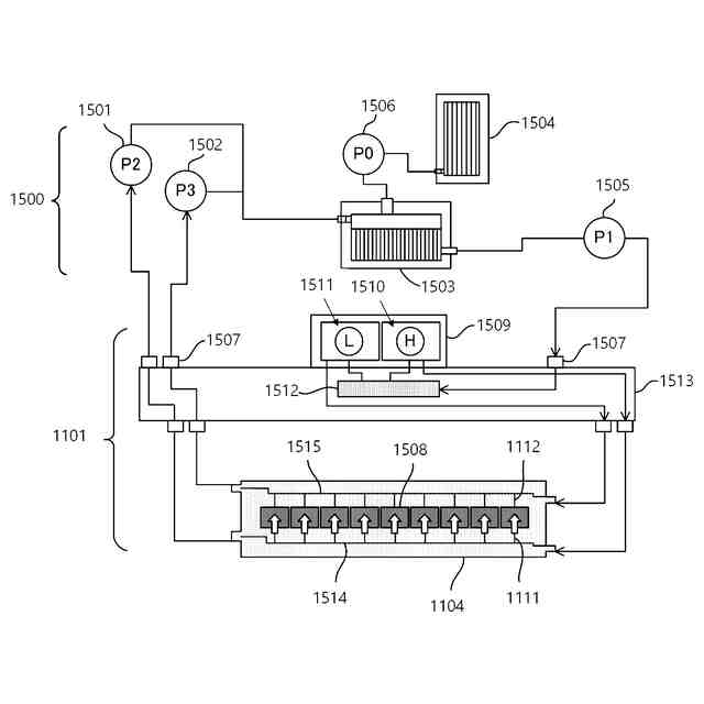
インクジェット記録装置の一例を示す模式図である。
液体付与装置の一例を示す斜視図である。
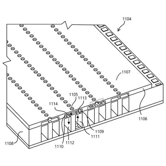
吐出素子基板の一例を示す断面斜視図である。
液体の供給系の一例を示す模式図である。
記録媒体に記録する画像のパターン及びレーザー光の照射位置を示す図である。
記録媒体に記録する画像のパターン及びレーザー光の照射位置を示す図である。
【発明を実施するための形態】
(【0011】以降は省略されています)
この特許をJ-PlatPat(特許庁公式サイト)で参照する
関連特許
キヤノン株式会社
容器
11日前
キヤノン株式会社
容器
17日前
キヤノン株式会社
トナー
3日前
キヤノン株式会社
トナー
20日前
キヤノン株式会社
現像装置
24日前
キヤノン株式会社
電子機器
3日前
キヤノン株式会社
表示装置
11日前
キヤノン株式会社
雲台装置
3日前
キヤノン株式会社
記録装置
3日前
キヤノン株式会社
撮像装置
3日前
キヤノン株式会社
記録装置
17日前
キヤノン株式会社
電子機器
3日前
キヤノン株式会社
撮像装置
4日前
キヤノン株式会社
撮像装置
17日前
キヤノン株式会社
測距装置
5日前
キヤノン株式会社
撮像装置
11日前
キヤノン株式会社
撮像装置
17日前
キヤノン株式会社
撮像装置
17日前
キヤノン株式会社
記録装置
3日前
キヤノン株式会社
液体収容体
5日前
キヤノン株式会社
液体収容体
6日前
キヤノン株式会社
光電変換装置
14日前
キヤノン株式会社
画像形成装置
14日前
キヤノン株式会社
画像形成装置
4日前
キヤノン株式会社
画像形成装置
25日前
キヤノン株式会社
画像形成装置
4日前
キヤノン株式会社
画像形成装置
4日前
キヤノン株式会社
画像形成装置
4日前
キヤノン株式会社
光電変換装置
3日前
キヤノン株式会社
情報処理装置
4日前
キヤノン株式会社
画像形成装置
4日前
キヤノン株式会社
画像形成装置
4日前
キヤノン株式会社
画像形成装置
11日前
キヤノン株式会社
視線検出装置
5日前
キヤノン株式会社
画像処理装置
6日前
キヤノン株式会社
画像形成装置
6日前
続きを見る
他の特許を見る