TOP
|
特許
|
意匠
|
商標
特許ウォッチ
Twitter
他の特許を見る
公開番号
2025167444
公報種別
公開特許公報(A)
公開日
2025-11-07
出願番号
2024072032
出願日
2024-04-26
発明の名称
車両用冷凍サイクルに用いられるデバイスおよび配管構造
出願人
株式会社テージーケー
代理人
弁理士法人インターブレイン
主分類
F16K
27/00 20060101AFI20251030BHJP(機械要素または単位;機械または装置の効果的機能を生じ維持するための一般的手段)
要約
【課題】冷媒としてプロパン又は二酸化炭素を用いる車両用冷凍サイクルにおいて、冷媒の外部漏れ防止性能を向上させる。
【解決手段】デバイス1は、冷媒通路20に連通する取付孔22を有する第1部品8と、取付孔22に挿入される挿入部24を有する第2部品6と、第1部品8と第2部品6との対向面にそれぞれ介装される第1シールリング31および第2シールリング33を含み、第1シールリング31と第2シールリング33との間に密閉空間S1を形成する二重シール構造30と、を備える。第1シールリング31が冷媒通路20と密閉空間S1との連通を規制し、第2シールリング33が密閉空間S1と外気との連通を規制する。第2シールリング33がエチレンプロピレンジエンゴム(EPDM)からなり、第1シールリング31が、第2シールリング33よりも冷媒の透過性が低いゴムからなる。
【選択図】図1
特許請求の範囲
【請求項1】
プロパン又は二酸化炭素を冷媒として用いる車両用冷凍サイクルに適用されるデバイスであって、
前記冷媒が流れる冷媒通路と、前記冷媒通路に連通する取付孔とを有する第1部品と、
前記取付孔に挿入されるように取り付けられる挿入部を有し、前記挿入部が前記取付孔に取り付けられることで前記取付孔を閉止する第2部品と、
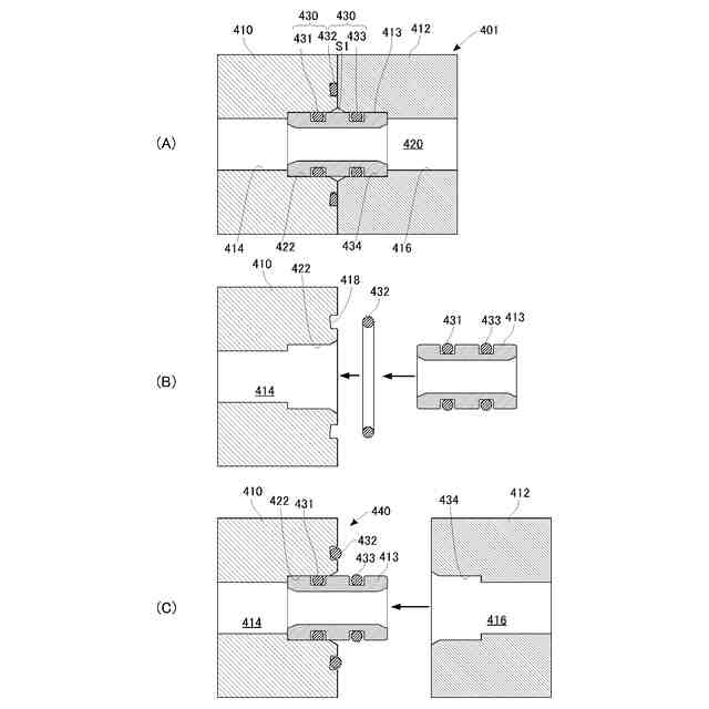
前記第1部品と前記第2部品との対向面にそれぞれ介装される第1シールリングおよび第2シールリングを含み、第1シールリングと第2シールリングとの間に密閉空間を形成する二重シール構造と、
を備え、
前記第1シールリングが前記冷媒通路と前記密閉空間との連通を規制し、
前記第2シールリングが前記密閉空間と外気との連通を規制し、
前記第2シールリングがエチレンプロピレンジエンゴム(EPDM)からなり、
前記第1シールリングが、前記第2シールリングよりも前記冷媒の透過性が低いゴムからなることを特徴とするデバイス。
続きを表示(約 1,500 文字)
【請求項2】
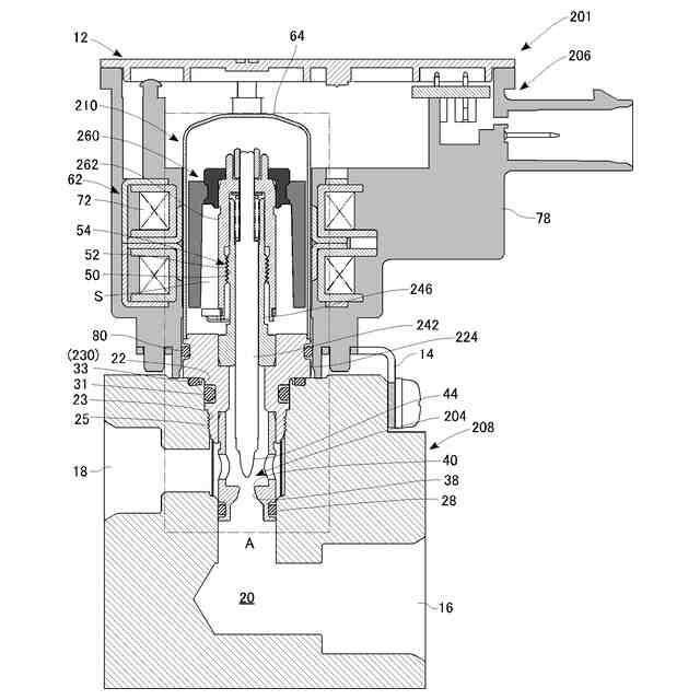
前記冷凍サイクルにおける冷媒の流れを制御する制御弁として構成され、
前記第1部品としての通路ボディと、
前記第2部品としてのバルブユニットと、
を備え、
前記バルブユニットは、
前記取付孔に挿入されつつ前記通路ボディに組み付けられるバルブボディと、
前記バルブボディに設けられる弁部を開閉する弁体と、
前記弁体を前記弁部の開閉方向に駆動するための駆動部と、
を含むことを特徴とする請求項1に記載のデバイス。
【請求項3】
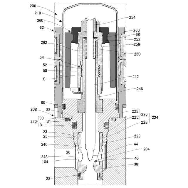
電動弁として構成され、
前記バルブユニットがロータユニットとステータユニットとを含み、
前記ロータユニットは、
前記バルブボディと、
前記弁体と、
前記駆動部を構成するロータと、
前記バルブボディに同軸状に固定され、前記ロータを内包する筒状部材であって、流体の圧力が作用する内部空間と作用しない外部空間とを画定するキャンと、
を含み、
前記ステータユニットは、
前記キャンに同軸状に外挿され、前記駆動部を構成するステータと、
前記ステータを内包するケースと、
を含むことを特徴とする請求項2に記載のデバイス。
【請求項4】
前記第1シールリングおよび前記第2シールリングが、それぞれ前記第1部品における前記取付孔の内周面と、前記第2部品における前記挿入部の外周面との間に介装されることを特徴とする請求項1~3のいずれかに記載のデバイス。
【請求項5】
前記第1部品が前記取付孔の軸線方向に前記第2部品と対向する第1面を有する一方、前記第2部品が前記取付孔の軸線方向に前記第1部品と対向する第2面を有し、
前記第1シールリングが、前記第1部品における前記取付孔の内周面と、前記第2部品における前記挿入部の外周面との間に介装され、
前記第2シールリングが、前記第1部品における前記第1面と、前記第2部品における前記第2面との間に介装されることを特徴とする請求項1~3のいずれかに記載のデバイス。
【請求項6】
プロパン又は二酸化炭素を冷媒として用いる車両用冷凍サイクルに適用される配管構造であって、
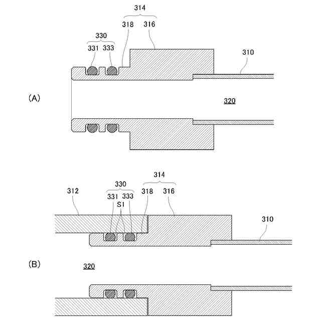
前記冷媒が流れる冷媒通路を有する第1配管と、
前記第1配管の一端部に挿入されるように取り付けられる挿入部を有し、前記挿入部が前記一端部に取り付けられることで、前記第1配管とともに前記冷凍サイクルの冷媒循環通路を構成する第2配管と、
前記第1配管と前記第2配管との対向面にそれぞれ介装される第1シールリングおよび第2シールリングを含み、第1シールリングと第2シールリングとの間に密閉空間を形成する二重シール構造と、
を備え、
前記第1シールリングが前記冷媒通路と前記密閉空間との連通を規制し、
前記第2シールリングが前記密閉空間と外気との連通を規制し、
前記第2シールリングがエチレンプロピレンジエンゴム(EPDM)からなり、
前記第1シールリングが、前記第2シールリングよりも前記冷媒の透過性が低いゴムからなることを特徴とする配管構造。
【請求項7】
前記第1シールリングおよび前記第2シールリングが、それぞれ前記挿入部の外周面に嵌着され、前記第1配管の内周面と前記挿入部の外周面との間に介装されることを特徴とする請求項6に記載の配管構造。
発明の詳細な説明
【技術分野】
【0001】
本発明は、冷凍サイクルに用いられるデバイスおよび配管のシール構造に関する。
続きを表示(約 1,900 文字)
【背景技術】
【0002】
近年の電気自動車の普及に伴い、その空調システムの開発も進められている。電気自動車は内燃機関による熱源そのものがないため、冷房のみならず暖房にも冷媒を用いてサイクル運転を行うヒートポンプ式の冷暖房装置が採用されている(特許文献1参照)。
【0003】
このような冷暖房装置は、圧縮機、室外熱交換器、膨張装置、蒸発器、室内熱交換器等のデバイスを含む冷凍サイクルを有し、暖房運転時と冷房運転時とで冷媒循環通路が切り替えられる。複数の冷媒循環通路が形成されることになるため、これらの冷媒循環通路を形成および接続するための配管の数や、冷媒循環通路に設置される制御弁等のデバイスの数も多くなる傾向にある。このため、各デバイスや配管接続部からの冷媒の漏れ(「外部漏れ」ともいう)対策が重要となる。
【0004】
一方、近年は地球温暖化対策の一環として、フッ素系冷媒の中でもオゾン層破壊係数や地球温暖化係数の低いもの(HFO-1234yfなど)が採用されているが、より環境への負荷が小さい自然冷媒への転換も検討されている。例えば、プロパンや二酸化炭素などが比較的冷凍効果が高い自然冷媒として知られている。
【先行技術文献】
【特許文献】
【0005】
特開2022-11578号公報
【発明の概要】
【発明が解決しようとする課題】
【0006】
しかしながら、プロパンなど炭化水素を主成分とする冷媒は燃焼性が高いため(つまり強燃性であるため)、高温高圧下で漏れると発火のおそれがある。また、二酸化炭素は漏れると中毒のおそれがある。このため、上述した外部漏れ対策として用いられるシール部材(Oリング等のシールリング)の選定がより一層重要となる。
【0007】
この点、シール部材の材質として代表的な水素化ニトリルゴム(HNBR)を採用すると、通常の温度環境下であればそのシール機能を十分に発揮できる。しかし、車両が極寒冷地で使用される場合など、極低温下(例えば-30℃以下)におかれた場合にシール機能が低下するおそれがある。すなわち、極低温下ではプロパンや二酸化炭素の飽和圧力は正圧に維持される一方、HNBRが硬化してしまうため、シール部材のシール性能が低下してシール対象となる箇所に隙間を生じさせ、外部漏れを発生させる可能性がある。
【0008】
本発明の目的の一つは、冷媒としてプロパン又は二酸化炭素を用いる車両用冷凍サイクルにおいて、冷媒の外部漏れ防止性能を向上させることにある。
【課題を解決するための手段】
【0009】
本発明のある態様は、プロパン又は二酸化炭素を冷媒として用いる車両用冷凍サイクルに適用されるデバイスである。このデバイスは、冷媒が流れる冷媒通路と、冷媒通路に連通する取付孔とを有する第1部品と、取付孔に挿入されるように取り付けられる挿入部を有し、挿入部が取付孔に取り付けられることで取付孔を閉止する第2部品と、第1部品と第2部品との対向面にそれぞれ介装される第1シールリングおよび第2シールリングを含み、第1シールリングと第2シールリングとの間に密閉空間を形成する二重シール構造と、を備える。第1シールリングが冷媒通路と密閉空間との連通を規制し、第2シールリングが密閉空間と外気との連通を規制する。第2シールリングがエチレンプロピレンジエンゴム(EPDM)からなり、第1シールリングが、第2シールリングよりも冷媒の透過性が低いゴムからなる。
【0010】
この態様によると、第1部品と第2部品との間隙を介した外部漏れを防止するために、第1シールリングと第2シールリングによる二重シール構造が設けられる。第2シールリングがプロパンや二酸化炭素の透過性を有するEPDMからなるものの、第1シールリングがプロパンや二酸化炭素を透過させ難いゴムからなる。このため、車両が通常の温度環境下に置かれる限り、第1シールリングによりシール機能を十分に発揮できる。一方、仮に車両が極低温下に置かれ、第1シールリングが硬化してそのシール機能を低下させたとしても、EPDMは耐寒性に優れるため、第2シールリングがそのシール機能を発揮する。極低温下ではプロパンや二酸化炭素の圧力が低圧となるため、冷媒圧力と大気圧との差圧、つまりデバイスの内部から外部へ向けて冷媒を押し出す圧力は小さい。このため、EPDMが冷媒透過性を有するといえども、第2シールリングのシール性能で外部漏れを十分に抑制できる。
(【0011】以降は省略されています)
この特許をJ-PlatPat(特許庁公式サイト)で参照する
関連特許
個人
ナット
18日前
個人
ゲート弁バルブ
3日前
株式会社ニフコ
クリップ
3日前
金子産業株式会社
筐体
4日前
カヤバ株式会社
シリンダ装置
17日前
株式会社パイオラックス
保持具
17日前
株式会社フジキン
バルブ
16日前
株式会社パイオラックス
保持具
17日前
株式会社パイオラックス
保持具
17日前
株式会社KVK
配管カバー
3日前
株式会社クボタ
作業車
9日前
ノバ サウスイースタン ユニバーシティー
F16イソインドール小分子を使用する固形腫瘍の治療のための方法及び組成物
18日前
日本精工株式会社
環境配慮型機械部品
16日前
合同会社ICグロー
ユニバーサルジョイント
17日前
株式会社日邦バルブ
逆止弁
4日前
NTN株式会社
密封装置付き軸受
16日前
株式会社ナチュラレーザ・ワン
ヒンジ装置
9日前
株式会社アイシン
動力変換装置
3日前
三ツ星ベルト株式会社
減速機
16日前
株式会社吉野工業所
圧縮ばね部材及び吐出器
16日前
株式会社共和製作所
ボルト連結体の防振構造
9日前
南真化学工業株式会社
トルクリミッタ
3日前
日鉄環境株式会社
止水治具及び止水工法
16日前
株式会社フクハラ
ドレン検知型ドレン排出構造
3日前
日本精工株式会社
ボールねじ
4日前
株式会社アイシン
車両用駆動装置
18日前
ヤンマーホールディングス株式会社
調圧弁
16日前
コスモ工機株式会社
制流装置
3日前
マレリ株式会社
流路切換弁
16日前
ナブテスコ株式会社
回転装置
18日前
大阪瓦斯株式会社
継手
11日前
株式会社アイシン
車両用駆動伝達装置
18日前
株式会社ミツバ
ウォーム
3日前
株式会社デンソー
電動弁
17日前
井関農機株式会社
作業車両
11日前
井関農機株式会社
作業車両
11日前
続きを見る
他の特許を見る