TOP
|
特許
|
意匠
|
商標
特許ウォッチ
Twitter
他の特許を見る
公開番号
2025168120
公報種別
公開特許公報(A)
公開日
2025-11-07
出願番号
2024073264
出願日
2024-04-27
発明の名称
バルブ
出願人
株式会社フジキン
代理人
個人
,
個人
主分類
F16K
37/00 20060101AFI20251030BHJP(機械要素または単位;機械または装置の効果的機能を生じ維持するための一般的手段)
要約
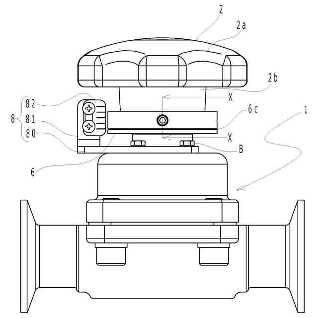
【課題】簡単な構成でハンドル位置固定機構と開度表示機構を併せ持ったバルブを提供すること。
【解決手段】バルブボディ10に取り付けられ開度の目盛を表示する目盛部8と、ハンドル2の周面に取り付けられ周方向に沿って表示された指示線6cを備えこの指示線6cが目盛部8の目盛を指し示すことで開度を表示する開度指示部6とを有し、開度指示部6には内周面に雌ねじ部7bを備えたねじ孔6bを形成し、雄ねじ部材7bをねじ孔6bに螺合することで雄ねじ部材がハンドル2に形成された貫通孔2bを経由してバルブボディ10に当接するようにしている。
【選択図】図1
特許請求の範囲
【請求項1】
流体通路を有するバルブボディと、
前記ボディに形成された弁座に当接離間することにより前記流体通路を開閉する弁体と、
前記ボディに螺合され端部に接続されたハンドルを回動することで弁体を動作させるステムとを有するバルブであって、
前記バルブボディに取り付けられ開度を表示する目盛部と、
前記ハンドルの周面に取り付けられ周方向に沿って表示された指示線を備え該指示線が前記目盛を指し示すことで開度を表示する開度指示部とを有し、
前記開度指示部には内周面に雌ねじ部を備えたねじ孔を形成し、雄ねじ部材を前記ねじ孔に螺合することで前記雄ねじ部材が前記ハンドルに形成された貫通孔を経由して前記バルブボディに当接するようにしたバルブ。
続きを表示(約 88 文字)
【請求項2】
前記開度指示部には、複数の貫通するねじ孔を形成し、少なくとも一のねじ孔を前記ハンドルの貫通孔の位置と一致させて取り付けた請求項1に記載のバルブ。
発明の詳細な説明
【技術分野】
【0001】
本発明は、流体の流れを連通遮断するバルブに関し、特にバルブの操作をロックする機構と開度を表示する機能を有するバルブに関する。
続きを表示(約 1,500 文字)
【背景技術】
【0002】
従来、飲料、薬液等を流すためのバルブとしてダイヤフラム弁がある。ダイヤフラム弁は通常全開、全閉状態を切り替えて用いられるが、開閉機構にハンドルを用いた手動弁においてはハンドルの位置により開度を調整し所定の流量を流すことが可能である。(特許文献1参照)
【先行技術文献】
【特許文献】
【0003】
特許第4232921号公報
【発明の概要】
【発明が解決しようとする課題】
【0004】
ダイヤフラム弁においてハンドルの位置により開度を調整し所定の流量を流す場合、開度を表示可能な機構及びハンドルの位置を固定するための機構を設けることが望まれる。これらの機構は全開、全閉状態を切り替えるダイヤフラム弁に対して後付けで取り付けることが可能であることが望ましく、また部品点数を少なくすることが望ましい。引用文献1に記載の手動操作式流体制御器のロック装置は、ハンドルの根元部に内嵌可能なC字状のハンドル挟持部と、この挟持部の基端部から略直角下方向に延出されたボンネット下端部へ先端が当接する取り付け部とから構成され、ハンドル挟持部のC字状の割り型の一方には雌ネジ部、他方には貫通孔を設けボルトによって、ロック装置を上下方向の任意の位置で固定するようにしている。そして、ハンドル固定を行わないときにはボルトを緩め、固定が必要な時に取付け部の先端をボンネットの直線部に当接させて固定することによってハンドルの回動を抑制するようにしている。
【0005】
引用文献1に記載の手動操作式流体制御器のロック装置では、ハンドルの固定を任意の位置で行うことができるものの、開度合いを示す開度表示機能はなく、開度表示が必要な場合には別途用意する必要があった。
【0006】
本発明は、かかる点に鑑みてなされたものであり、その目的は、簡単な構成でハンドル位置固定機構と開度表示機構を併せ持ったバルブを提供することである。
【課題を解決するための手段】
【0007】
上記課題を解決するためになされた本発明に係るバルブは、流体通路を有するバルブボディと、バルブボディに形成された弁座に当接離間することにより流体通路を開閉する弁体と、ボディに螺合され端部に接続されたハンドルを回動することで弁体を動作させるステムとを有するバルブであって、バルブボディに取り付けられ開度を表示する目盛部と、ハンドルの周面に取り付けられ周方向に沿って表示された指示線を備えこの指示線が目盛部の目盛を指し示すことで開度を表示する開度指示部とを有し、開度指示部には内周面に雌ねじ部を備えたねじ孔を形成し、雄ねじ部材をねじ孔に螺合することで雄ねじ部材がハンドルに形成された貫通孔を経由してバルブボディに当接するようにしている。
【0008】
このバルブは、雄ねじ部材を開度指示部の雌ねじ部に螺合しさらにハンドル貫通孔を経由してハンドル外表面に当接して押圧することで開度指示部をハンドルに固定するとともに、ハンドル固定を行うことができるので、開度表示とハンドル固定を簡易な構造で実現する。
【0009】
また、開度指示部には、複数の貫通するねじ孔を形成し、少なくとも一のねじ孔をハンドルの貫通孔の位置と一致させて取り付けられている。貫通孔と一致しない位置にもねじ孔を設けることで開度指示部のハンドルへの固定を強固なものとする。
【発明の効果】
【0010】
本発明によれば、簡単な構造でバルブの開度表示及びハンドル位置固定を行うことができる。
【図面の簡単な説明】
(【0011】以降は省略されています)
この特許をJ-PlatPat(特許庁公式サイト)で参照する
関連特許
個人
留め具
1か月前
個人
鍋虫ねじ
3か月前
個人
回転伝達機構
4か月前
個人
紛体用仕切弁
3か月前
個人
差動歯車用歯形
5か月前
個人
ジョイント
2か月前
個人
給排気装置
2か月前
個人
ナット
2か月前
個人
ナット
1か月前
株式会社不二工機
電磁弁
5か月前
個人
地震の揺れ回避装置
4か月前
個人
ゲート弁バルブ
18日前
個人
吐出量監視装置
3か月前
兼工業株式会社
バルブ
1か月前
カヤバ株式会社
緩衝器
5か月前
柿沼金属精機株式会社
分岐管
3か月前
カヤバ株式会社
緩衝器
5か月前
カヤバ株式会社
ダンパ
5か月前
カヤバ株式会社
緩衝器
2か月前
カヤバ株式会社
ダンパ
5か月前
株式会社不二工機
電磁弁
3か月前
株式会社ニフコ
クリップ
18日前
個人
固着具と固着具の固定方法
6か月前
個人
固着具と固着具の固定方法
6か月前
株式会社不二工機
電動弁
2か月前
株式会社フジキン
ボールバルブ
6か月前
アズビル株式会社
回転弁
2か月前
株式会社奥村組
制振機構
2か月前
株式会社奥村組
制振機構
2か月前
株式会社ニフコ
クリップ
2か月前
株式会社ノーリツ
分配弁
2か月前
個人
固着具と固着具の固定方法
6か月前
株式会社三五
ドライブシャフト
1か月前
株式会社タカギ
水栓装置
4か月前
竹内工業株式会社
ラッチ
3日前
アイホン株式会社
電気機器
2か月前
続きを見る
他の特許を見る