TOP
|
特許
|
意匠
|
商標
特許ウォッチ
Twitter
他の特許を見る
公開番号
2025169864
公報種別
公開特許公報(A)
公開日
2025-11-14
出願番号
2024200592
出願日
2024-11-18
発明の名称
ボルト連結体の防振構造
出願人
株式会社共和製作所
代理人
個人
主分類
F16F
15/02 20060101AFI20251107BHJP(機械要素または単位;機械または装置の効果的機能を生じ維持するための一般的手段)
要約
【課題】 加振体から被振体にボルトを介して伝わる振動を軽減することで、機器や装置の性能の信頼性を高める。
【解決手段】 ボルト連結体の防振構造は、加振体12と被振体13との間に弾性体14が設けられる。加振体12と被振体13との間に弾性体14を挟んだ状態で、加振体12、被振体13および弾性体14がボルト15によって締め付け固定される。加振体12および被振体13の少なくとも一方のボルト15による締付面には制振ワッシャ20が設けられる。制振ワッシャ20は、加振体12からボルト15に伝わる振動を吸収可能な厚みを有する炭素繊維強化プラスチックにより形成される。
【選択図】図1
特許請求の範囲
【請求項1】
加振体と被振体とをボルトにより連結してなるボルト連結体の防振構造であって、
前記加振体と前記被振体との間に設けられる弾性体と、
前記加振体と前記被振体との間に前記弾性体を挟んだ状態で、前記加振体、前記被振体および前記弾性体を締め付け固定する前記ボルトと、
前記加振体および前記被振体の少なくとも一方の前記ボルトによる締付面に設けられるワッシャと、を備え、
前記ワッシャは、前記加振体から前記ボルトに伝わる振動を吸収可能な厚みを有する炭素繊維強化プラスチック(以下、CFRPという。)からなる制振ワッシャであることを特徴とするボルト連結体の防振構造。
続きを表示(約 1,400 文字)
【請求項2】
請求項1記載の防振構造であって、
前記制振ワッシャは、
CFRPを形成するマトリックス樹脂および炭素繊維の単一層が前記制振ワッシャの厚み方向に積層される積層構造を有するものであり、加えて、
前記積層構造の単一層における前記炭素繊維は、前記マトリックス樹脂を介して単一方向に並列して延び、かつ、隣り合う前記炭素繊維の間に間隔を保つように配置され、かつ、
前記積層構造の各層における前記炭素繊維は、前記積層構造の各層ごとに直交して積層方向に重なり合うように配置される、ボルト連結体の防振構造。
【請求項3】
請求項1記載の防振構造であって、
前記制振ワッシャは、
ワッシャ本体と、
このワッシャ本体の厚み方向に貫通する軸穴と、
前記軸穴の穴縁面に連なって前記軸穴の周縁部に立ち上げられるガイドと、を備え、
前記加振体、前記被振体および前記弾性体が前記ボルトで締め付け固定されるとき、前記加振体または前記被振体のボルト孔に沿って前記ガイドが嵌まり、このガイドの内周側に前記ボルトの軸部が位置決めされる、ボルト連結体の防振構造。
【請求項4】
請求項3記載の防振構造であって、
前記制振ワッシャは、さらに、
前記ワッシャ本体の前記ガイドと反対側の面に前記軸穴を囲むように設けられる環状溝と、
前記環状溝に嵌まって前記ボルトにより締め付けられるOリングと、を備える、ボルト連結体の防振構造。
【請求項5】
請求項2記載の防振構造であって、
前記弾性体は、CFRPからなる板材からなっており、このCFRPを形成するマトリックス樹脂および炭素繊維の単一層が、前記加振体と前記被振体とで挟持される前記板材の板厚方向に積層される積層構造を有するものであり、加えて、
前記積層構造の単一層における前記炭素繊維は、前記マトリックス樹脂を介して単一方向に並列して延び、かつ、隣り合う前記炭素繊維の間に間隔を保つように配置され、かつ、
前記積層構造の各層における前記炭素繊維は、前記積層構造の各層ごとに直交して積層方向に重なり合うように配置される、ボルト連結体の防振構造。
【請求項6】
加振体と被振体とをボルトにより連結してなるボルト連結体の防振構造であって、
前記加振体と前記被振体との間に設けられる弾性体と、
前記加振体と前記被振体との間に前記弾性体を挟んだ状態で、前記加振体、前記被振体および前記弾性体を締め付け固定する前記ボルトと、
前記加振体および前記被振体の少なくとも一方の前記ボルトによる締付面に設けられるワッシャと、を備え、
前記弾性体は、CFRPからなる板材からなっており、このCFRPを形成するマトリックス樹脂および炭素繊維の単一層が、前記加振体と前記被振体とで挟持される前記板材の板厚方向に積層される積層構造を有するものであり、加えて、
前記積層構造の単一層における前記炭素繊維は、前記マトリックス樹脂を介して単一方向に並列して延び、かつ、隣り合う前記炭素繊維の間に間隔を保つように配置され、かつ、
前記積層構造の各層における前記炭素繊維は、前記積層構造の各層ごとに直交して積層方向に重なり合うように配置されることを特徴とする、ボルト連結体の防振構造。
発明の詳細な説明
【技術分野】
【0001】
本発明は、半導体設備、電子機器、音響機器、自動車部品などの分野に適用されるボルト連結体の防振構造に関する。
続きを表示(約 2,900 文字)
【背景技術】
【0002】
ボルト連結体は、複数の部品をボルト・ナットもしくはボルトのみで固定して一体化した構造体である。溶接などの固定方法に比べ解体や交換が容易でメンテナンスや修理がしやすいため、各種の機器や装置など幅広い分野で使用されている。
このようなボルト連結体は、十分な締付トルクで部品同士を強固に固定することが一般的であるが、一部の部品(加振体)に振動が発生する環境では、連結される他方の部品(被振体)にその振動がそのまま伝達される。このような振動が原因でボルトの締付けが緩むおそれもある。
【0003】
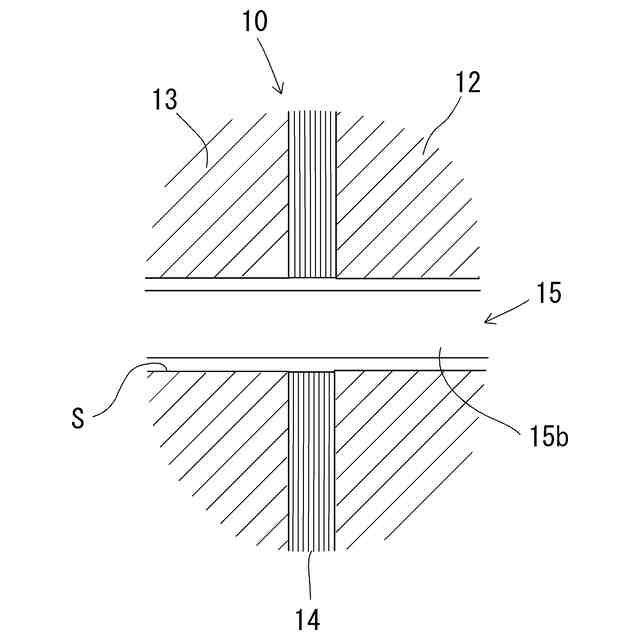
この対策としては、例えば図7に示すボルト連結体の防振構造が採用される。
ボルト連結体1は、加振体2と、被振体3と、これらを連結するためのボルト5およびナット6とを有する。加振体2と被振体3との間にゴム、シリコン等からなる弾性体4が挟まれて固定される。
加振体2、被振体3および弾性体4にはボルト孔Sが貫通し、このボルト孔Sにボルト5の軸部5bが通される。この軸部5bにナット6が締め付けられて加振体2、被振体3および弾性体4が固定される。加振体2および被振体3のボルト5による締付面(ボルト5の頭部5aとナット6の締付面)には緩み止めのためのワッシャ7,7が設けられる。
このようなボルト連結体1の防振構造では、加振体2の振動が弾性体4によって吸収されるため、加振体2から被振体3に直接伝わる振動を軽減することができる。
なお、従来のボルト連結体の防振構造としては、特許文献1等が公知である。
【先行技術文献】
【特許文献】
【0004】
実開平2-110962号公報
【発明の概要】
【発明が解決しようとする課題】
【0005】
しかしながら、このような従来形態によるボルト連結体の防振構造では、加振体2から被振体3に直接伝わる振動を弾性体4で抑えることができるが、加振体2の振動がボルト5を介して被振体3に間接的に伝わるという問題がある。
具体的には、図7において、加振体2の振動は、ボルト5の頭部5a側のワッシャ7から軸部5bを介してナット6に伝わり、ナット6側のワッシャ7から被振体3に伝わる。このようなボルト5を介して被振体3に生じる振動は、ボルト連結体1を含む機器や装置の性能を低下させる原因となり得る。
【0006】
本発明はこのような問題を解決するためになされたもので、加振体から被振体にボルトを介して伝わる振動を軽減することで、機器や装置の性能の信頼性を高めることが可能なボルト連結体の防振構造を提供することを目的とする。
【課題を解決するための手段】
【0007】
[第1発明]
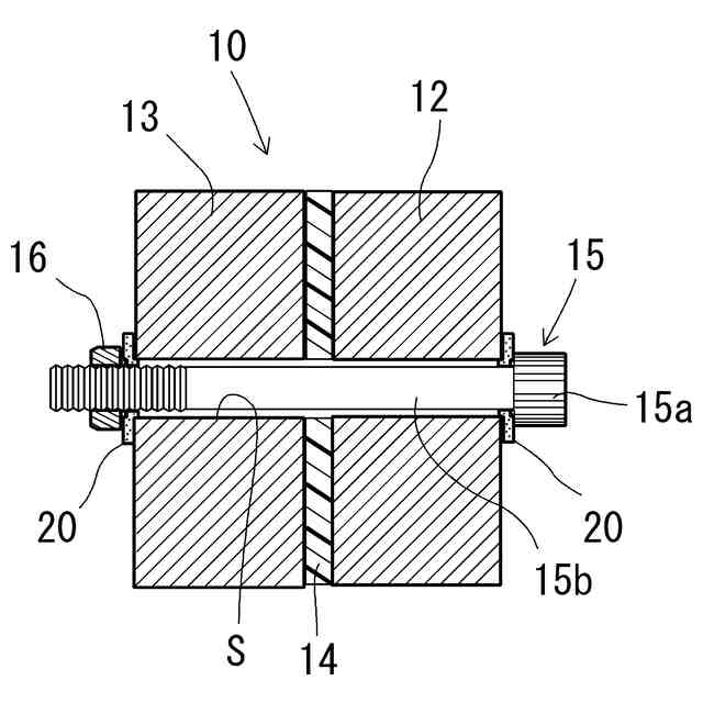
前記課題を解決するための本発明によるボルト連結体の防振構造は、
加振体と被振体とをボルトにより連結してなるボルト連結体の防振構造であって、
前記加振体と前記被振体との間に設けられる弾性体と、
前記加振体と前記被振体との間に前記弾性体を挟んだ状態で、前記加振体、前記被振体および前記弾性体を締め付け固定する前記ボルトと、
前記加振体および前記被振体の少なくとも一方の前記ボルトによる締付面に設けられるワッシャと、を備え、
前記ワッシャは、前記加振体から前記ボルトに伝わる振動を吸収可能な厚みを有する炭素繊維強化プラスチック(以下、CFRPという。)からなる制振ワッシャである構成とした。
【0008】
第1発明によるボルト連結体の防振構造によれば、加振体と被振体との間に設けられる弾性体により、加振体から被振体に直接伝わる振動が吸収される。加えて、ボルトを介して加振体から被振体へ伝わる振動が制振ワッシャによって吸収される。つまり、加振体から被振体に直接的に伝わる振動が弾性体で軽減され、かつ、ボルトを介して間接的に伝わる振動が制振ワッシャによって軽減される。これにより、ボルト連結体を含む機器や装置の性能の信頼性を高めることできる。
第1発明において、制振ワッシャは、加振体からボルトに伝わる振動を十分に吸収するために適度な厚みに設定される。具体的な制振ワッシャの厚みは、ボルト連結体のタイプによって調整し得るが、2mm~5mm程度、好ましくは3mm~4mm程度に設定するのが望ましい。
【0009】
[第2発明]
第2発明によるボルト連結体の防振構造は、第1発明の構成を備えるものであって、
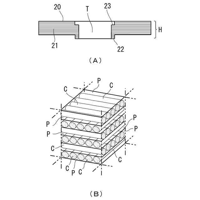
前記制振ワッシャは、
CFRPを形成するマトリックス樹脂および炭素繊維の単一層が前記制振ワッシャの厚み方向に積層される積層構造を有するものであり、加えて、
前記積層構造の単一層における前記炭素繊維は、前記マトリックス樹脂を介して単一方向に並列して延び、かつ、隣り合う前記炭素繊維の間に間隔を保つように配置され、かつ、
前記積層構造の各層における前記炭素繊維は、前記積層構造の各層ごとに直交して積層方向に重なり合うように配置される構成とした。
【0010】
第1発明において、CFRPにおける炭素繊維の配置は、制振ワッシャの弾性や耐久性に影響を与える要因となる。特に、制振ワッシャの厚み方向には、ボルトの締付トルクを十分に確保するための耐圧性(硬さ)が求められるため、炭素繊維の配置が重要となる。
第2発明の構成では、CFRPを形成するマトリックス樹脂および炭素繊維の単一層が制振ワッシャの厚み方向に積層される積層構造を有する。そして、この積層構造の単一層における炭素繊維は、マトリックス樹脂を介して単一方向に並列して延び、かつ、隣り合う炭素繊維の間に間隔を保つように配置される。また、積層構造の各層における炭素繊維は、積層構造の各層ごとに直交して積層方向に重なり合うように配置される。つまり、炭素繊維同士が“井桁(いげた)組み”の構造でマトリックス樹脂内に積み重なる状態となる。
このような炭素繊維の配置では、並列して隣り合う炭素繊維の間にマトリックス樹脂が存在し、積層方向に重なって隣り合う炭素繊維の間にマトリックス樹脂がほとんど存在しない。これにより、マトリックス樹脂が主にボルトの振動エネルギーを吸収する役割を担い、炭素繊維が主に制振ワッシャの厚み方向の耐圧性(硬さ)を高める役割を担うことになる。
また、“井桁(いげた)組み”の炭素繊維は、メッシュ状に交差してマトリックス樹脂を支持するため、制振ワッシャの平面剛性を高め、引っ張り破壊(ちぎれ)に対する耐性を向上させる。
この結果、加振体から被振体にボルトを介して伝わる振動を軽減しつつ、ボルトの締め付けトルクを十分に高めることができるボルト連結体の防振構造を実現することができる。
(【0011】以降は省略されています)
この特許をJ-PlatPat(特許庁公式サイト)で参照する
関連特許
株式会社共和製作所
ボルト連結体の防振構造
5日前
個人
留め具
1か月前
個人
鍋虫ねじ
2か月前
個人
紛体用仕切弁
2か月前
個人
ホース保持具
7か月前
個人
回転伝達機構
3か月前
個人
差動歯車用歯形
4か月前
個人
トーションバー
7か月前
個人
ジョイント
2か月前
個人
給排気装置
1か月前
株式会社不二工機
電磁弁
4か月前
株式会社不二工機
電磁弁
6か月前
個人
ナット
2か月前
個人
地震の揺れ回避装置
3か月前
個人
ナット
14日前
個人
吐出量監視装置
2か月前
カヤバ株式会社
ダンパ
4か月前
カヤバ株式会社
ダンパ
4か月前
柿沼金属精機株式会社
分岐管
3か月前
カヤバ株式会社
緩衝器
4か月前
カヤバ株式会社
緩衝器
1か月前
兼工業株式会社
バルブ
15日前
カヤバ株式会社
緩衝器
4か月前
株式会社三協丸筒
枠体
7か月前
アズビル株式会社
回転弁
1か月前
株式会社奥村組
制振機構
1か月前
個人
固着具と固着具の固定方法
6か月前
個人
固着具と固着具の固定方法
6か月前
株式会社不二工機
電動弁
1か月前
株式会社奥村組
制振機構
1か月前
個人
固着具と固着具の固定方法
6か月前
株式会社ニフコ
クリップ
1か月前
株式会社ノーリツ
分配弁
1か月前
個人
固着具と固着具の固定方法
7か月前
株式会社不二工機
電動弁
7か月前
株式会社三五
ドライブシャフト
28日前
続きを見る
他の特許を見る