TOP
|
特許
|
意匠
|
商標
特許ウォッチ
Twitter
他の特許を見る
10個以上の画像は省略されています。
公開番号
2025170994
公報種別
公開特許公報(A)
公開日
2025-11-20
出願番号
2024075918
出願日
2024-05-08
発明の名称
トルクリミッタ
出願人
南真化学工業株式会社
代理人
個人
,
個人
主分類
F16D
7/02 20060101AFI20251113BHJP(機械要素または単位;機械または装置の効果的機能を生じ維持するための一般的手段)
要約
【課題】効率的に小型化が図れ、トルク発生パターンを多彩にすることが可能な構造のバネ式トルクリミッタを提供する目的とする。
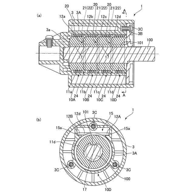
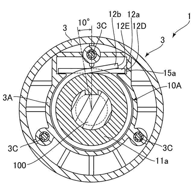
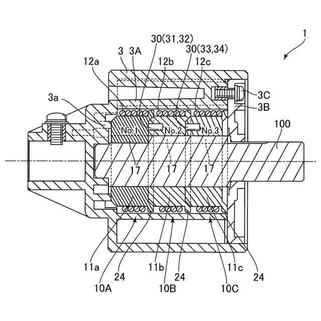
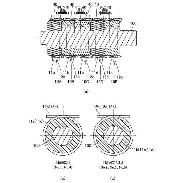
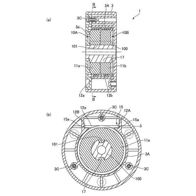
【解決手段】トルクリミッタ1は、ボビンと、ボビンの外周面に巻回保持されるコイルバネとを備えたボビンユニットを覆うように配設されるハウジング3を有し、ボビンユニットに装着される駆動軸100に対して摩擦トルクを発生させる。ボビンユニット10A~10Dは、駆動軸100の軸方向に沿って複数個配列されており、ハウジング3は、それぞれのボビンユニットのボビンに巻回保持されているコイルバネ12a~12dの端部を回転方向に止める係止構造15を有し、複数個配列されたボビンユニットの内、1つ以上のボビンは、駆動軸100に対して回り止め固定される。
【選択図】 図1
特許請求の範囲
【請求項1】
ボビンと、このボビンの外周面に巻回保持されるコイルバネとを備えたボビンユニットを覆うように配設されるハウジングを有し、前記ボビンユニットに装着される駆動軸に対して摩擦トルクを発生させるバネ式トルクリミッタにおいて、
前記ボビンユニットは、前記駆動軸の軸方向に沿って複数個配列されており、
前記ハウジングは、それぞれのボビンユニットのボビンに巻回保持されているコイルバネの端部を回転方向に止める係止構造を有し、
前記複数個配列されたボビンユニットの内、1つ以上のボビンは、前記駆動軸に対して回り止め固定されることを特徴とするバネ式トルクリミッタ。
続きを表示(約 1,000 文字)
【請求項2】
前記複数個配列されたボビンユニットのボビンの全ては、前記駆動軸に対して回り止め固定されることを特徴とする請求項1に記載のバネ式トルクリミッタ。
【請求項3】
前記それぞれのボビンユニットのボビンは、連結部を備えており、
前記複数個配列されているボビンユニットは、前記連結部によって、軸方向に一体化されていることを特徴とする請求項1又は2に記載のバネ式トルクリミッタ。
【請求項4】
前記連結部は、隣接配置されるボビン同士を連結するように、隣接配置されたボビンの対向部に設けられる凸部及び凹部を備えており、
隣接するボビンは、前記凸部と凹部の係合によって一体的に回転可能であることを特徴とする請求項3に記載のトルクリミッタ。
【請求項5】
前記凸部と凹部は、周方向に遊度をもって係合していることを特徴とする請求項4に記載のトルクリミッタ。
【請求項6】
前記連結部によって連結された隣接するボビンは、前記駆動軸に対してフリー状態であることを特徴とする請求項3に記載のトルクリミッタ。
【請求項7】
前記複数個配列されたボビンユニットの各ボビンに巻回されるコイルバネは、コイルバネ同士で、線径、巻数、ヤング率、材質の少なくともいずれか1以上の要素を変えることで、ボビンユニット毎のトルク設定値を異ならせることが可能であることを特徴とする請求項3に記載のトルクリミッタ。
【請求項8】
前記ハウジングの係止構造は、各ボビンに巻回保持されているコイルバネの端部の固定位置を変えることで、ボビンユニット毎のトルクの発生タイミングを異ならせることが可能であることを特徴とする請求項3に記載のトルクリミッタ。
【請求項9】
前記各ボビンに巻回保持されているコイルバネは、ボビンユニット毎に末端位置が異なることを特徴とする請求項3に記載のトルクリミッタ。
【請求項10】
前記複数個配列されたボビンユニットの各ボビンの外周面には、径方向に突出するフランジが形成されており、
前記フランジは、隣接するボビンユニットのボビンに巻回されたコイルバネの軸方向のストッパとしての機能を有することを特徴とする請求項1に記載のトルクリミッタ。
(【請求項11】以降は省略されています)
発明の詳細な説明
【技術分野】
【0001】
本発明は、一方向に伝達される回転、又は、双方向に伝達される回転に伴う負荷トルクを所定値以下に制限するトルクリミッタに関する。
続きを表示(約 1,700 文字)
【背景技術】
【0002】
一般的に、トルクリミッタは、回転伝達機構において、ある一定値を超える大きなトルクが作用したときに、その一定値以上のトルクの伝達を遮断するものであり、例えば、プリンタや複写機等の電子情報機器の用紙搬送機構(給紙機構)のローラ部分に設置されている。このようなトルクリミッタは、機械的な摩擦によって回転トルクを得る接触式のものがあり、例えば、特許文献1に開示されているように、内輪部材(ボビンとも称される)と、この内輪部材の外周に締まり嵌めされるコイルバネと、コイルバネの一端部を固定し、前記内輪部材を覆う外輪部材(ケース部材又はハウジングとも称される)とを備えたもの(バネ式トルクリミッタ)が知られている。
【0003】
また、トルクリミッタには、一方向に伝達される回転に伴う負荷トルクを制限する以外にも、例えば、特許文献2に開示されているように、双方向に伝達される回転に伴う負荷トルクを制限するものが知られている。
【0004】
上記したバネ式トルクリミッタは、構造がシンプルで、一定の負荷トルクを超え動力遮断した後、負荷が低下すると自動的に動力伝達を再開する、いわゆる自動復帰機能が得られ、ロックし難く、安価であるというメリットがある。
【先行技術文献】
【特許文献】
【0005】
特開2023-73602号
特開2023-73603号
【発明の概要】
【発明が解決しようとする課題】
【0006】
上記したようなバネ式トルクリミッタについては、さらに小型化して高トルクを発生することが望まれている。また、トルクリミッタを設置する装置のスペースや、要望されるトルク発生パターン等に応じて、構造がシンプルでありながら、適切なトルクが発生できる構造にすることが好ましい。
【0007】
本発明は、効率的に小型化が図れ、トルク発生パターンを多彩にすることが可能な構造のバネ式トルクリミッタを提供することを目的とする。
【課題を解決するための手段】
【0008】
上記した目的を達成するために、本発明は、ボビンと、このボビンの外周面に巻回保持されるコイルバネとを備えたボビンユニットを覆うように配設されるハウジングを有し、前記ボビンユニットに装着される駆動軸に対して摩擦トルクを発生させるバネ式トルクリミッタにおいて、前記ボビンユニットは、前記駆動軸の軸方向に沿って複数個配列されており、前記ハウジングは、それぞれのボビンユニットのボビンに巻回保持されているコイルバネの端部を回転方向に止める係止構造を有し、前記複数個配列されたボビンユニットの内、1つ以上のボビンは、前記駆動軸に対して回り止め固定されることを特徴とする。
【0009】
上記した構成のバネ式トルクリミッタによれば、軸方向に沿って、複数個のボビンユニットを配設したことで、各ボビンユニットのコイルバネによってボビン毎にトルクを設定することが可能となる。このため、例えば、各ボビンユニットのトルク効率を最大化して合算したり、異なるトルクを組み合わせる等、様々なトルク値が設定可能で、さらにボビンユニットを連動してトルク発生パターンを目的に合わせて変えることができるバネ式トルクリミッタが得られる。その結果、外部機器の設置スペース、外部機器の要求トルク等に応じて、ハウジングの寸法、ボビンユニットの設置個数、トルクの大きさ、発生パターンなどを、効率的に最適化することが可能となる。さらに、軸方向にボビンユニットを複数個、分割したことで、トルクリップル(周期的トルク変動)を平均化することが可能となる。
【発明の効果】
【0010】
本発明によれば、効率的に小型化が図れ、トルク発生パターンを多彩にすることが可能な構造のバネ式トルクリミッタが得られる。
【図面の簡単な説明】
(【0011】以降は省略されています)
この特許をJ-PlatPat(特許庁公式サイト)で参照する
関連特許
個人
留め具
1か月前
個人
鍋虫ねじ
2か月前
個人
回転伝達機構
3か月前
個人
ホース保持具
7か月前
個人
紛体用仕切弁
2か月前
個人
差動歯車用歯形
5か月前
個人
トーションバー
7か月前
個人
ジョイント
2か月前
個人
給排気装置
1か月前
株式会社不二工機
電磁弁
4か月前
個人
地震の揺れ回避装置
4か月前
株式会社不二工機
電磁弁
6か月前
個人
ボルトナットセット
8か月前
個人
ナット
2か月前
個人
ナット
18日前
個人
ゲート弁バルブ
3日前
個人
吐出量監視装置
2か月前
カヤバ株式会社
緩衝器
4か月前
カヤバ株式会社
ダンパ
5か月前
株式会社三協丸筒
枠体
8か月前
柿沼金属精機株式会社
分岐管
3か月前
カヤバ株式会社
ダンパ
5か月前
兼工業株式会社
バルブ
19日前
カヤバ株式会社
緩衝器
1か月前
カヤバ株式会社
緩衝器
8か月前
カヤバ株式会社
緩衝器
4か月前
株式会社ノーリツ
分配弁
6か月前
株式会社ノーリツ
分配弁
1か月前
株式会社奥村組
制振機構
1か月前
株式会社ノーリツ
分配弁
6か月前
アズビル株式会社
回転弁
1か月前
株式会社奥村組
制振機構
1か月前
個人
固着具と固着具の固定方法
6か月前
株式会社タカギ
水栓装置
3か月前
株式会社三五
ドライブシャフト
1か月前
株式会社不二工機
電動弁
7か月前
続きを見る
他の特許を見る