TOP
|
特許
|
意匠
|
商標
特許ウォッチ
Twitter
他の特許を見る
公開番号
2025170501
公報種別
公開特許公報(A)
公開日
2025-11-19
出願番号
2024075119
出願日
2024-05-07
発明の名称
逆止弁
出願人
株式会社日邦バルブ
代理人
個人
,
個人
,
個人
主分類
F16K
15/06 20060101AFI20251112BHJP(機械要素または単位;機械または装置の効果的機能を生じ維持するための一般的手段)
要約
【課題】配管部材の管軸と、弁体が移動する軸線とを一致させることができる逆止弁を提供すること。
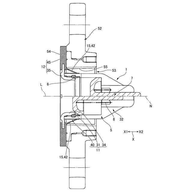
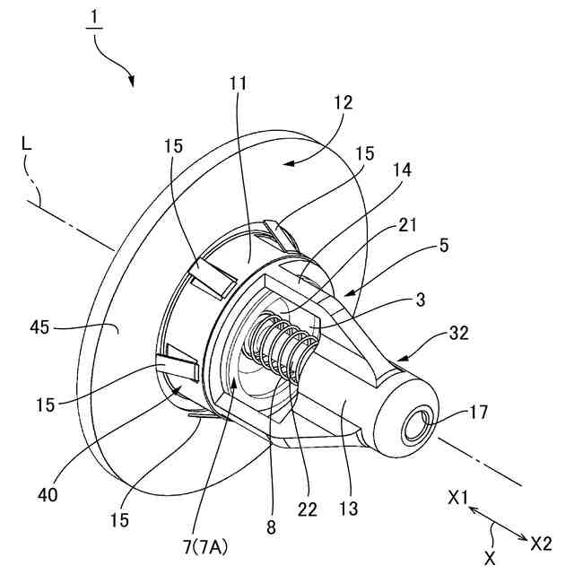
【解決手段】逆止弁1の弁箱5は、第1方向X1の端に流入口2を備える筒部11と、筒部11の第1方向X1の端部分から軸線Lと直交する径方向に広がるフランジ部12と、を備える。筒部11は、外周側に突出する3以上の複数の突起15を備える。複数の突起15は、周方向で互いに離間し、各突起15は、径方向に弾性変形可能である。弁箱5を開口部53に挿入して、フランジ部12を合フランジ52における開口部53の開口縁部分54に当接させると、弁箱5の筒部11の複数の突起15のそれぞれが合フランジ52における開口部53の内周壁面55に当接して、逆止弁1の軸線Lを開口部53の中心軸線Nに一致させる。
【選択図】図5
特許請求の範囲
【請求項1】
配管部材の開口部に装着される逆止弁において、
流体の流入口および流出口、並びに前記流入口と前記流出口とを接続する流路、を備える弁箱と、前記流入口と同軸で前記流路に配置された弁座と、前記流入口および前記弁座の軸線に沿った方向を軸線方向とし、前記軸線方向において前記弁座から前記流入口に向かう方向を第1方向、その反対を第2方向とした場合に、前記弁座と同軸に配置されて前記軸線方向に進退可能な状態で前記弁箱に支持され、前記弁座に当接して前記流路を塞ぐ閉位置と前記弁座から前記第2方向に離間して前記流路を開く開位置との間を移動する弁体と、前記弁体を前記第2方向の側から前記弁座に付勢するコイルバネと、を有し、
前記弁箱は、内周側に前記弁座を収容し、前記第1方向の端に前記流入口を備える筒部と、前記筒部の前記第1方向の端部分から前記軸線と直交する径方向に広がるフランジ部と、を備え、
前記筒部は、外周側に突出する3以上の複数の突起を備え、
複数の前記突起は、前記軸線回りの周方向で互いに離間し、
各突起は、前記径方向に弾性変形可能であり、
前記筒部を前記開口部に挿入して前記フランジ部を前記配管部材における前記開口部の開口縁部分に当接させたときに、複数の前記突起のそれぞれが前記配管部材における前記開口部の内周壁面に当接して前記軸線を前記開口部の中心軸線に一致させることを特徴とする逆止弁。
続きを表示(約 1,100 文字)
【請求項2】
前記弁箱は、前記軸線と同軸の環状外周面を有する第1筒部分を備える第1弁箱部材と、前記環状外周面に取り付けられる装着部材と、を備え、
前記筒部は、前記第1筒部分および前記装着部材を備え、
複数の前記突起は、前記装着部材に設けられていることを特徴とする請求項1に記載の逆止弁。
【請求項3】
前記装着部材は、前記環状外周面に沿って周方向に延びる帯状部分と、前記帯状部分を前記軸線方向に切り起した複数の切り起し部分と、を備え、
前記帯状部分は、前記環状外周面に密着し、
各切り起し部分は、前記突起であり、前記第1方向に向かって外周側に傾斜することを特徴とする請求項2に記載の逆止弁。
【請求項4】
前記装着部材は、金属製であることを特徴とする請求項3に記載の逆止弁。
【請求項5】
前記弁箱は、前記第1筒部分に前記第1方向の側から挿入される第2筒部分、および前記第2筒部分の前記第1方向の端部分から径方向外側に広がるフランジ部分を備える第2弁箱部材と、前記フランジ部分に取り付けられて前記フランジ部分の外周側を覆う円環状のパッキンと、を備え、
前記第1弁箱部材は、前記第1筒部分の前記第2方向に前記流出口を備え、
前記第2弁箱部材は、前記第2筒部分の前記第1方向の端に前記流入口を備え、
前記第2筒部分の前記第2方向の端部分には、前記弁座が取り付けられ、
前記筒部は、前記第1筒部分、前記第2筒部分、および前記装着部材を備え、
前記フランジ部は、前記フランジ部分および前記パッキンを備えることを特徴とする請求項3または4に記載の逆止弁。
【請求項6】
前記第1筒部分は、円筒形状であり、
前記帯状部分は、前記軸線回りで270°を超える円弧形状であることを特徴とする請求項3から5のうちのいずれか一項に記載の逆止弁。
【請求項7】
前記第1弁箱部材は、前記第1筒部分よりも前記第2方向の側の外径寸法が前記第1筒部分の外径寸法以下であり、
前記第1筒部分は、円筒形状であり、
前記帯状部分は、環状であることを特徴とする請求項3から5のうちのいずれか一項に記載の逆止弁。
【請求項8】
複数の前記突起は、前記軸線回りで、等角度間隔に設けられていることを特徴とする請求項1から4のうちのいずれか一項に記載の逆止弁。
【請求項9】
前記配管部材は、合フランジであり、
前記開口部は、前記合フランジの中心孔であることを特徴とする請求項1から4のうちのいずれか一項に記載の逆止弁。
発明の詳細な説明
【技術分野】
【0001】
本発明は、弁箱を配管部材の開口部に挿入して設置される逆止弁に関する。
続きを表示(約 2,200 文字)
【背景技術】
【0002】
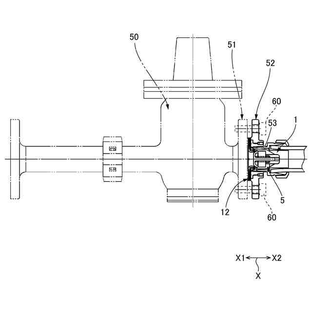
このような逆止弁は特許文献1に記載されている。同文献の逆止弁は、弁箱と、弁座と、弁体と、弁体を弁座に付勢するコイルバネを有する。弁箱は、流体の流入口および流出口、並びに流入口と流出口とを接続する流路、を備える。弁座は、流入口と同軸で、流路に配置されている。弁体は、流入口および弁座の軸線に沿った軸線方向に移動可能な状態で弁箱に支持されている。また、弁箱は、内周側に弁座を収容する筒部と、筒部の一方側の端部分から軸線と直交する径方向に広がるフランジ部を備える。筒部は、軸線方向の一方側の端に流入口を備える。弁箱において、流出口は、筒部よりも軸線方向の他方側に設けられている。
【0003】
同文献では、逆止弁は、水道管を構成する1次側配管と2次側配管の間にフランジ部を挟み、弁箱を2次側配管の開口部に挿入して設置される。逆止弁の設置時に、1次側配管と2次側配管とは、これらの接続部分の外周側に螺合する袋ナットにより締結される。
【先行技術文献】
【特許文献】
【0004】
特開2018-80767号公報
【発明の概要】
【発明が解決しようとする課題】
【0005】
逆止弁を設置したときに、2次側配管(配管部材)の管軸と、逆止弁の軸線がズレていると、このズレに起因して配管を流れる流体に乱流が発生する場合がある。乱流が発生すると、弁体に負荷がかかり、弁体および弁体を支持する弁箱の耐久性が低下するという問題がある。
【0006】
本発明の課題は、このような点に鑑みて、配管部材の管軸と、弁体が移動する軸線とを一致させることができる逆止弁を提供することによる。
【課題を解決するための手段】
【0007】
上記課題を解決するために、本発明は、配管部材の開口部に装着される逆止弁において、流体の流入口および流出口、並びに前記流入口と前記流出口とを接続する流路、を備える弁箱と、前記流入口と同軸で前記流路に配置された弁座と、前記流入口および前記弁座の軸線に沿った方向を軸線方向とし、前記軸線方向において前記弁座から前記流入口に向かう方向を第1方向、その反対を第2方向とした場合に、前記弁座と同軸に配置されて前記軸線方向に進退可能な状態で前記弁箱に支持され、前記弁座に当接して前記流路を塞ぐ閉位置と前記弁座から前記第2方向に離間して前記流路を開く開位置との間を移動する弁体と、前記弁体を前記第2方向の側から前記弁座に付勢するコイルバネと、を有し、
前記弁箱は、内周側に前記弁座を収容し、前記第1方向の端に前記流入口を備える筒部と、前記筒部の前記第1方向の端部分から前記軸線と直交する径方向に広がるフランジ部と、を備え、前記筒部は、外周側に突出する3以上の複数の突起を備え、複数の前記突起は、前記軸線回りの周方向で互いに離間し、各突起は、前記径方向に弾性変形可能であり、前記筒部を前記開口部に挿入して前記フランジ部を前記配管部材における前記開口部の開口縁部分に当接させたときに、複数の前記突起のそれぞれが前記配管部材における前記開口部の内周壁面に当接して前記軸線を前記開口部の中心軸線に一致させることを特徴と
する。
【0008】
本発明によれば、弁体を軸線方向に移動可能に支持する弁箱は、第1方向の端に流入口を備える筒部と、筒部の第1方向の端部分から軸線と直交する径方向に広がるフランジ部と、を備える。筒部は、外周側に突出する3以上の複数の突起を備える。複数の突起は、周方向で互いに離間し、各突起は、径方向に弾性変形可能である。ここで、逆止弁を配管部材の開口部に装着する際に、筒部を開口部に挿入して弁箱のフランジ部を配管部材における開口部の開口縁部分に当接させると、フランジ部は軸線と直交する径方向に広がっているので、逆止弁の軸線は開口部の中心軸線と平行となる。また、弁箱の筒部を開口部に挿入して複数の突起のそれぞれを配管部材における開口部の内周壁面に当接させると、各突起が径方向に弾性変形する。従って、逆止弁の軸線と、開口部の中心軸線とを一致させることができる。
【0009】
本発明において、前記弁箱は、前記軸線と同軸の環状外周面を有する第1筒部分を備える第1弁箱部材と、前記環状外周面に取り付けられる装着部材と、を備え、前記筒部は、前記第1筒部分、および前記装着部材を備え、複数の前記突起は、前記装着部材に設けられているものとすることができる。このようにすれば、弁箱の筒部に複数の突起を設けることが容易である。また、このようにすれば、第1筒部分から装着部材を取り外すことにより、逆止弁を、複数の突起を有さない従来の逆止弁として使用できる。
【0010】
本発明において、前記装着部材は、前記環状外周面に沿って周方向に延びる帯状部分と、前記帯状部分を前記軸線方向に切り起した複数の切り起し部分と、を備え、前記帯状部分は、前記環状外周面に密着し、各切り起し部分は、前記突起であり、前記第1方向に向かって外周側に傾斜するものとすることができる。このようにすれば、装着部材に、径方向に弾性変形可能な突起を設けることが容易である。
(【0011】以降は省略されています)
この特許をJ-PlatPat(特許庁公式サイト)で参照する
関連特許
個人
留め具
1か月前
個人
鍋虫ねじ
2か月前
個人
回転伝達機構
3か月前
個人
紛体用仕切弁
2か月前
個人
ホース保持具
7か月前
個人
トーションバー
7か月前
個人
差動歯車用歯形
5か月前
個人
給排気装置
1か月前
個人
ジョイント
2か月前
個人
地震の揺れ回避装置
4か月前
個人
ナット
2か月前
株式会社不二工機
電磁弁
6か月前
個人
ナット
18日前
株式会社不二工機
電磁弁
4か月前
個人
吐出量監視装置
2か月前
個人
ゲート弁バルブ
3日前
カヤバ株式会社
緩衝器
4か月前
兼工業株式会社
バルブ
19日前
カヤバ株式会社
ダンパ
5か月前
カヤバ株式会社
ダンパ
5か月前
柿沼金属精機株式会社
分岐管
3か月前
カヤバ株式会社
緩衝器
4か月前
カヤバ株式会社
緩衝器
1か月前
株式会社三協丸筒
枠体
8か月前
株式会社三五
ドライブシャフト
1か月前
個人
固着具と固着具の固定方法
6か月前
株式会社不二工機
電磁弁
2か月前
株式会社不二工機
電動弁
1か月前
個人
固着具と固着具の固定方法
6か月前
株式会社ノーリツ
分配弁
6か月前
個人
固着具と固着具の固定方法
6か月前
日東電工株式会社
断熱材
7か月前
個人
固着具と固着具の固定方法
7か月前
株式会社ノーリツ
分配弁
1か月前
株式会社ノーリツ
分配弁
6か月前
株式会社ノーリツ
分配弁
6か月前
続きを見る
他の特許を見る