TOP
|
特許
|
意匠
|
商標
特許ウォッチ
Twitter
他の特許を見る
10個以上の画像は省略されています。
公開番号
2025167503
公報種別
公開特許公報(A)
公開日
2025-11-07
出願番号
2024072181
出願日
2024-04-26
発明の名称
調圧弁
出願人
ヤンマーホールディングス株式会社
代理人
個人
,
個人
主分類
F16K
17/04 20060101AFI20251030BHJP(機械要素または単位;機械または装置の効果的機能を生じ維持するための一般的手段)
要約
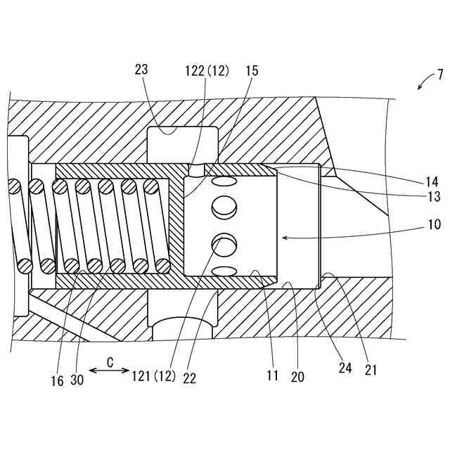
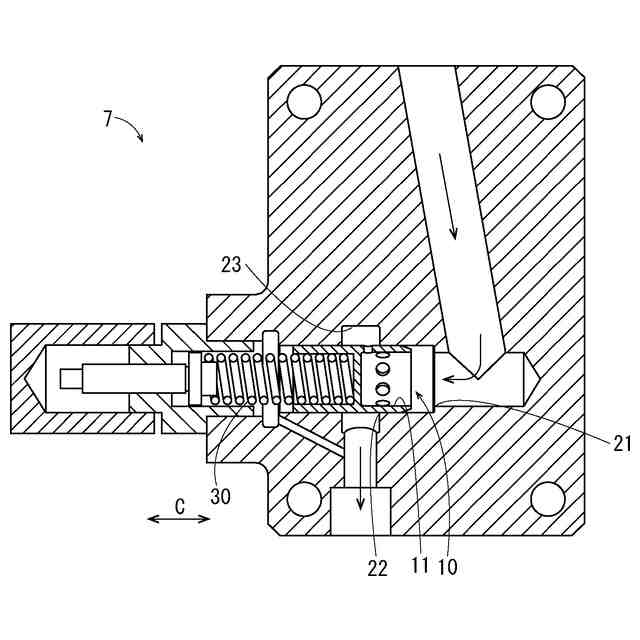
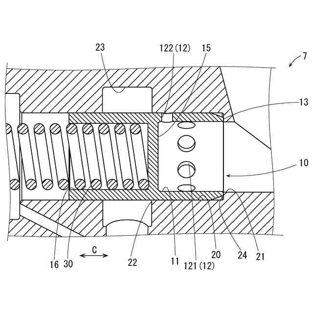
【課題】弁体の摩耗や焼き付き、流出口への弁体の乗り上げ、流出口と弁体との間隙への異物の噛み込みを発生しにくくすることを目的とする。
【解決手段】調圧弁7は、弁体10と、弁体10を摺動可能に支持する支持部20と、弁体10の摺動方向Cに沿って支持部20に流体を流入させる流入口21と、弁体10の摺動方向Cと交差する方向に沿って支持部20から流体を流出させる流出口22と、弁体10を流入口21側へ付勢する付勢部材30と、を備え、弁体10は、流入口21側に開口した凹部11を有する。
【選択図】図4
特許請求の範囲
【請求項1】
弁体と、
前記弁体を摺動可能に支持する支持部と、
前記弁体の摺動方向に沿って前記支持部に流体を流入させる流入口と、
前記弁体の摺動方向と交差する方向に沿って前記支持部から流体を流出させる流出口と、
前記弁体を前記流入口側へ付勢する付勢部材と、を備え、
前記弁体は、前記流入口側に開口した凹部を有することを特徴とする調圧弁。
続きを表示(約 490 文字)
【請求項2】
前記弁体は、前記凹部から前記弁体の外周面に貫通する孔部を備え、
前記流入口から流入した流体の圧力により前記弁体が摺動した場合に、前記孔部を介して前記流入口と前記流出口とが連通することを特徴とする請求項1に記載の調圧弁。
【請求項3】
前記弁体の摺動方向の複数箇所に前記孔部を備えることを特徴とする請求項2に記載の調圧弁。
【請求項4】
前記孔部は、
前記弁体の周方向の複数箇所に設けられた第1孔部と、
前記第1孔部よりも前記流入口から離間した第2孔部と、を含むことを特徴とする請求項3に記載の調圧弁。
【請求項5】
前記第2孔部の総面積は、前記第1孔部の総面積よりも小さいことを特徴とする請求項4に記載の調圧弁。
【請求項6】
前記支持部は、前記流出口に連通し、周方向に沿う溝部を備えることを特徴とする請求項1乃至5のいずれか1項に記載の調圧弁。
【請求項7】
前記弁体は、前記凹部側の端部にテーパー部を有することを特徴とする請求項1に記載の調圧弁。
発明の詳細な説明
【技術分野】
【0001】
本発明は、調圧弁に関する。
続きを表示(約 980 文字)
【背景技術】
【0002】
弁体がばねによって外筒のシート部に押し付けられることで密封を保ち、弁体に作用する圧力がばねの力よりも大きくなると弁体が移動して流体の流れが形成される調圧弁が知られている(例えば、特許文献1、2)。
【先行技術文献】
【特許文献】
【0003】
特開平9-112408号公報
特開平5-296118号公報
【発明の概要】
【発明が解決しようとする課題】
【0004】
しかし、特許文献1、2で開示された調圧弁は、弁体の外周面にかかる圧力が均等でないため、弁体の外周面が流出口に接触して摩耗や焼き付きが発生したり、弁体が流出口に乗り上げて弁体が閉じられなくなったりするおそれがある。また、弁体と流出口との間隙が狭いため、間隙に異物を噛み込むおそれがある。
【0005】
本発明は、上記事情を考慮し、弁体の摩耗や焼き付き、流出口への弁体の乗り上げ、流出口と弁体との間隙への異物の噛み込みを発生しにくくすることを目的とする。
【課題を解決するための手段】
【0006】
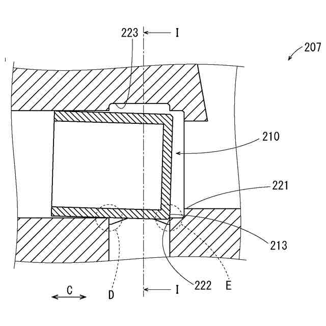
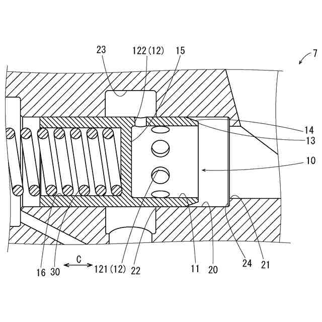
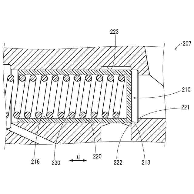
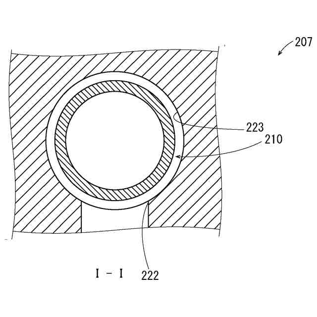
上記課題を解決するため、本発明に係る調圧弁は、弁体と、前記弁体を摺動可能に支持する支持部と、前記弁体の摺動方向に沿って前記支持部に流体を流入させる流入口と、前記弁体の摺動方向と交差する方向に沿って前記支持部から流体を流出させる流出口と、前記弁体を前記流入口側へ付勢する付勢部材と、を備え、前記弁体は、前記流入口側に開口した凹部を有する。
【0007】
前記弁体は、前記凹部から前記弁体の外周面に貫通する孔部を備え、前記流入口から流入した流体の圧力により前記弁体が摺動した場合に、前記孔部を介して前記流入口と前記流出口とが連通してもよい。
【0008】
前記弁体の摺動方向の複数箇所に前記孔部を備えていてもよい。
【0009】
前記孔部は、前記弁体の周方向の複数箇所に設けられた第1孔部と、前記第1孔部よりも前記流入口から離間した第2孔部と、を含んでいてもよい。
【0010】
前記第2孔部の総面積は、前記第1孔部の総面積よりも小さくてもよい。
(【0011】以降は省略されています)
この特許をJ-PlatPat(特許庁公式サイト)で参照する
関連特許
個人
留め具
1か月前
個人
鍋虫ねじ
2か月前
個人
ホース保持具
7か月前
個人
紛体用仕切弁
2か月前
個人
回転伝達機構
3か月前
個人
差動歯車用歯形
5か月前
個人
トーションバー
7か月前
個人
ジョイント
2か月前
個人
給排気装置
1か月前
個人
地震の揺れ回避装置
4か月前
個人
ボルトナットセット
8か月前
株式会社不二工機
電磁弁
4か月前
株式会社不二工機
電磁弁
6か月前
個人
ナット
2か月前
個人
ナット
18日前
個人
吐出量監視装置
2か月前
個人
ゲート弁バルブ
3日前
カヤバ株式会社
緩衝器
8か月前
カヤバ株式会社
ダンパ
5か月前
兼工業株式会社
バルブ
19日前
カヤバ株式会社
緩衝器
4か月前
カヤバ株式会社
緩衝器
4か月前
柿沼金属精機株式会社
分岐管
3か月前
カヤバ株式会社
ダンパ
5か月前
カヤバ株式会社
緩衝器
1か月前
株式会社三協丸筒
枠体
8か月前
株式会社三五
ドライブシャフト
1か月前
株式会社ノーリツ
分配弁
6か月前
日東精工株式会社
樹脂被覆ねじ
8か月前
アズビル株式会社
回転弁
1か月前
株式会社不二工機
電動弁
7か月前
株式会社不二工機
電動弁
1か月前
株式会社タカギ
水栓装置
3か月前
株式会社不二工機
電磁弁
2か月前
株式会社奥村組
制振機構
1か月前
株式会社奥村組
制振機構
1か月前
続きを見る
他の特許を見る