TOP
|
特許
|
意匠
|
商標
特許ウォッチ
Twitter
他の特許を見る
10個以上の画像は省略されています。
公開番号
2025169809
公報種別
公開特許公報(A)
公開日
2025-11-14
出願番号
2024074951
出願日
2024-05-02
発明の名称
ヒンジ装置
出願人
株式会社ナチュラレーザ・ワン
代理人
個人
主分類
F16C
11/04 20060101AFI20251107BHJP(機械要素または単位;機械または装置の効果的機能を生じ維持するための一般的手段)
要約
【課題】ヒンジ動作およびリフト動作を円滑に動作させ、互いの動作が干渉しないヒンジ装置を実現する。
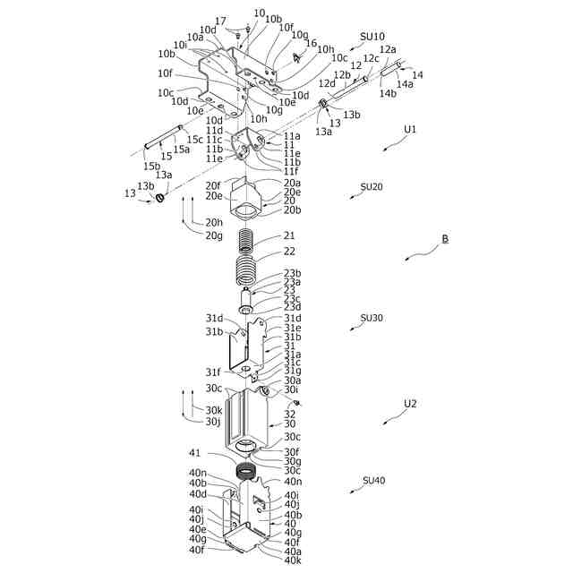
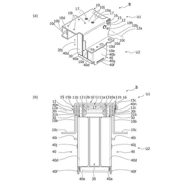
【解決手段】ヒンジユニットU1リフトユニットU2で構成され、リフトユニットはリフトフレーム40と、リフトフレームに囲まれ、リフトフレームに対して第1摺動面で摺動可能なスライドケース30と、リフトフレームに対して前記スライドケースを離間する方向に付勢するリフトバネ41を有し、ヒンジユニットはスライドケースに対して第2摺動面で摺動可能あり、リフトフレームとの摺動面を有さないスライダ20と、前記スライドケースに対してヒンジ回転中心まわりに回転可能に支持されるアームブラケット10と、前記スライドケースに対して前記スライダを離間する方向に付勢することで前記アームブラケットを回転付勢するヒンジバネ21,22とを有するものとし、前記リフトフレームと前記スライドケースの間の摺動抵抗を個別に調整可能にした。
【選択図】図3
特許請求の範囲
【請求項1】
機器本体に対して蓋体を開閉可能に連結するヒンジ装置であって、
ヒンジユニットとリフトユニットで構成され、
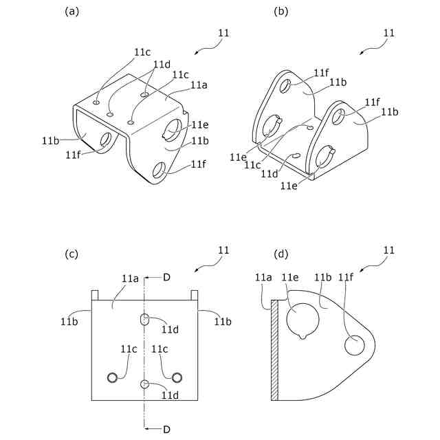
前記リフトユニットはリフトフレームと、前記リフトフレームに囲まれ、前記リフトフレームに対して第1摺動面で摺動可能なスライドケースと、前記リフトフレームに対して前記スライドケースを離間する方向に付勢するリフトバネを有し、
前記ヒンジユニットは前記スライドケースに囲まれ、前記スライドケースに対して第2摺動面で摺動可能あり、前記リフトフレームとの摺動面を有さないスライダと、前記スライドケースに対してヒンジ回転中心まわりに回転可能に支持されるアームブラケットと、前記スライドケースに対して前記スライダを離間する方向に付勢することで前記アームブラケットを回転付勢するヒンジバネとを有するものとし、
前記リフトフレームと前記スライドケースの間の摺動抵抗と、前記スライドケースと前記スライダの間の摺動抵抗を個別に調整可能にしたことを特徴とするヒンジ装置。
続きを表示(約 580 文字)
【請求項2】
前記第1摺動面と前記第2摺動面の摺動抵抗を異ならせることを特徴とする請求項1記載のヒンジ装置。
【請求項3】
前記第1摺動面の摺動抵抗より前記第2摺動面の摺動抵抗を小さくしたことを特徴とする請求項2記載のヒンジ装置。
【請求項4】
前記リフトフレームは金属部材を形成し、前記スライドケースを樹脂部材で形成することで前記第1摺動面は金属面と樹脂面で対向し、前記スライダを樹脂部材で形成することで前記第2摺動面は樹脂面同士で対向していることを特徴とする請求項3記載のヒンジ装置。
【請求項5】
前記リフトフレームと前記スライドケースの嵌合を前記スライドケースと前記スライダの嵌合よりゆるくしたことを特徴とする請求項3記載のヒンジ装置。
【請求項6】
前記スライドケースは外周に突出したケースフレーム軸を有し、前記リフトフレームは前記ケースフレーム軸を支持するフレームケース軸受を有し、前記スライドケースは前記リフトフレームに着脱可能である事を特徴とする請求項1記載のヒンジ装置。
【請求項7】
前記リフトフレームに設けられた前記機器本体との取付孔側に前記リフトユニットの動作を規制するリフト規制部材を着脱可能に設けたことを特徴とする請求項6記載のヒンジ装置。
発明の詳細な説明
【技術分野】
【0001】
本発明は、機器本体と蓋体を開閉可能に連結するヒンジ装置に関し、特に、複合機などにおいて厚い原稿を複写するときに利用されるリフト機構に関する。
続きを表示(約 1,300 文字)
【背景技術】
【0002】
複合機などの事務機器は、機器本体の上面部に原稿読取用のコンタクトガラスを有し、コンタクトガラスを覆う原稿圧着板(蓋体)がヒンジ装置を介して機器本体に対し開閉可能となっている。そして、ヒンジ装置には開閉を行うヒンジユニットばかりではなく、厚い原稿を機器本体と蓋体の間に挟むためにヒンジユニットを昇降させるリフトユニットが設けられている。
【0003】
特許文献1には複合機の本体に差し込まれた部材が昇降するヒンジ装置が開示されている。
【先行技術文献】
【特許文献】
【0004】
特開2016―136218公報
【発明の概要】
【発明が解決しようとする課題】
【0005】
特許文献1ではヒンジユニットの開閉とリフトユニットの昇降に同一部材の摺動面を用いている。そのため円滑なヒンジ動作およびリフト動作を両立させることが難しい。また摩耗などにより一方の動作が不安定になったときには他方の動作も不安定になる。
そこで、本発明では、ヒンジ動作およびリフト動作を円滑に動作させ、互いの動作が干渉しないヒンジ装置の実現を目的としている。
【課題を解決するための手段】
【0006】
上記課題を解決するために、本願請求項1に記載の発明は、機器本体に対して蓋体を開閉可能に連結するヒンジ装置において、ヒンジユニットとリフトユニットで構成され、前記リフトユニットはリフトフレームと、前記リフトフレームに囲まれ、前記リフトフレームに対して第1摺動面で摺動可能なスライドケースと、前記リフトフレームに対して前記スライドケースを離間する方向に付勢するリフトバネを有し、前記ヒンジユニットは前記スライドケースに囲まれ、前記スライドケースに対して第2摺動面で摺動可能あり、前記リフトフレームとの摺動面を有さないスライダと、前記スライドケースに対してヒンジ回転中心まわりに回転可能に支持されるアームブラケットと、前記スライドケースに対して前記スライダを離間する方向に付勢することで前記アームブラケットを回転付勢するヒンジバネとを有するものとし、前記リフトフレームと前記スライドケースの間の摺動抵抗と、前記スライドケースと前記スライダの間の摺動抵抗を個別に調整可能にしたことを特徴とする。
【0007】
次に、本願請求項2発明は、前記第1摺動面と前記第2摺動面の摺動抵抗を異ならせることを特徴とする。
【0008】
次に、本願請求項3発明は、前記第1摺動面の摺動抵抗より前記第2摺動面の摺動抵抗を小さくしたことを特徴とする。
【0009】
次に、本願請求項4発明は、前記リフトフレームは金属部材を形成し、前記スライドケースを樹脂部材で形成することで前記第1摺動面は金属面と樹脂面で対向し、前記スライダを樹脂部材で形成することで前記第2摺動面は樹脂面同士で対向していることを特徴とする。
【0010】
次に、本願請求項5発明は、前記リフトフレームと前記スライドケースの嵌合を前記スライドケースと前記スライダの嵌合よりゆるくしたことを特徴とする。
(【0011】以降は省略されています)
この特許をJ-PlatPat(特許庁公式サイト)で参照する
関連特許
個人
留め具
1か月前
個人
鍋虫ねじ
2か月前
個人
回転伝達機構
3か月前
個人
紛体用仕切弁
2か月前
個人
ホース保持具
7か月前
個人
トーションバー
7か月前
個人
差動歯車用歯形
4か月前
個人
ジョイント
1か月前
個人
給排気装置
1か月前
個人
地震の揺れ回避装置
3か月前
個人
ナット
11日前
株式会社不二工機
電磁弁
6か月前
株式会社不二工機
電磁弁
4か月前
個人
ナット
1か月前
個人
吐出量監視装置
2か月前
カヤバ株式会社
ダンパ
4か月前
カヤバ株式会社
ダンパ
4か月前
カヤバ株式会社
緩衝器
1か月前
柿沼金属精機株式会社
分岐管
3か月前
カヤバ株式会社
緩衝器
4か月前
兼工業株式会社
バルブ
12日前
カヤバ株式会社
緩衝器
4か月前
日東電工株式会社
断熱材
7か月前
株式会社三五
ドライブシャフト
25日前
個人
固着具と固着具の固定方法
7か月前
株式会社ノーリツ
分配弁
6か月前
株式会社ノーリツ
分配弁
6か月前
株式会社ノーリツ
分配弁
1か月前
株式会社ノーリツ
分配弁
6か月前
株式会社タカギ
水栓装置
3か月前
株式会社不二工機
電磁弁
2か月前
株式会社フジキン
ボールバルブ
5か月前
株式会社不二工機
電動弁
1か月前
株式会社奥村組
制振機構
1か月前
株式会社奥村組
制振機構
1か月前
個人
固着具と固着具の固定方法
5か月前
続きを見る
他の特許を見る