TOP
|
特許
|
意匠
|
商標
特許ウォッチ
Twitter
他の特許を見る
10個以上の画像は省略されています。
公開番号
2025167401
公報種別
公開特許公報(A)
公開日
2025-11-07
出願番号
2024071961
出願日
2024-04-25
発明の名称
半導体装置およびその製造方法
出願人
株式会社デンソー
代理人
弁理士法人ゆうあい特許事務所
主分類
H10D
1/47 20250101AFI20251030BHJP()
要約
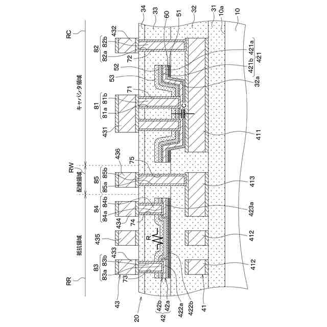
【課題】コンタクトホールに配置される電極と抵抗との接続不良が発生することを抑制する。
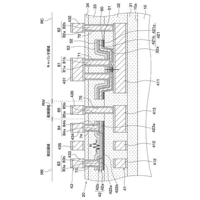
【解決手段】配線層20は、接続配線413と、接続配線413より厚さが薄くされた抵抗配線422bを含んで構成される抵抗Rとを有し、接続配線413を露出させる接続配線用コンタクトホール75に接続配線413と接続される電極85が配置され、抵抗Rを露出させる抵抗用コンタクトホール73、74に抵抗Rと接続される電極83、84が配置され、抵抗Rは、導電性材料で構成され、抵抗用コンタクトホール72、73が形成される部分に配置されたストッパ配線422a、423aと、ストッパ配線422a、424a上に配置された抵抗配線422bとを含んで構成され、抵抗Rのうちの抵抗用コンタクトホール72、73が形成される部分上には、絶縁膜32~34と異なる材料で構成されたストッパ層52が配置されるようにする。
【選択図】図1
特許請求の範囲
【請求項1】
半導体装置であって、
一面(10a)を有する基板(10)と、
前記一面上に配置され、複数の絶縁膜(31~34)と複数の配線部(41~43)とが交互に積層された部分を有する配線層(20)と、を備え、
前記配線層は、接続配線(413)と、前記接続配線より厚さが薄くされると共に前記接続配線が配置される前記絶縁膜と異なる絶縁膜上に配置された抵抗配線(422b)を含んで構成される抵抗(R)とを有し、前記接続配線を露出させる接続配線用コンタクトホール(75)が形成されていると共に前記接続配線用コンタクトホールに前記接続配線と接続される電極(85)が配置され、前記抵抗を露出させ、前記接続配線用コンタクトホールと深さが異なる抵抗用コンタクトホール(73、74)が形成されていると共に前記抵抗用コンタクトホールに前記抵抗と接続される電極(83、84)が配置されており、
前記抵抗は、導電性材料で構成され、前記抵抗用コンタクトホールが形成される部分に配置されたストッパ配線(422a、423a、424a)と、前記ストッパ配線上に配置された前記抵抗配線とを含んで構成され、
前記抵抗のうちの前記抵抗用コンタクトホールが形成される部分上には、前記絶縁膜と異なる材料で構成されたストッパ層(52)が配置されている半導体装置。
続きを表示(約 2,200 文字)
【請求項2】
前記抵抗配線および前記ストッパ配線は、抵抗温度係数の符号が逆である材料で構成されている請求項1に記載の半導体装置。
【請求項3】
前記抵抗は、酸化防止膜上(51)に配置され、
前記抵抗配線および前記ストッパ配線は、前記抵抗配線の抵抗温度係数の絶対値が前記ストッパ配線の抵抗温度係数の絶対値より小さい材料で構成され、
前記ストッパ配線は、分離して配置された第1ストッパ配線(422a)および第2ストッパ配線(423a)を有し、
前記抵抗配線は、前記第1ストッパ配線上および前記第2ストッパ配線上に配置されると共に、前記第1ストッパ配線と前記第2ストッパ配線との間では前記酸化防止膜上に配置されており、前記ストッパ配線よりも面積が大きくされている請求項2に記載の半導体装置。
【請求項4】
前記ストッパ配線は、繋がって形成され、
前記抵抗配線は、前記ストッパ配線上の全体に形成されている請求項2に記載の半導体装置。
【請求項5】
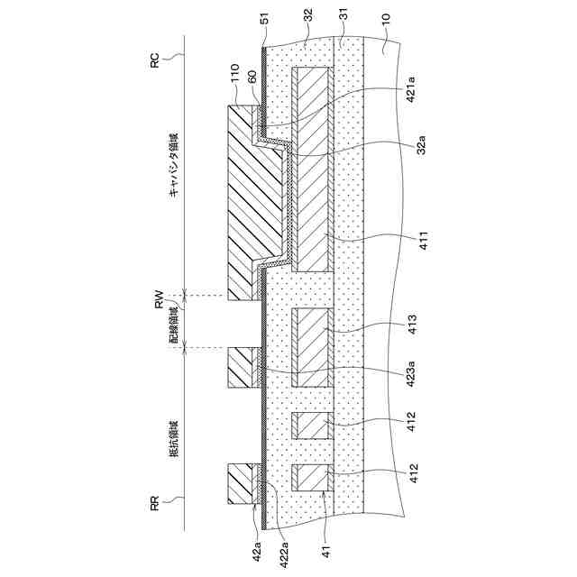
前記配線層は、前記複数の配線部のうちの前記絶縁膜と前記配線部との積層方向において対向する2つの前記配線部において、前記基板側の配線部を下部電極(411)とすると共に前記基板側と反対側の配線部を上部電極(421)とし、前記上部電極と前記下部電極との間に容量膜(60)を有するキャパシタ(C)を有し、
前記上部電極は、前記ストッパ配線と同じ材料で構成される第1上部電極(421a)と、前記抵抗配線と同じ材料で構成される第2上部電極(421b)とが積層されて構成されている請求項1に記載の半導体装置。
【請求項6】
前記ストッパ配線と前記第1上部電極における外縁端部とは、同一面上に位置しており、
前記抵抗配線と前記第2上部電極における外縁端部とは、同一面上に位置しており、
前記上部電極上には、前記ストッパ層が配置されている請求項5に記載の半導体装置。
【請求項7】
前記第1上部電極および前記第2上部電極は、外縁端部が前記積層方向において揃っている請求項5または6に記載の半導体装置。
【請求項8】
前記下部電極は、前記抵抗が配置される前記絶縁膜と異なる前記絶縁膜上に配置されている請求項5または6に記載の半導体装置。
【請求項9】
前記抵抗用コンタクトホールは、前記接続配線用コンタクトホールよりも深さが浅くされている請求項1に記載の半導体装置。
【請求項10】
一面(10a)を有する基板(10)と、
前記一面上に配置され、複数の絶縁膜(31~34)と複数の配線部(41~43)とが交互に積層された部分を有する配線層(20)と、を備え、
前記配線層は、接続配線(413)と、前記接続配線より厚さが薄くされると共に前記接続配線が配置される前記絶縁膜と異なる絶縁膜上に配置された抵抗配線(422b)を含んで構成される抵抗(R)とを有し、前記接続配線を露出させる接続配線用コンタクトホール(75)が形成されていると共に前記接続配線用コンタクトホールに前記接続配線と接続される電極(85)が配置され、前記抵抗を露出させ、前記接続配線用コンタクトホールと深さが異なる抵抗用コンタクトホール(73、74)が形成されていると共に前記抵抗用コンタクトホールに前記抵抗と接続される電極(83、84)が配置されており、
前記抵抗は、導電性材料で構成され、前記抵抗用コンタクトホールが形成される部分に配置されたストッパ配線(422a、423a、424a)と、前記ストッパ配線上に配置された前記抵抗配線とを含んで構成され、
前記抵抗のうちの前記抵抗用コンタクトホールが形成される部分上には、前記絶縁膜と異なる材料で構成されたストッパ層(52)が配置されている半導体装置の製造方法であって、
前記一面を有する前記基板を用意することと、
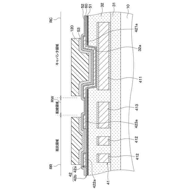
前記絶縁膜を形成することと前記配線部を形成することとを繰り返し行うことと、前記抵抗用コンタクトホールおよび前記接続配線用コンタクトホールを同時に形成することと、を行って前記配線層を形成することと、を行い、
前記配線層を形成することでは、
前記接続配線を形成することと、前記接続配線が配置される前記絶縁膜と異なる前記絶縁膜上に前記ストッパ配線および前記抵抗配線を配置することと、前記抵抗配線上に前記ストッパ層を配置することと、を行い、
前記抵抗用コンタクトホールおよび前記接続配線用コンタクトホールを形成することの際、前記ストッパ層をエッチングストッパ層とし、前記ストッパ層に達する前記抵抗用コンタクトホールを形成すると共に前記接続配線に達する前記接続配線用コンタクトホールを形成する第1ドライエッチングを行うことと、前記ストッパ層を貫通して前記抵抗用コンタクトホールが前記抵抗配線に達するように、前記抵抗用コンタクトホールを掘り下げる第2ドライエッチングを行うことと、前記抵抗用コンタクトホールから露出する抵抗配線、および前記接続配線用コンタクトホールから露出する前記接続配線に対して逆スパッタ法を行うことと、を行う半導体装置の製造方法。
発明の詳細な説明
【技術分野】
【0001】
本開示は、半導体装置およびその製造方法に関するものである。
続きを表示(約 2,400 文字)
【背景技術】
【0002】
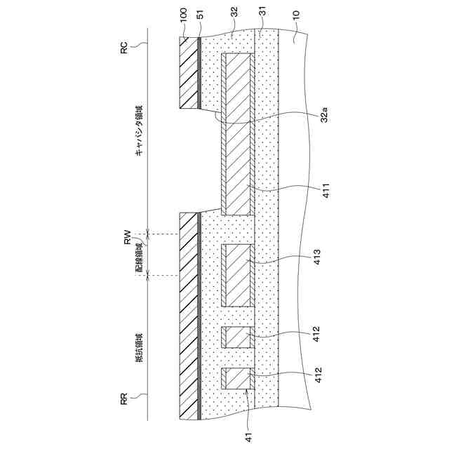
従来より、例えば、特許文献1には、基板上に配線層を配置した半導体装置が提案されている。具体的には、この半導体装置における配線層は、絶縁膜と配線部とが交互に積層された部分を有するように構成されている。そして、配線部は、接続配線と、接続配線が配置される絶縁膜と異なる絶縁膜上に配置され、接続配線よりも厚さが薄くされた抵抗配線で構成される抵抗とを有している。
【0003】
そして、配線層には、接続配線を露出させるコンタクトホールおよび抵抗配線を露出させるコンタクトホールが形成されており、各コンタクトホールには、接続配線や抵抗配線と接続される電極が埋め込まれている。なお、接続配線を露出させるコンタクトホールと抵抗配線を露出させるコンタクトホールは、接続配線が配置される絶縁膜と抵抗配線が配置される絶縁膜とが異なっているため、深さが異なっている。
【先行技術文献】
【特許文献】
【0004】
特開2019-186407号公報
【発明の概要】
【発明が解決しようとする課題】
【0005】
ところで、上記のような半導体装置において、本発明者らは、深さの異なる、接続配線を露出させるコンタクトホールと、抵抗配線を露出させるコンタクトホールとを同時に形成することを検討している。しかしながら、深さの異なるコンタクトホールを同時に形成しようとすると、抵抗を構成する薄い抵抗配線をコンタクトホールが貫通し、コンタクトホールに配置される電極と抵抗配線との接続不良が発生する可能性がある。
【0006】
本開示は、異なる深さのコンタクトホールを同時に形成した際、コンタクトホールに配置される電極と抵抗との接続不良が発生することを抑制できる半導体装置およびその製造方法を提供することを目的とする。
【課題を解決するための手段】
【0007】
本開示の1つの観点によれば、半導体装置は、一面(10a)を有する基板(10)と、一面上に配置され、複数の絶縁膜(31~34)と複数の配線部(41~43)とが交互に積層された部分を有する配線層(20)と、を備え、配線層は、接続配線(413)と、接続配線より厚さが薄くされると共に接続配線が配置される絶縁膜と異なる絶縁膜上に配置された抵抗配線(422b)を含んで構成される抵抗(R)とを有し、接続配線を露出させる接続配線用コンタクトホール(75)が形成されていると共に接続配線用コンタクトホールに接続配線と接続される電極(85)が配置され、抵抗を露出させ、接続配線用コンタクトホールと深さが異なる抵抗用コンタクトホール(73、74)が形成されていると共に抵抗用コンタクトホールに抵抗と接続される電極(83、84)が配置されており、抵抗は、導電性材料で構成され、抵抗用コンタクトホールが形成される部分に配置されたストッパ配線(422a、423a、424a)と、ストッパ配線上に配置された抵抗配線とを含んで構成され、抵抗のうちの抵抗用コンタクトホールが形成される部分上には、絶縁膜と異なる材料で構成されたストッパ層(52)が配置されている。
【0008】
これによれば、抵抗のうちの抵抗用コンタクトホールに配置される電極と接続される部分は、ストッパ配線および抵抗配線とが積層されて構成されている。そして、抵抗配線上には、ストッパ層が配置されている。このため、深さの異なる抵抗用コンタクトホールおよび接続配線用コンタクトホールを同時に形成しても、抵抗用コンタクトホールが抵抗を貫通することを抑制できる。したがって、抵抗用コンタクトホールに配置される電極と抵抗との接続不良が発生することを抑制できる。
【0009】
本開示の別の観点によれば、上記の半導体装置の製造方法では、一面を有する基板を用意することと、絶縁膜を形成することと配線部を形成することとを繰り返し行うことと、抵抗用コンタクトホールおよび接続配線用コンタクトホールを同時に形成することと、を行って配線層を形成することと、を行い、配線層を形成することでは、接続配線を形成することと、接続配線が配置される絶縁膜と異なる絶縁膜上にストッパ配線および抵抗配線を配置することと、抵抗配線上にストッパ層を配置することと、を行い、抵抗用コンタクトホールおよび接続配線用コンタクトホールを形成することの際、ストッパ層をエッチングストッパ層とし、ストッパ層に達する抵抗用コンタクトホールを形成すると共に接続配線に達する接続配線用コンタクトホールを形成する第1ドライエッチングを行うことと、ストッパ層を貫通して抵抗用コンタクトホールが抵抗配線に達するように、抵抗用コンタクトホールを掘り下げる第2ドライエッチングを行うことと、抵抗用コンタクトホールから露出する抵抗配線、および接続配線用コンタクトホールから露出する接続配線に対して逆スパッタ法を行うことと、を行う。
【0010】
これによれば、抵抗のうちの抵抗用コンタクトホールに配置される電極と接続される部分は、ストッパ配線および抵抗配線とが積層されて構成されている。そして、抵抗配線上には、ストッパ層が配置されている。このため、第1ドライエッチングを行う際にはストッパ層をエッチングストッパとし、逆スパッタ法を行う際にはストッパ配線をストッパとすることにより、深さの異なる抵抗用コンタクトホールおよび接続配線用コンタクトホールを同時に形成することができる。したがって、抵抗用コンタクトホールに配置される電極と抵抗との接続不良が発生することを抑制できる。
(【0011】以降は省略されています)
この特許をJ-PlatPat(特許庁公式サイト)で参照する
関連特許
個人
積和演算用集積回路
3日前
サンケン電気株式会社
半導体装置
2日前
旭化成株式会社
発光素子
12日前
エイブリック株式会社
縦型ホール素子
26日前
エイブリック株式会社
縦型ホール素子
26日前
ローム株式会社
抵抗チップ
17日前
株式会社半導体エネルギー研究所
表示装置
26日前
三菱電機株式会社
半導体装置
11日前
富士電機株式会社
半導体装置
23日前
ローム株式会社
半導体集積回路
11日前
日亜化学工業株式会社
発光装置
12日前
ローム株式会社
半導体装置
18日前
ローム株式会社
窒化物半導体装置
17日前
富士電機株式会社
半導体装置の製造方法
25日前
ローム株式会社
半導体装置
16日前
ローム株式会社
窒化物半導体装置
26日前
株式会社半導体エネルギー研究所
発光デバイス
10日前
ローム株式会社
半導体装置
2日前
大日本印刷株式会社
太陽電池
19日前
株式会社カネカ
太陽電池モジュール
1か月前
日亜化学工業株式会社
発光素子
2日前
サンケン電気株式会社
発光装置
1か月前
日亜化学工業株式会社
発光素子
2日前
日亜化学工業株式会社
発光装置
4日前
日亜化学工業株式会社
発光装置
11日前
ローム株式会社
RAM
1か月前
今泉工業株式会社
光発電装置及びその製造方法
16日前
ローム株式会社
光センサ
24日前
日本ゼオン株式会社
構造体
4日前
株式会社東芝
半導体装置及びウエーハ
11日前
ローム株式会社
半導体装置
1か月前
住友電気工業株式会社
炭化珪素半導体装置
13日前
住友電気工業株式会社
炭化珪素半導体装置
13日前
日亜化学工業株式会社
発光装置の製造方法及び発光装置
11日前
ローム株式会社
半導体装置
2日前
株式会社Gaianixx
積層構造体及び電子デバイス
26日前
続きを見る
他の特許を見る