TOP
|
特許
|
意匠
|
商標
特許ウォッチ
Twitter
他の特許を見る
10個以上の画像は省略されています。
公開番号
2025167051
公報種別
公開特許公報(A)
公開日
2025-11-07
出願番号
2024071334
出願日
2024-04-25
発明の名称
表示装置
出願人
株式会社Magnolia White
代理人
弁理士法人スズエ国際特許事務所
主分類
H10K
59/122 20230101AFI20251030BHJP()
要約
【課題】 歩留まりの改善が可能な表示装置を提供する。
【解決手段】 実施形態によれば、表示装置は、複数の画素を含む表示領域と、前記複数の画素にそれぞれ配置され、電圧の印加に応じて発光する有機層を含む複数の表示素子と、複数のダミー画素を含み、前記表示領域の外側に位置するダミー画素領域と、導電性の下部と前記下部の側面から突出した端部を有する上部とを含み、前記複数の画素および前記複数のダミー画素の各々を囲う隔壁と、を備えている。前記隔壁は、前記ダミー画素領域の外側に位置する外周部分を有し、前記表示領域および前記ダミー画素領域を通って前記外周部分に至るスリットにより複数のセグメントに分断されている。
【選択図】 図5
特許請求の範囲
【請求項1】
複数の画素を含む表示領域と、
前記複数の画素にそれぞれ配置され、電圧の印加に応じて発光する有機層を含む複数の表示素子と、
複数のダミー画素を含み、前記表示領域の外側に位置するダミー画素領域と、
導電性の下部と、前記下部の側面から突出した端部を有する上部とを含み、前記複数の画素および前記複数のダミー画素の各々を囲う隔壁と、
を備え、
前記隔壁は、前記ダミー画素領域の外側に位置する外周部分を有し、前記表示領域および前記ダミー画素領域を通って前記外周部分に至るスリットにより複数のセグメントに分断されている、
表示装置。
続きを表示(約 820 文字)
【請求項2】
前記外周部分における前記スリットの長さは、前記スリットの延出方向における前記画素の幅以上である、
請求項1に記載の表示装置。
【請求項3】
前記外周部分における前記スリットの長さは、前記延出方向における前記画素の幅の2倍以上である、
請求項2に記載の表示装置。
【請求項4】
前記スリットは、前記表示領域において第1幅を有し、前記外周部分の少なくとも一部において前記第1幅よりも大きい第2幅を有している、
請求項1に記載の表示装置。
【請求項5】
前記スリットは、
前記外周部分に位置し、前記第2幅を有する拡幅部分と、
前記外周部分において前記拡幅部分と前記ダミー画素領域の間に位置し、前記第2幅よりも小さい第3幅を有する狭幅部分と、
を含む、
請求項4に記載の表示装置。
【請求項6】
前記第3幅は、前記第1幅と同等である、
請求項5に記載の表示装置。
【請求項7】
前記隔壁は、前記スリットを横切って前記複数のセグメントを接続する接続部分をさらに含む、
請求項1に記載の表示装置。
【請求項8】
前記スリットの少なくとも一端は、前記外周部分の外縁に達している、
請求項1に記載の表示装置。
【請求項9】
前記スリットの両端は、前記外周部分の前記外縁に達している、
請求項8に記載の表示装置。
【請求項10】
無機絶縁材料で形成され、前記複数の表示素子をそれぞれ覆う複数の封止層をさらに備え、
前記複数の封止層の少なくとも一つは、前記スリットの少なくとも一部と平面視において重なっている、
請求項1乃至9のうちいずれか1項に記載の表示装置。
(【請求項11】以降は省略されています)
発明の詳細な説明
【技術分野】
【0001】
本発明の実施形態は、表示装置に関する。
続きを表示(約 2,600 文字)
【背景技術】
【0002】
近年、表示素子として有機発光ダイオード(OLED)を適用した表示装置が実用化されている。この種の表示装置において、歩留まりを改善するための技術が必要とされている。
【先行技術文献】
【特許文献】
【0003】
特開2000-195677号公報
特開2004-207217号公報
特開2008-135325号公報
特開2009-32673号公報
特開2010-118191号公報
国際公開第2018/179308号
米国特許出願公開第2022/0077251号明細書
【発明の概要】
【発明が解決しようとする課題】
【0004】
本発明は、歩留まりの改善が可能な表示装置を提供することを目的の一つとする。
【課題を解決するための手段】
【0005】
概して、実施形態によれば、表示装置は、複数の画素を含む表示領域と、前記複数の画素にそれぞれ配置され、電圧の印加に応じて発光する有機層を含む複数の表示素子と、複数のダミー画素を含み、前記表示領域の外側に位置するダミー画素領域と、導電性の下部と前記下部の側面から突出した端部を有する上部とを含み、前記複数の画素および前記複数のダミー画素の各々を囲う隔壁と、を備えている。前記隔壁は、前記ダミー画素領域の外側に位置する外周部分を有し、前記表示領域および前記ダミー画素領域を通って前記外周部分に至るスリットにより複数のセグメントに分断されている。
【0006】
実施形態の他の観点によれば、複数の画素を含む表示領域と、前記複数の画素にそれぞれ配置され、電圧の印加に応じて発光する有機層を含む複数の表示素子と、導電性の下部と前記下部の側面から突出した端部を有する上部とを含み、前記複数の画素の各々を囲う隔壁と、を備えている。前記隔壁は、前記表示領域の外側に位置する外周部分を有し、前記表示領域を通って前記外周部分に至るスリットにより複数のセグメントに分断されている。前記スリットは、前記表示領域において第1幅を有し、前記外周部分の少なくとも一部において前記第1幅よりも大きい第2幅を有している。
【図面の簡単な説明】
【0007】
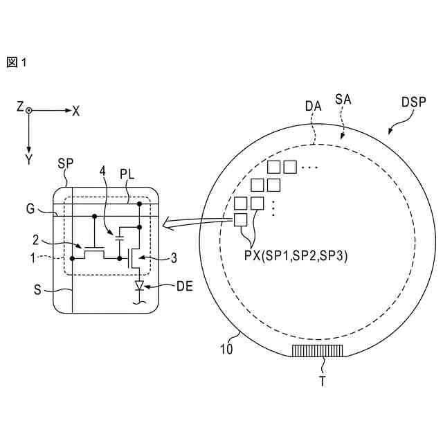
図1は、第1実施形態に係る表示装置の構成例を示す図である。
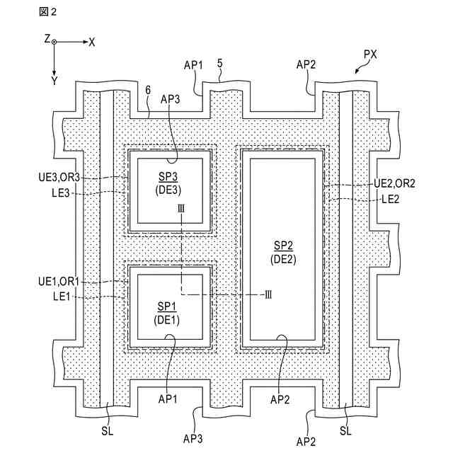
図2は、副画素のレイアウトの一例を示す概略的な平面図である。
図3は、図2中のIII-III線に沿う表示装置の概略的な断面図である。
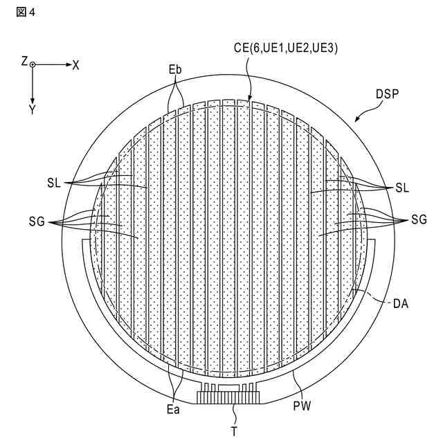
図4は、表示装置の一部の要素を示す概略的な平面図である。
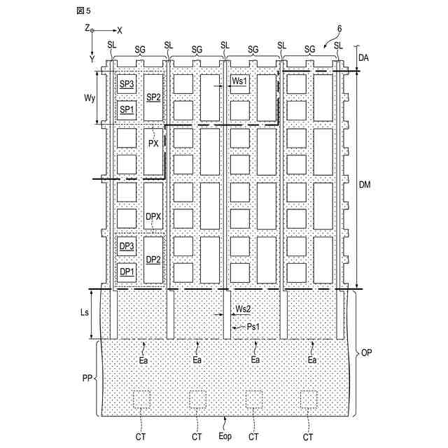
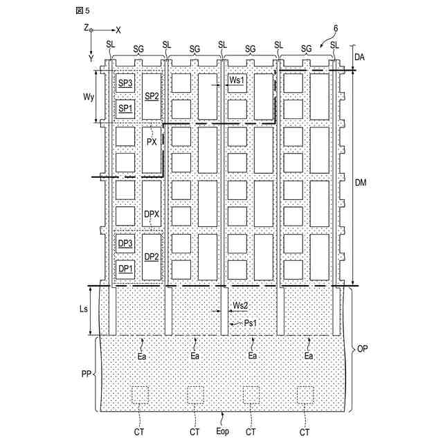
図5は、第1実施形態に係る隔壁に適用可能な構成の一例を示す概略的な平面図である。
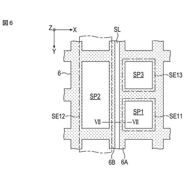
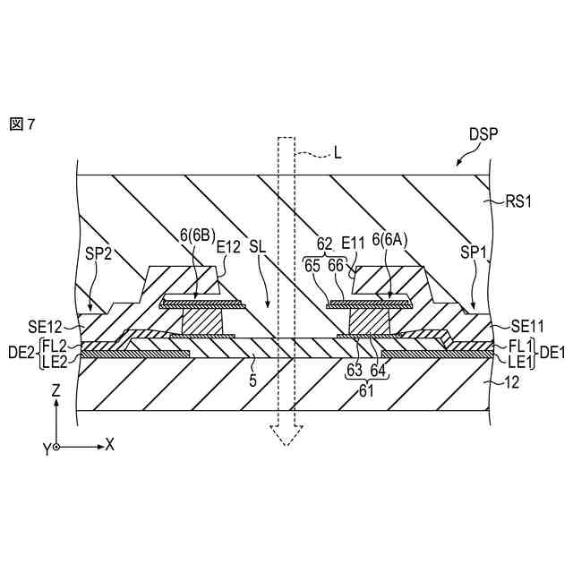
図6は、第1実施形態に係る封止層とスリットの関係の一例を示す概略的な平面図である。
図7は、図6におけるVII-VII線に沿う表示装置の概略的な断面図である。
図8は、表示装置の製造方法の一例を示すフローチャートである。
図9Aは、表示装置の製造工程を示す概略的な断面図である。
図9Bは、図9Aに続く工程を示す概略的な断面図である。
図9Cは、図9Bに続く工程を示す概略的な断面図である。
図9Dは、図9Cに続く工程を示す概略的な断面図である。
図9Eは、図9Dに続く工程を示す概略的な断面図である。
図9Fは、図9Eに続く工程を示す概略的な断面図である。
図9Gは、図9Fに続く工程を示す概略的な断面図である。
図9Hは、図9Gに続く工程を示す概略的な断面図である。
図9Iは、図9Hに続く工程を示す概略的な断面図である。
図9Jは、図9Iに続く工程を示す概略的な断面図である。
図10は、第1実施形態に係る表示装置の効果を説明するための図である。
図11は、第1実施形態に係る表示装置の効果を説明するための図である。
図12は、第1実施形態との比較例に係る構成の概略的な断面図である。
図13は、第1実施形態との比較例に係る隔壁の概略的な平面図である。
図14は、第2実施形態に係る構成を示す概略的な平面図である。
図15は、第3実施形態に係る構成を示す概略的な平面図である。
図16は、第4実施形態に係る構成を示す概略的な平面図である。
図17は、第5実施形態に係る構成を示す概略的な平面図である。
図18は、図17におけるXVIII-XVIII線に沿う表示装置の概略的な断面図である。
図19は、第6実施形態に係る構成を示す概略的な平面図である。
図20は、第7実施形態に係る構成を示す概略的な平面図である。
【発明を実施するための形態】
【0008】
いくつかの実施形態について図面を参照しながら説明する。
開示はあくまで一例に過ぎず、当業者において、発明の主旨を保っての適宜変更について容易に想到し得るものについては、当然に本発明の範囲に含有されるものである。また、図面は、説明をより明確にするため、実際の態様に比べて、各部の幅、厚さ、形状等について模式的に表される場合があるが、あくまで一例であって、本発明の解釈を限定するものではない。また、本明細書と各図において、既出の図に関して前述したものと同一または類似した機能を発揮する構成要素には同一の参照符号を付し、重複する詳細な説明を適宜省略することがある。
【0009】
なお、図面には、必要に応じて理解を容易にするために、互いに直交するX軸、Y軸およびZ軸を記載する。X軸に沿った方向をX方向と称し、Y軸に沿った方向をY方向と称し、Z軸に沿った方向をZ方向と称する。Z方向は、X方向とY方向を含む平面の法線方向である。また、Z方向と平行に各種要素を見ることを平面視という。
【0010】
各実施形態に係る表示装置は、表示素子として有機発光ダイオード(OLED)を備える有機エレクトロルミネッセンス表示装置であり、テレビ、パーソナルコンピュータ、車載機器、タブレット端末、スマートフォン、携帯電話端末、ウェアラブル端末等の各種の電子機器に搭載され得る。
(【0011】以降は省略されています)
この特許をJ-PlatPat(特許庁公式サイト)で参照する
関連特許
個人
半導体装置
1か月前
個人
積和演算用集積回路
3日前
サンケン電気株式会社
半導体装置
2日前
東レ株式会社
太陽電池モジュール
1か月前
エイブリック株式会社
縦型ホール素子
26日前
エイブリック株式会社
縦型ホール素子
26日前
旭化成株式会社
発光素子
12日前
富士通株式会社
半導体装置
1か月前
ローム株式会社
抵抗チップ
17日前
ローム株式会社
半導体装置
1か月前
株式会社半導体エネルギー研究所
表示装置
26日前
富士電機株式会社
半導体装置
23日前
三菱電機株式会社
半導体装置
11日前
三菱電機株式会社
半導体装置
1か月前
日亜化学工業株式会社
発光装置
12日前
日亜化学工業株式会社
発光装置
1か月前
日亜化学工業株式会社
発光素子
1か月前
ローム株式会社
半導体集積回路
11日前
TDK株式会社
圧電素子
1か月前
ローム株式会社
窒化物半導体装置
26日前
ローム株式会社
半導体装置
16日前
ローム株式会社
窒化物半導体装置
17日前
富士電機株式会社
半導体装置の製造方法
25日前
ローム株式会社
半導体装置
2日前
株式会社半導体エネルギー研究所
発光デバイス
10日前
サンケン電気株式会社
半導体装置
1か月前
デクセリアルズ株式会社
受光装置
1か月前
ローム株式会社
半導体装置
18日前
沖電気工業株式会社
発光装置及び表示装置
1か月前
株式会社カネカ
太陽電池モジュール
1か月前
大日本印刷株式会社
太陽電池
19日前
内山工業株式会社
太陽電池
1か月前
日亜化学工業株式会社
発光素子
2日前
キオクシア株式会社
記憶装置
1か月前
株式会社MARUWA
発光装置及び照明器具
1か月前
サンケン電気株式会社
発光装置
1か月前
続きを見る
他の特許を見る