TOP
|
特許
|
意匠
|
商標
特許ウォッチ
Twitter
他の特許を見る
10個以上の画像は省略されています。
公開番号
2025166083
公報種別
公開特許公報(A)
公開日
2025-11-05
出願番号
2025132081,2021135986
出願日
2025-08-07,2021-08-24
発明の名称
評価システム、評価方法およびプログラム
出願人
株式会社リコー
代理人
弁理士法人MIP
主分類
G06Q
10/20 20230101AFI20251028BHJP(計算;計数)
要約
【課題】構造物の状態に対して、対策が可能な評価システム、評価方法およびプログラムを提供すること。
【解決手段】評価システム4は、構造物を計測した計測データに基づいて、構造物の状態を検出する検出手段の一例である検出部36と、計測データに基づいて、構造物の状態の評価結果を示す評価情報を生成する評価情報生成手段の一例である評価レポートを生成するレポート生成部38と、を備え、計測データは、構造物の周囲の物理量を示す周囲データを含んでおり、検出部36は、計測データに基づいて構造物の変状の予兆を検出し、レポート生成部38は、評価レポートに構造物の変状の予兆を示すデータを含めて生成する。
【選択図】図26
特許請求の範囲
【請求項1】
構造物の状態を評価する評価システムであって、
前記構造物を計測した計測データに基づいて、前記構造物の状態を検出する検出手段と、
前記計測データに基づいて、前記構造物の状態の評価結果を示す評価情報を生成する評価情報生成手段と、
を備え、
前記計測データは、前記構造物の周囲の物理量を示す周囲データを含んでおり、
前記検出手段は、前記計測データに基づいて前記構造物の変状の予兆を検出し、
前記評価情報生成手段は、前記評価情報に前記構造物の変状の予兆を示すデータを含めて生成する
評価システム。
続きを表示(約 870 文字)
【請求項2】
前記評価情報生成手段は、前記評価情報に前記計測データに基づき生成されたコメントを含む請求項1記載の評価システム。
【請求項3】
前記生成されたコメントを表示部に表示させる表示制御手段をさらに備える請求項1または2記載の評価システム。
【請求項4】
前記周囲データは、前記構造物以外の物体の計測データを含む請求項1~3の何れか記載の評価システム。
【請求項5】
前記構造物以外の物体は、湧水、土砂、岩石、および植物のうちの少なくとも1つである請求項4記載の評価システム。
【請求項6】
前記周囲データは、前記計測データに含まれる物体以外の物理量の計測データを含む請求項1~5の何れか記載の評価システム。
【請求項7】
前記物体以外の物理量の計測データは光の計測データである請求項6記載の評価システム。
【請求項8】
前記計測データは、前記構造物を撮影した撮影画像データを含む請求項1~7の何れか記載の評価システム。
【請求項9】
前記計測データは、前記構造物を三次元センサにより計測したセンサデータを含む請求項1~8の何れか記載の評価システム。
【請求項10】
構造物の状態を評価する評価システムが実行する評価方法であって、
前記構造物を計測した計測データに基づいて、前記構造物の状態を検出する検出ステップと、
前記計測データに基づいて、前記構造物の状態の評価結果を示す評価情報を生成する評価情報生成ステップと、
を実行し、
前記計測データは、前記構造物の周囲の物理量を示す周囲データを含んでおり、
前記検出ステップは、前記計測データに基づいて前記構造物の変状の予兆を検出する処理を含み、
前記評価情報生成ステップは、前記評価情報に前記構造物の変状の予兆を示すデータを含めて生成する処理を含む
評価方法。
(【請求項11】以降は省略されています)
発明の詳細な説明
【技術分野】
【0001】
本発明は、評価システム、評価方法およびプログラムに関する。
続きを表示(約 2,500 文字)
【背景技術】
【0002】
特許文献1(特開2016‐183934)には、撮影画像および撮影位置に基づく写真測量の成果を用いて法面1の状態を外観観察し、変状が認められたときにその状態および位置を特定する法面撮影装置が記載されている。
【先行技術文献】
【特許文献】
【0003】
特開2016‐183934号公報
【発明の概要】
【発明が解決しようとする課題】
【0004】
構造物の状態に対して、対策が可能な評価システム、評価方法およびプログラムを提供することを目的とする。
【課題を解決するための手段】
【0005】
本発明の請求項1に係る構造物の状態を評価する評価システムは、構造物を計測した計測データに基づいて、構造物の状態を検出する検出手段と、計測データに基づいて、構造物の状態の評価結果を示す評価情報を生成する評価情報生成手段と、を備え、計測データは、構造物の周囲の物理量を示す周囲データを含んでおり、検出手段は、計測データに基づいて構造物の変状の予兆を検出し、評価情報生成手段は、評価情報に構造物の変状の予兆を示すデータを含めて生成する。
【発明の効果】
【0006】
構造物の状態に対して、対策が可能な評価システム、評価方法およびプログラムを提供することができる。
【図面の簡単な説明】
【0007】
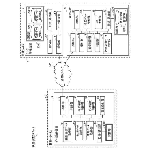
実施形態に係る状態検査システムの全体構成の一例を示す図である。
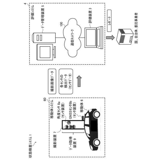
実施形態に係る移動体システムを用いて法面状態を検査する様子の一例を示す図である。
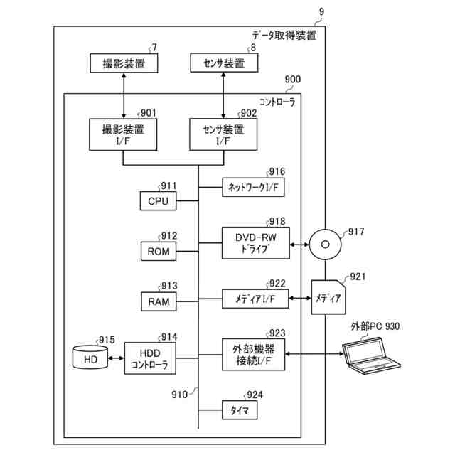
データ取得装置のハードウエア構成の一例を示す図である。
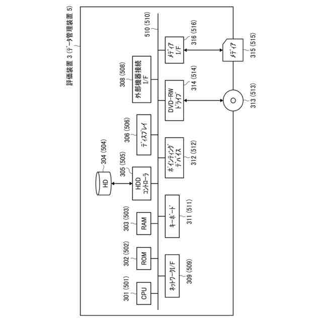
評価装置およびデータ管理装置のハードウエア構成の一例を示す図である。
状態検査システムの機能構成の一例を示す図である。
状態種別管理テーブルの一例を示す概念図である。
状態種別管理テーブルの一例を示す概念図である。
(A)は、取得データ管理テーブルに一例を示す概念図であり、(B)は、処理データ管理テーブルの一例を示す概念図である。
移動体システムを用いたデータ取得処理の一例を示すシーケンス図である。
移動体システムによって取得される撮影画像について説明するための図である。
評価対象データの生成処理の一例を示すシーケンス図である。
法面状態の評価結果であるレポートの生成処理の一例を示すシーケンス図である。
評価装置に表示された評価画面の一例を示す図である。
処理データが表示された評価画面の一例を示す図である。
法面状態の検出処理の一例を示すフローチャートである。
形状データの検出結果が表示された評価画面の一例を示す図である。
損傷検出結果を示す表示画面の一例を示す図である。
検出された法面の形状の断面画像の一例を示す図である。
地図情報の一例を示す図である。
地図情報と対応付けて記憶される現場情報の一例を示す図である。
評価装置によって生成された評価レポートの一例を示す図である。
評価装置によって生成された評価レポートの一例を示す図である。
評価装置によって生成された評価レポートの一例を示す図である。
損傷検出結果を示す表示画面の別の例を示す図である。
検出された法面の形状の断面画像の別の例を示す図である。
予兆検出結果を示す表示画面の例を示す図である。
予兆検出結果を含む評価レポートの一例を示す図である。
予兆検出結果を含む評価レポートの他の一例を示す図である。
変形例1に係る移動体システムを用いて法面状態を検査する様子の一例を示す図である。
変形例2に係る移動体システムを用いて法面状態を点検する様子の一例を示す図である。
変形例3に係る移動体システムを用いて法面状態を点検する様子の一例を示す図である。
変形例4に係る状態検査システムの全体構成の一例を示す図である。
変形例4に係る状態検査システムにおける評価データ表示処理の一例を示すシーケンス図である。
【発明を実施するための形態】
【0008】
以下、図面を参照しながら、発明を実施するための形態を説明する。なお、図面の説明において同一要素には同一符号を付し、重複する説明は省略する。
【0009】
●第1の実施形態●
●システムの概略
まず、図1および図2を用いて、状態検査システムの概略について説明する。図1は、実施形態に係る状態検査システムの全体構成の一例を示す図である。図1に示されている状態検査システム1は、移動体システム60によって取得された各種データを用いて、道路土工構造物の状態の検査を行うためのシステムである。道路土工構造物とは、道路を建設するために構築する土砂や岩石等の地盤材料を主材料として構成される構造物およびそれらに附帯する構造物の総称であり、切土・斜面安定施設、盛土、カルバートおよびこれらに類するものをいう。以下、道路土工構造物を法面と称する。
【0010】
状態検査システム1は、移動体システム60および評価システム4によって構成されている。移動体システム60は、データ取得装置9およびデータ取得装置9を搭載した車両等の移動体6によって構成されている。データ取得装置9は、構造物を計測する計測装置の例である撮影装置7、並びに角度センサ8aおよびGNSS(Global Navigation Satellite System:全球測位衛星システム)センサ8bを有している。GNSSは、GPS(Global Positioning System)または準天頂衛星(QZSS)等の衛星測位システムの総称である。
(【0011】以降は省略されています)
この特許をJ-PlatPat(特許庁公式サイト)で参照する
関連特許
株式会社リコー
移動体
1か月前
株式会社リコー
画像形成装置
19日前
株式会社リコー
画像形成装置
1日前
株式会社リコー
画像形成装置
10日前
株式会社リコー
服薬支援装置
1日前
株式会社リコー
画像形成装置
24日前
株式会社リコー
画像形成装置
16日前
株式会社リコー
画像形成装置
16日前
株式会社リコー
画像形成システム
1か月前
株式会社リコー
機器及び異常判定方法
24日前
株式会社リコー
画像形成装置及びシステム
22日前
株式会社リコー
画像形成装置、及び、機器
9日前
株式会社リコー
印刷装置および印刷システム
1か月前
株式会社リコー
延長トレイ及び画像形成装置
19日前
株式会社リコー
光走査装置及び画像形成装置
8日前
株式会社リコー
定着装置、及び画像形成装置
24日前
株式会社リコー
液体吐出装置及び液体吐出方法
1か月前
株式会社リコー
画像読取装置及び画像読取方法
18日前
株式会社リコー
画像形成装置及び異常判定方法
1日前
株式会社リコー
シート供給装置、画像形成装置
8日前
株式会社リコー
表示装置、切替方法、プログラム
29日前
株式会社リコー
画像形成装置および画像形成方法
1日前
株式会社リコー
加熱搬送装置、及び、画像形成装置
9日前
株式会社リコー
樹脂粒子、及び樹脂粒子の製造方法
16日前
株式会社リコー
媒体処理装置及び画像形成システム
1か月前
株式会社リコー
加熱装置、定着装置、画像形成装置
11日前
株式会社リコー
媒体処理装置及び画像形成システム
19日前
株式会社リコー
シート給送装置及び画像形成システム
25日前
株式会社リコー
読取装置、読取方法およびプログラム
19日前
株式会社リコー
通信装置、通信方法、及びプログラム
22日前
株式会社リコー
通信端末、通信方法、及びプログラム
22日前
株式会社リコー
シート給紙装置、および画像形成装置
1か月前
株式会社リコー
加熱装置、定着装置及び画像形成装置
23日前
株式会社リコー
樹脂粒子、トナー、及び、画像形成装置
8日前
株式会社リコー
光源装置、画像投影装置および調整方法
29日前
株式会社リコー
ノード、データ共有方法、及びプログラム
1か月前
続きを見る
他の特許を見る