TOP
|
特許
|
意匠
|
商標
特許ウォッチ
Twitter
他の特許を見る
公開番号
2025164472
公報種別
公開特許公報(A)
公開日
2025-10-30
出願番号
2024068475
出願日
2024-04-19
発明の名称
光トランシーバ、光通信システム、光通信の制御方法及びプログラム
出願人
日本電気株式会社
代理人
個人
主分類
H04B
10/077 20130101AFI20251023BHJP(電気通信技術)
要約
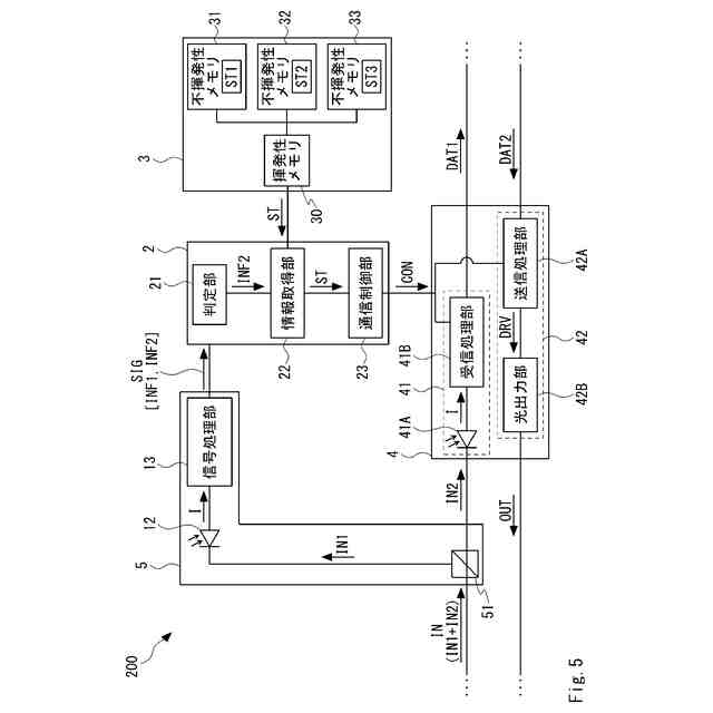
【課題】光トランシーバにおける光通信の設定を柔軟に変更する。
【解決手段】光信号受信手段は、制御情報を含む第1の光信号を受信する。記憶手段は、光通信の制御に用いられる複数セットの設定情報を格納している。光通信手段は、通信相手と光通信を行う。制御処理手段は、前記制御情報により指定された設定情報を前記記憶手段に格納された前記複数セットの設定情報の中から取得し、取得した前記設定情報に基づいて前記光通信手段を制御する。
【選択図】図2
特許請求の範囲
【請求項1】
制御情報を含む第1の光信号を受信する光信号受信手段と、
光通信の制御に用いられる複数セットの設定情報が格納された記憶手段と、
通信相手と光通信を行う光通信手段と、
前記制御情報により指定された設定情報を前記記憶手段に格納された前記複数セットの設定情報の中から取得し、取得した前記設定情報に基づいて前記光通信手段を制御する制御処理手段と、を備える、
光トランシーバ。
続きを表示(約 1,600 文字)
【請求項2】
前記第1の光信号は、制御対象を指定する識別情報を含み、
前記制御処理手段は、
前記制御処理手段が設けられた前記光トランシーバが、前記識別情報によって前記制御対象として指定されている場合に、前記制御情報により指定された前記設定情報を前記記憶手段から取得する、
請求項1に記載の光トランシーバ。
【請求項3】
前記光信号受信手段には、前記光通信手段が受信する第2の光信号に前記第1の光信号が重畳された第3の光信号が入力され、
前記光信号受信手段は、
前記第3の光信号を2つに分岐し、一方を前記光通信手段へ出力する光分岐手段と、
前記光分岐手段で分岐された他方の前記第3の光信号を受光し、受光結果を示す信号を出力する受光素子と、
前記受光結果を示す信号に所定の処理を行った受信信号を前記制御処理手段へ出力する信号処理手段と、を備える、
請求項1又は2に記載の光トランシーバ。
【請求項4】
前記第3の光信号は、前記第2の光信号を変調することで、前記第2の光信号に前記第1の光信号を重畳した信号である、
請求項3に記載の光トランシーバ。
【請求項5】
前記第3の光信号は、前記第2の光信号を振幅偏移変調によって変調することで、前記第2の光信号に前記第1の光信号を重畳した信号である、
請求項4に記載の光トランシーバ。
【請求項6】
前記光信号受信手段には、第1の波長を有する前記第1の光信号と、前記第1の波長とは異なる第2の波長を有する第2の光信号と、が波長多重された波長多重信号が入力され、
前記光信号受信手段は、
前記波長多重信号を第1及び第2の光信号に波長分離し、前記第2の光信号を前記光通信手段へ出力する波長分離手段と、
前記波長分離手段で分岐された前記第1の光信号を受光し、受光結果を示す信号を出力する受光素子と、
前記受光結果を示す信号に所定の処理を行った受信信号を前記制御処理手段へ出力する信号処理手段と、を備える、
請求項1又は2に記載の光トランシーバ。
【請求項7】
前記第1の光信号は、前記記憶手段に格納される新たな設定情報を含み、
前記制御処理手段は、前記新たな設定情報を前記記憶手段に格納する、
請求項1又は2に記載の光トランシーバ。
【請求項8】
制御情報を含む第1の光信号を送信する光信号送信手段と、
前記第1の光信号を受信し、前記第1の光信号に基づいて、通信相手との間で行う光通信を制御する光トランシーバと、を備え、
前記光トランシーバは、
前記第1の光信号を受信する光信号受信手段と、
前記光通信の制御に用いられる複数セットの設定情報が格納された記憶手段と、
前記通信相手と光通信を行う光通信手段と、
前記制御情報により指定された設定情報を前記記憶手段に格納された前記複数セットの設定情報の中から取得し、取得した前記設定情報に基づいて前記光通信手段を制御する制御処理手段と、を備える、
光通信システム。
【請求項9】
制御情報を含む第1の光信号を受信し、
前記制御情報により指定された設定情報を、通信相手との光通信の制御に用いられる複数セットの設定情報が格納された記憶手段から取得し、
取得した前記設定情報に基づいて、前記通信相手との前記光通信を制御する、
光通信の制御方法。
【請求項10】
受信した第1の光信号に含まれる制御情報により指定された設定情報を、通信相手との光通信の制御に用いられる複数セットの設定情報が格納された記憶手段から取得する処理と、
取得した前記設定情報に基づいて、前記通信相手との前記光通信を制御する処理と、をコンピュータに実行させる、
プログラム。
発明の詳細な説明
【技術分野】
【0001】
本開示は、光トランシーバ、光通信システム、光通信の制御方法及びプログラムに関する。
続きを表示(約 1,600 文字)
【背景技術】
【0002】
光通信ネットワークの複雑化及び高速化に伴い、通信ノード間の伝送距離、帯域及び通信品質要求などは様々である。一般的な光通信システムにおいては、光トランシーバによって光信号の送受信を行う。一方で、光通信ネットワークにおいては、例えばアンテナ局側の光トランシーバは、柱上などの高所に設置される場合が多い。そのため、光トランシーバの通信設定を設置後に変更することは一般に困難である。
【0003】
そのため、設置後においても光トランシーバの動作を制御できる手法が求められる。例えば、特許文献1には、外部から与えられる電気信号に基づいて、送信する光の波長を制御する光送信モジュールが提案されている。この光送信モジュールでは、制御手段が、外部から波長選択信号を受け付ける。そして、波長制御手段は、波長選択信号と、制御情報格納手段に格納された波長制御情報とに基づいて、波長調整手段を制御する。波長調整手段は、制御に応じて、レーザダイオードから出力される光の波長を調整する。
【先行技術文献】
【特許文献】
【0004】
特開2004-72323号公報
【発明の概要】
【発明が解決しようとする課題】
【0005】
しかしながら、光通信ネットワークにおいては、光トランシーバの波長以外の動作パラメータや、光トランシーバの制御に用いる組み込みソフトなどの設定情報を変更することを求められる場合が有る。これに対し、例えば特許文献1などの一般的な光トランシーバでは、波長以外の設定情報を変更することはそもそも困難である。
【課題を解決するための手段】
【0006】
本開示の一態様である光トランシーバは、制御情報を含む第1の光信号を受信する光信号受信手段と、光通信の制御に用いられる複数セットの設定情報が格納された記憶手段と、通信相手と光通信を行う光通信手段と、前記制御情報により指定された設定情報を前記記憶手段に格納された前記複数セットの設定情報の中から取得し、取得した前記設定情報に基づいて前記光通信手段を制御する制御処理手段と、を備えるものである。
光トランシーバ。
【0007】
本開示の一態様である光通信システムは、制御情報を含む第1の光信号を送信する光信号送信手段と、前記第1の光信号を受信し、前記第1の光信号に基づいて、通信相手との間で行う光通信を制御する光トランシーバと、を備え、前記光トランシーバは、前記第1の光信号を受信する光信号受信手段と、前記光通信の制御に用いられる複数セットの設定情報が格納された記憶手段と、前記通信相手と光通信を行う光通信手段と、前記制御情報により指定された設定情報を前記記憶手段に格納された前記複数セットの設定情報の中から取得し、取得した前記設定情報に基づいて前記光通信手段を制御する制御処理手段と、を備えるものである。
【0008】
本開示の一態様である光通信の制御方法は、制御情報を含む第1の光信号を受信し、前記制御情報により指定された設定情報を、通信相手との光通信の制御に用いられる複数セットの設定情報が格納された記憶手段から取得し、取得した前記設定情報に基づいて、前記通信相手との前記光通信を制御するものである。
【0009】
本開示の一態様であるプログラムは、受信した第1の光信号に含まれる制御情報により指定された設定情報を、通信相手との光通信の制御に用いられる複数セットの設定情報が格納された記憶手段から取得する処理と、取得した前記設定情報に基づいて、前記通信相手との前記光通信を制御する処理と、をコンピュータに実行させるものである。
【発明の効果】
【0010】
本開示によれば、光トランシーバにおける光通信の設定を柔軟に変更することができる。
【図面の簡単な説明】
(【0011】以降は省略されています)
この特許をJ-PlatPat(特許庁公式サイト)で参照する
関連特許
日本電気株式会社
監視装置
24日前
日本電気株式会社
管理装置
24日前
日本電気株式会社
監視装置
24日前
日本電気株式会社
海底分岐装置
25日前
日本電気株式会社
光モジュール
11日前
日本電気株式会社
異常検知装置
16日前
日本電気株式会社
光集積回路素子
29日前
日本電気株式会社
超伝導量子回路装置
1か月前
日本電気株式会社
推論装置および推論方法
3日前
日本電気株式会社
システム、装置及び方法
1か月前
日本電気株式会社
ラインカード及びイジェクタ
22日前
日本電気株式会社
制御装置、プログラム及び方法
1か月前
日本電気株式会社
考査装置、考査方法、プログラム
4日前
日本電気株式会社
考査装置、考査方法、プログラム
4日前
日本電気株式会社
時刻維持装置および時刻維持方法
2日前
日本電気株式会社
交渉装置、交渉方法及びプログラム
11日前
日本電気株式会社
推定装置、推定方法及びプログラム
1か月前
日本電気株式会社
レコメンド装置およびレコメンド方法
18日前
日本電気株式会社
情報処理装置、制御方法及び記憶媒体
1か月前
日本電気株式会社
監視装置、監視方法、及びプログラム
1日前
日本電気株式会社
端末、端末の制御方法及びプログラム
22日前
日本電気株式会社
学習装置、学習方法及び学習プログラム
1か月前
日本電気株式会社
安否確認支援装置、方法及びプログラム
25日前
日本電気株式会社
店舗端末、情報処理方法、及びプログラム
3日前
日本電気株式会社
情報処理装置、情報処理方法、プログラム
3日前
日本電気株式会社
処理システム、処理方法、およびプログラム
15日前
日本電気株式会社
情報処理装置、計算方法、およびプログラム
1か月前
日本電気株式会社
健康管理装置、健康管理方法及びプログラム
11日前
日本電気株式会社
合意判定装置、合意判定方法及びプログラム
9日前
日本電気株式会社
行動推奨装置、行動推奨方法及びプログラム
16日前
日本電気株式会社
処理システム、処理方法、およびプログラム
17日前
日本電気株式会社
追跡支援装置、追跡支援方法及びプログラム
29日前
日本電気株式会社
追跡支援装置、追跡支援方法及びプログラム
29日前
日本電気株式会社
情報処理装置、情報処理方法及びプログラム
1か月前
日本電気株式会社
情報処理装置、提示方法、およびプログラム
1か月前
日本電気株式会社
視聴支援装置、視聴支援方法及びプログラム
9日前
続きを見る
他の特許を見る