TOP
|
特許
|
意匠
|
商標
特許ウォッチ
Twitter
他の特許を見る
公開番号
2025162388
公報種別
公開特許公報(A)
公開日
2025-10-27
出願番号
2024065659
出願日
2024-04-15
発明の名称
軽量衝突試験機、及び軽量衝突試験方法
出願人
TOPPANホールディングス株式会社
代理人
個人
,
個人
主分類
G01N
3/46 20060101AFI20251020BHJP(測定;試験)
要約
【課題】特に日常で使用するもの中で再現が難しい、軽くて硬いアクセサリーや爪などが当たることによる傷を特に再現・評価可能とする。
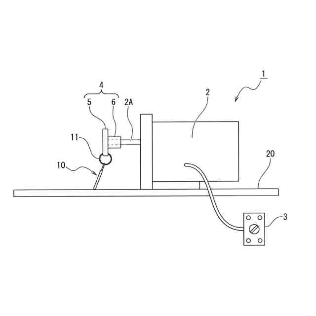
【解決手段】建材表面の耐傷性能を評価するための試験機であって、モータ2と、上記モータ2の回転軸2Aに固定された回転体4と、衝撃体10と、上記衝撃体10を上記回転体4に揺動可能な状態で連結する連結体11と、を備え、モータ2駆動で回転する上記衝撃体10が評価対象の建材表面に衝突可能となっている、軽量衝突試験機1である。
【選択図】 図1
特許請求の範囲
【請求項1】
建材の表面の耐傷性能を評価するための試験機であって、
モータと、上記モータの回転軸に固定された回転体と、衝撃体と、上記衝撃体を上記回転体に揺動可能な状態で連結する連結体と、を備え、
モータ駆動で回転する上記衝撃体が評価対象の建材表面に衝突可能となっている、
軽量衝突試験機。
続きを表示(約 420 文字)
【請求項2】
上記建材は、化粧シート又は化粧板である、
請求項1に記載した軽量衝突試験機。
【請求項3】
上記回転体は、周方向に沿って衝撃体が取り付けるための複数の開口を有する、
請求項1に記載した軽量衝突試験機。
【請求項4】
上記衝撃体は、上記回転体に対し着脱可能に取り付けられる、
請求項1に記載した軽量衝突試験機。
【請求項5】
上記衝撃体は、アクセサリー、付け爪、コイン、鉛筆若しくはそれらを模した物体から選択したものである、
請求項1に記載した軽量衝突試験機。
【請求項6】
建材表面の耐傷性能を評価するための試験方法であって、
請求項1~請求項5のいずれか1項に記載した軽量衝突試験機で、
建材表面に対し、繰り返し上記衝撃体を衝突させて、建材表面への傷の形成を評価する、
軽量衝突試験方法。
発明の詳細な説明
【技術分野】
【0001】
本発明は、化粧シートや化粧板等の建材表面の耐傷性能を評価するための技術である。
続きを表示(約 1,400 文字)
【背景技術】
【0002】
建材用の表面耐久性能や表面の硬さを測定する試験には、JAS合板においては、摩耗試験、引きかき硬度(特許文献1参照)、耐衝撃性などがあり、JISでは耐衝撃試験、摩耗試験、鉛筆引っかき試験などがある。
【0003】
例えば、建材業界で化粧シートの表面物性・硬さを評価してきた試験のうち、表面傷の規格化されている評価方法として、ダイヤモンド引っかき試験や鉛筆引っかき試験などがある。ダイヤモンド引っかき試験は、建材表面に対し、軽量でかつ硬い物を引きずるようにして傷の付き度合を相対比較する試験である。鉛筆引っかき試験は、建材表面に対し、重量物で物を引きずるようにして傷の付き度合を相対比較する試験である。
【0004】
しかし、これらの規格は、表面材が様々なものに対応できるようになっているため、表面に化粧シートがある際の、細かな性能差が分かるようなものは少ない。また、従来、化粧シートメーカーでは、化粧シートなどの性能差や実用上の影響などが分かるような試験を、各メーカーが独自で考えて実施しているのが実情ある。
【0005】
また、化粧板表面に化粧シートを貼り合わせた建材用化粧板の場合、これだけでは、耐傷性能の差が出せず評価として不十分であった。
【0006】
これに対し、建材業界では、ホフマンスクラッチ試験、スチールウール摺動試験、コインスクラッチ試験、キャスター試験などの様々な試験を考え、追加して評価することで、表面性能の比較や実用生活に耐えうるものか否かを評価してきた。これらの試験を追加したことで、硬くて鋭利・鈍角なものでの傷、軽くて硬いものでの擦り傷、日常的に徐々に影響を及ぼすものの傷などの影響を考慮した試験評価、化粧シート開発が行えるようになってきた。
【先行技術文献】
【特許文献】
【0007】
特開平5-187983号公報
【発明の概要】
【発明が解決しようとする課題】
【0008】
しかしながら、従来の試験は、キャスター試験のように、実用上の状態であり、そのままで傷の評価を行うことは少ない。
また、キャスター試験の場合、キャスターには様々なものがあるものの、キャスターが化粧板に同じように当たる(擦られる)ため、試験条件を同一にし易い。しかし、その他の日常で起きうる化粧板や床への傷は、あまりにも様々なものが考えられるため、従来の試験機では、試験を同一条件、規格化するのが難しいという課題がある。
【0009】
本発明は、上記のような点に着目してなされたもので、特に日常で使用するもの中で再現が難しい、軽くて硬いアクセサリーや爪などが当たることによる傷を再現・評価可能とすることを目的の一つとしている。
【課題を解決するための手段】
【0010】
課題解決のために、本発明の一態様は、建材表面の耐傷性能を評価するための試験機であって、モータと、上記モータの回転軸に固定された回転体と、衝撃体と、上記衝撃体を上記回転体に揺動可能な状態で連結する連結体と、を備え、モータ駆動で回転する上記衝撃体が評価対象の建材表面に衝突可能となっている、軽量衝突試験機である。
【発明の効果】
(【0011】以降は省略されています)
この特許をJ-PlatPat(特許庁公式サイト)で参照する
関連特許
個人
メジャー文具
1か月前
日本精機株式会社
検出装置
3日前
個人
採尿及び採便具
9日前
個人
アクセサリー型テスター
25日前
個人
高精度同時多点測定装置
24日前
株式会社ミツトヨ
測定器
15日前
ユニパルス株式会社
ロードセル
1か月前
甲神電機株式会社
電流検出装置
3日前
アズビル株式会社
電磁流量計
18日前
株式会社チノー
放射光測温装置
1か月前
ダイキン工業株式会社
監視装置
29日前
株式会社ヨコオ
ソケット
1か月前
株式会社ヨコオ
ソケット
1か月前
トヨタ自動車株式会社
監視装置
1か月前
個人
非接触による電磁パルスの測定方法
1日前
長崎県
形状計測方法
25日前
日本信号株式会社
距離画像センサ
1日前
TDK株式会社
ガスセンサ
1か月前
ローム株式会社
半導体装置
23日前
双庸電子株式会社
誤配線検査装置
4日前
ローム株式会社
半導体装置
23日前
個人
システム、装置及び実験方法
18日前
TDK株式会社
磁気センサ
1か月前
愛知時計電機株式会社
ガスメータ
15日前
大和製衡株式会社
組合せ計量装置
12日前
大和製衡株式会社
組合せ計量装置
12日前
愛知電機株式会社
軸部材の外観検査装置
12日前
日本特殊陶業株式会社
センサ
29日前
日本特殊陶業株式会社
センサ
29日前
日本特殊陶業株式会社
センサ
29日前
三菱マテリアル株式会社
温度センサ
1か月前
日本特殊陶業株式会社
センサ
29日前
株式会社不二越
X線測定装置
1日前
日本特殊陶業株式会社
センサ
29日前
三恵技研工業株式会社
融雪レドーム
1か月前
株式会社デンソー
電流センサ
23日前
続きを見る
他の特許を見る