TOP
|
特許
|
意匠
|
商標
特許ウォッチ
Twitter
他の特許を見る
10個以上の画像は省略されています。
公開番号
2025162020
公報種別
公開特許公報(A)
公開日
2025-10-27
出願番号
2024065100
出願日
2024-04-15
発明の名称
換気装置、熱交換型換気装置及び送風装置
出願人
三菱電機株式会社
代理人
弁理士法人加藤国際特許事務所
主分類
F24F
7/007 20060101AFI20251020BHJP(加熱;レンジ;換気)
要約
【課題】台風接近時のように長期間にわたって外風の影響を受ける場合であっても、フィルターの目詰まりを精度よく判定する。
【解決手段】給気風路5,6と排気風路7,8のうちの少なくとも一方の風路である第1の風路に設けられ、第1の風路内に吸い込まれる空気から汚染物質を除去するフィルター3,4と、第1の風路に設けられた第1の送風機9,10のモーター9a,10aを第1の回転数で回転させたときのモーター9a,10aの第1の電流と、第1の送風機9,10のモーター9a,10aを第1の回転数より大きい第2の回転数で回転させたときのモーター9a,10aの第2の電流と、を取得し、第2の回転数と第1の回転数との差分に対する、第2の電流と第1の電流との差分の割合を算出し、この割合が基準値以下の場合に、フィルター3,4が目詰まりと判定する制御部14と、を備える。
【選択図】図1
特許請求の範囲
【請求項1】
室外の空気を室内に給気するための給気風路と、
前記給気風路に設けられた給気送風機と、
室内の空気を室外に排気するための排気風路と、
前記排気風路に設けられた排気送風機と、
前記給気風路と前記排気風路のうちの少なくとも一方の風路である第1の風路に設けられ、前記第1の風路内に吸い込まれる空気から汚染物質を除去するフィルターと、
前記第1の風路に設けられた第1の送風機のモーターを第1の回転数で回転させたときの前記モーターの第1の電流と、前記第1の送風機の前記モーターを前記第1の回転数より大きい第2の回転数で回転させたときの前記モーターの第2の電流と、を取得し、前記第2の回転数と前記第1の回転数との差分に対する、前記第2の電流と前記第1の電流との差分の割合を算出し、この割合が基準値以下の場合に、前記フィルターが目詰まりと判定する制御部と、
を備える換気装置。
続きを表示(約 1,100 文字)
【請求項2】
前記制御部は、前記フィルターの使用開始時に前記割合を初期値として算出し、算出された前記初期値と、前記第1の風路内の風量が、前記フィルターの使用開始時の風量から、前記フィルターが目詰まりと判定される風量まで低下した時の、前記第1の電流及び前記第2の電流の変化率と、に基づいて、前記基準値を算出する、
請求項1に記載の換気装置。
【請求項3】
前記制御部は、前記第1の電流と前記第2の電流とを複数回取得し、取得した前記第1の電流の平均値と前記第2の電流の平均値とを用いて前記割合を算出する、
請求項1に記載の換気装置。
【請求項4】
前記制御部は、2日以上にわたって前記第1の電流と前記第2の電流とを複数回取得し、取得した前記第1の電流の平均値と前記第2の電流の平均値とを用いて前記割合を算出する、
請求項1に記載の換気装置。
【請求項5】
前記制御部は、前置換気装置が設置された環境にいる利用者が不在となるタイミングに、前記割合を算出する、
請求項1に記載の換気装置。
【請求項6】
前記制御部は、前記フィルターの使用開始からの前記割合の時間変化を取得し、取得した前記割合の時間変化を外挿して、前記割合が前記基準値に達する時期を求め、前記フィルターの目詰まりが前記時期に発生すると予測する、
請求項1に記載の換気装置。
【請求項7】
前記制御部は、前記フィルターが目詰まりと判定すると、前記フィルターに目詰まりが発生したことを報知する、請求項1に記載の換気装置。
【請求項8】
請求項1から請求項7のいずれか1項に記載の換気装置と、
前記排気風路を流れる排気流と前記給気風路を流れる給気流との間で熱交換を行う熱交換器と、
を備える熱交換型換気装置。
【請求項9】
室外の空気を室内に給気するための給気風路と、
モーターを有し、前記給気風路に設けられた給気送風機と、
前記給気風路に設けられ、前記給気風路内に吸い込まれる空気から汚染物質を除去するフィルターと、
前記モーターを第1の回転数で回転させたときの前記モーターの第1の電流と、前記モーターを前記第1の回転数より大きい第2の回転数で回転させたときの前記モーターの第2の電流と、を取得し、前記第2の回転数と前記第1の回転数との差分に対する、前記第2の電流と前記第1の電流との差分の割合を算出し、この割合が基準値以下の場合に、前記フィルターが目詰まりと判定する制御部と、
を備える送風装置。
発明の詳細な説明
【技術分野】
【0001】
本開示は、換気装置、熱交換型換気装置及び送風装置に関する。
続きを表示(約 2,200 文字)
【背景技術】
【0002】
住宅およびオフィス等の人が生活する生活空間には、人の呼気から排出される二酸化炭素、人の呼気から排出されるウイルス、建材から発生する揮発性有機化合物(Volatile Organic Compounds:VOC)、トイレから発生する臭気、台所から発生する臭気および動物から発生する臭気など、室内の空気環境を汚染する汚染要因が存在する。このような汚染要因に対する対策として、住宅およびオフィス等には、換気装置が設置される。換気装置は、屋内の汚れた空気を屋外の空気と入れ替えることによって、室内環境の清浄化を行う。
【0003】
従来の換気装置において、風路内を流れる空気中の汚染物質を除去するフィルターが設置されている。換気装置を長時間運転させると、フィルターに異物が付着し、フィルターに目詰まりが生じる。フィルターに目詰まりが生じると、換気装置の換気量が低下するため十分な換気ができなくなる。また、熱交換器を有する熱交換型換気装置の場合には、換気装置の熱交換効率が低下するため、換気装置の内外での十分な熱交換ができなくなる。
このため、換気装置の性能を維持するためには、フィルターに目詰まりが生じる前に、フィルターの清掃、あるいは、フィルターの交換を適切に行う必要がある。
【0004】
特許文献1には、初期値として給気風量が一定となるように調整された給気モーターの電流及び/又は回転数を記憶し、その記憶された複数の電流及び/又は回転数を平均して得られた値を記憶する。そして、現在の電流及び/又は回転数と初期値として記憶された電流及び/又は回転数の差が所定値以上となる場合に、給気フィルターが目詰まりである旨の報知を行う熱交換換気装置が開示されている。
【先行技術文献】
【特許文献】
【0005】
特開2019-90593号公報
【発明の概要】
【発明が解決しようとする課題】
【0006】
しかしながら、特許文献1に開示された換気装置においては、台風接近時のように長期間にわたって外風の影響を受ける場合には、フィルターの目詰まりを精度よく判定することができないという問題がある。
【0007】
本開示は、上記の課題を解決するためになされたものであり、台風接近時のように長期間にわたって外風の影響を受ける場合であっても、フィルターの目詰まりを精度よく判定することができる換気装置を提供することを目的とする。
【課題を解決するための手段】
【0008】
本開示の換気装置は、室外の空気を室内に給気するための給気風路と、給気風路に設けられた給気送風機と、室内の空気を室外に排気するための排気風路と、排気風路に設けられた排気送風機と、給気風路と排気風路のうちの少なくとも一方の風路である第1の風路に設けられ、第1の風路内に吸い込まれる空気から汚染物質を除去するフィルターと、第1の風路に設けられた第1の送風機のモーターを第1の回転数で回転させたときのモーターの第1の電流と、第1の送風機のモーターを第1の回転数より大きい第2の回転数で回転させたときのモーターの第2の電流と、を取得し、第2の回転数と第1の回転数との差分に対する、第2の電流と第1の電流との差分の割合を算出し、この割合が基準値以下の場合に、フィルターが目詰まりと判定する制御部と、を備える。
【発明の効果】
【0009】
本開示の換気装置によれば、台風接近時のように長期間にわたって外風の影響を受ける場合であっても、フィルターの目詰まりを精度よく判定することができる。
【図面の簡単な説明】
【0010】
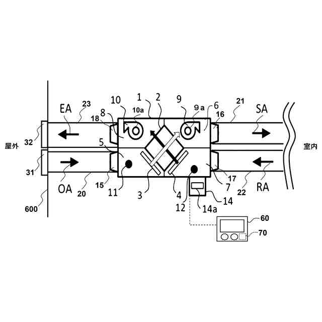
実施の形態1の換気装置の構成を説明する図である。
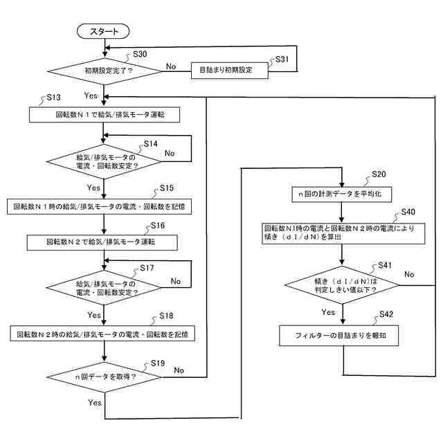
実施の形態1の換気装置のフィルターの目詰まりを判定するための初期設定を行う方法を説明するフローチャートである。
実施の形態1の換気装置において、給気モーターの回転数と電流との関係を示すグラフである。
実施の形態1の換気装置において、給気モーターを回転数一定に制御したときの、風量Qと静圧Pとの関係、及び、風量Qと電流Iとの関係を示すグラフである。
実施の形態1の換気装置において、給気モーターの回転数と電流との関係を示すグラフである。
実施の形態1の換気装置における、風量と傾き(dI/dN)との関係を示す図である。
実施の形態1の換気装置のフィルターの目詰まりを判定する方法を説明するフローチャートである。
実施の形態1の換気装置において、給気モーター又は排気モーターの電流の時間変化の一例を示すグラフである。
実施の形態1の換気装置において、外風の影響を説明するためのグラフであり、給気モーター又は排気モーターの回転数と電流との関係を示すグラフである。
実施の形態2の換気装置のフィルターの目詰まりを判定する方法を説明するための、フィルターの使用を開始してからの累積運転時間と傾き(dI/dN)との関係を示すグラフである。
【発明を実施するための形態】
(【0011】以降は省略されています)
この特許をJ-PlatPat(特許庁公式サイト)で参照する
関連特許
三菱電機株式会社
換気扇
12日前
三菱電機株式会社
換気扇
12日前
三菱電機株式会社
増幅器
3日前
三菱電機株式会社
換気扇
12日前
三菱電機株式会社
照明装置
1か月前
三菱電機株式会社
電子機器
13日前
三菱電機株式会社
収集装置
10日前
三菱電機株式会社
回転電機
28日前
三菱電機株式会社
回転電機
1か月前
三菱電機株式会社
照明装置
1か月前
三菱電機株式会社
半導体装置
1か月前
三菱電機株式会社
半導体装置
18日前
三菱電機株式会社
加熱調理器
1か月前
三菱電機株式会社
空気調和機
5日前
三菱電機株式会社
半導体装置
1か月前
三菱電機株式会社
半導体装置
1か月前
三菱電機株式会社
電力変換装置
1か月前
三菱電機株式会社
車両制御装置
1か月前
三菱電機株式会社
貯湯式給湯機
今日
三菱電機株式会社
電力変換装置
1か月前
三菱電機株式会社
照明システム
18日前
三菱電機株式会社
貯湯式給湯機
28日前
三菱電機株式会社
ねじ締め装置
3日前
三菱電機株式会社
空調システム
3日前
三菱電機株式会社
給湯システム
1か月前
三菱電機株式会社
ネジ取出機構
1か月前
三菱電機株式会社
空気調和装置
1か月前
三菱電機株式会社
送電線保護装置
1か月前
三菱電機株式会社
樹脂成形用金型
3日前
三菱電機株式会社
誘導加熱調理器
12日前
三菱電機株式会社
屋外設置用筐体
1か月前
三菱電機株式会社
電動機制御装置
24日前
三菱電機株式会社
給湯機システム
1か月前
三菱電機株式会社
非常用照明装置
1か月前
三菱電機株式会社
照明制御システム
25日前
三菱電機株式会社
全館空調システム
10日前
続きを見る
他の特許を見る