TOP
|
特許
|
意匠
|
商標
特許ウォッチ
Twitter
他の特許を見る
公開番号
2025160146
公報種別
公開特許公報(A)
公開日
2025-10-22
出願番号
2025063736
出願日
2025-04-08
発明の名称
大規模言語モデルを使用したデータの修正
出願人
エスアーペー エスエー
代理人
個人
,
個人
,
個人
主分類
G06F
8/38 20180101AFI20251015BHJP(計算;計数)
要約
【課題】大規模言語モデルを使用してデータを修正する。
【解決手段】ある例示的な実施形態では、UI画面の状態の全体をLLMに送信してUI画面上の1つまたは複数の値を生成して修正するのではなく、UI画面上のデータの識別子およびデータ型が収集されてLLMに送信される。LLMは、ユーザプロンプトを満足させるために何が行われる必要があるかを定義する表現のリストを返すように命令される。次いで、呼び出しプロセスが、表現のリストを評価して、データ内容を実際に操作する。
【選択図】図2
特許請求の範囲
【請求項1】
システムであって、
少なくとも1つのハードウェアプロセッサと、
前記少なくとも1つのハードウェアプロセッサによって実行されるとき、前記少なくとも1つのハードウェアプロセッサに動作を実施させる命令を記憶するコンピュータ可読媒体とを備え、前記動作が、
ユーザインターフェースのユーザインターフェース画面の中のデータを修正する要求を受け取ることと、
前記ユーザインターフェース画面のためのデータコンテキストにアクセスすることであって、前記データコンテキストが前記ユーザインターフェース画面の中の複数のデータフィールドの各々のための識別子およびデータ型を含む、前記アクセスすることと、
前記要求、前記識別子、および前記データ型から、前記データの前記修正を実施するために表現のリストを生成するように大規模言語モデル(LLM)に命令するLLMプロンプトを形成することと、
前記LLMプロンプトを前記LLMに送信することと、
前記LLMから、表現の前記リストを受信することと、
前記表現を解析して評価し、前記ユーザインターフェース画面の中の前記データの前記修正を実施することと、
前記修正されたデータを有する前記ユーザインターフェース画面の、ユーザへの表示を引き起こすことと
を含む、システム。
続きを表示(約 1,000 文字)
【請求項2】
前記複数のデータフィールドに含まれる値が前記LLMに送信されない、請求項1に記載のシステム。
【請求項3】
表現の前記リストが抽象構文木(AST)フォーマットである、請求項1に記載のシステム。
【請求項4】
前記形成することが、前記要求、前記識別子、および前記データ型にシステムプロンプトを追加することを含む、請求項1に記載のシステム。
【請求項5】
前記要求が、前記ユーザインターフェースにおいて前記ユーザによる入力を介して受け取られる前記ユーザからの明示的な要求である、請求項1に記載のシステム。
【請求項6】
前記要求が、前記ユーザインターフェース内でのユーザの動きに基づいて、かつ前記データコンテキストに基づいて推測される、請求項1に記載のシステム。
【請求項7】
前記ユーザインターフェースも含むクライアントデバイスの人工知能ハンドラにおいて前記動作が実施される、請求項1に記載のシステム。
【請求項8】
ユーザインターフェースのユーザインターフェース画面の中のデータを修正する要求を受け取るステップと、
前記ユーザインターフェース画面のためのデータコンテキストにアクセスするステップであって、前記データコンテキストが前記ユーザインターフェース画面の中の複数のデータフィールドの各々のための識別子およびデータ型を含む、ステップと、
前記要求、前記識別子、および前記データ型から、前記データの前記修正を実施するために表現のリストを生成するように大規模言語モデル(LLM)に命令するLLMプロンプトを形成するステップと、
前記LLMプロンプトを前記LLMに送信するステップと、
前記LLMから、表現の前記リストを受信するステップと、
前記表現を解析して評価し、前記ユーザインターフェース画面の中の前記データの前記修正を実施するステップと、
前記修正されたデータを有する前記ユーザインターフェース画面の、ユーザへの表示を引き起こすステップとを含む、方法。
【請求項9】
前記複数のデータフィールドに含まれる値が前記LLMに送信されない、請求項8に記載の方法。
【請求項10】
表現の前記リストが抽象構文木(AST)フォーマットである、請求項8に記載の方法。
(【請求項11】以降は省略されています)
発明の詳細な説明
【技術分野】
【0001】
本文書は全般に、コンピュータシステムに関する。より詳細には、本文書は、データを修正するための大規模言語モデル(LLM)の使用に関する。
続きを表示(約 2,400 文字)
【背景技術】
【0002】
企業資源計画(ERP)ソフトウェアは、財務、製造、人事、サプライチェーン、サービス、調達などの、組織を運営するために使用される様々なプロセスを単一のシステムに統合する。これらのプロセスは通常、組織のすべてではないとしても大半の面にわたって、知性、可視性、および効率性を提供する。ERPソフトウェアの一例は、ドイツのヴァルドルフのSAP SEからのSAP(登録商標)S/4 HANAである。
【0003】
LLMは、人の言語を理解して生成するために膨大なデータセットについて訓練されている人工知能(AI)システムを指す。これらのモデルは、それらが質問に回答し、会話に関わり、文章を生成し、様々な言語関連のタスクを実施することを可能にするような方法で、自然言語を処理して理解するように設計される。
【発明の概要】
【課題を解決するための手段】
【0004】
システムであって、
少なくとも1つのハードウェアプロセッサと、
前記少なくとも1つのハードウェアプロセッサによって実行されるとき、前記少なくとも1つのハードウェアプロセッサに動作を実施させる命令を記憶するコンピュータ可読媒体とを備え、前記動作が、
ユーザインターフェースのユーザインターフェース画面の中のデータを修正する要求を受け取ることと、
前記ユーザインターフェース画面のためのデータコンテキストにアクセスすることであって、前記データコンテキストが前記ユーザインターフェース画面の中の複数のデータフィールドの各々のための識別子およびデータ型を含む、前記アクセスすることと、
前記要求、前記識別子、および前記データ型から、前記データの前記修正を実施するために表現のリストを生成するように大規模言語モデル(LLM)に命令するLLMプロンプトを形成することと、
前記LLMプロンプトを前記LLMに送信することと、
前記LLMから、表現の前記リストを受信することと、
前記表現を解析して評価し、前記ユーザインターフェース画面の中の前記データの前記修正を実施することと、
前記修正されたデータを有する前記ユーザインターフェース画面の、ユーザへの表示を引き起こすこととを含む。
【0005】
本開示は、同様の参照番号が同様の要素を示す添付の図面の図において、限定ではなく例として示される。
【図面の簡単な説明】
【0006】
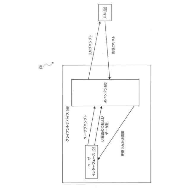
ある例示的な実施形態による、LLMを使用してユーザインターフェース画面の中のデータを操作するためのシステムを示すブロック図である。
ある例示的な実施形態による、ユーザインターフェース画面のデータを修正するためにLLMを使用する方法を示す流れ図である。
上で説明されたデバイスの任意の1つまたは複数にインストールされ得るソフトウェアのアーキテクチャを示すブロック図である。
ある例示的な実施形態による、本明細書で論じられる方法の任意の1つまたは複数を機械に実施させるためにその中で命令のセットが実行され得るコンピュータシステムの形態の機械の図解による表現を示す図である。
【発明を実施するための形態】
【0007】
以下の説明は、説明のためのシステム、方法、技法、命令シーケンス、およびコンピューティング機械プログラム製品について論じる。以下の説明では、説明を目的に、本主題の様々な例示的な実施形態の理解をもたらすために、数々の具体的な詳細が記載される。しかしながら、これらの具体的な詳細なしで、本主題の様々な例示的な実施形態が実践され得ることが、当業者には明らかであろう。
【0008】
多くのソフトウェアアプリケーションにおいて、ユーザは、記憶または後の操作のためにデータを入力することができる。一例は、ERPシステムのユーザが、関連するデータベースに最終的に記憶するために、製品または取引についてのデータをERPクライアントアプリケーションに入力できることである。
【0009】
ユーザのデータ入力をより簡単にするために、長年にわたって様々なツールが開発されてきた。しかしながら、これらのツールはすべて、入力されるべきデータをユーザが知っていることまたは生成することに今でも依存している。たとえば、取引画面が、取引において販売された製品の量をユーザが入力することを可能にし得る。簡素なユーザインターフェース、音声認識などのツールは、たとえば取引において100個の製品が販売されたことをユーザが伝えるのをより簡単にできるが、それでもこれらのツールは、取引の間に100個の製品が販売されたことをユーザが実際に知っていることまたは導き出すことを必要とする。
【0010】
このことに対する1つの解決策は、入力されるべきデータ内容を生成するために、人工知能、特にLLMを使用することである。そのような事例では、たとえば、ユーザインターフェースには、データの特定のフィールドに対する値をLLMに生成させる、ユーザが選択できるボタンが設けられ得る。ユーザインターフェース(UI)は次いで、特定のフィールドに対する値を生成するための命令とともに、ユーザがデータをLLMに入力しているUI画面の状態(コンテキストとしても知られている)を送信し得る。LLMは次いで、値を生成してそれをUIに返すことができ、UIは次いで、それを自動的にフィールドに入力することができる。フィールドにすでに入力されているデータを変更するために、または画面上のデータに数学的な演算(平均など)を実施するために、同様の処理が実施され得る。
(【0011】以降は省略されています)
この特許をJ-PlatPat(特許庁公式サイト)で参照する
関連特許
エスアーペー エスエー
自動化されたオントロジーの保守
23日前
エスアーペー エスエー
大規模言語モデルを使用したデータの修正
今日
個人
詐欺保険
8日前
個人
縁伊達ポイン
8日前
個人
工程設計支援装置
2か月前
個人
QRコードの彩色
12日前
個人
地球保全システム
21日前
個人
為替ポイント伊達夢貯
1か月前
個人
冷凍食品輸出支援構造
1か月前
個人
携帯情報端末装置
2か月前
個人
農作物用途分配システム
7日前
個人
表変換編集支援システム
1か月前
個人
残土処理システム
14日前
個人
知財出願支援AIシステム
1か月前
個人
タッチパネル操作指代替具
1日前
個人
知的財産出願支援システム
15日前
個人
結婚相手紹介支援システム
2か月前
個人
携帯端末障害問合せシステム
今日
個人
行動時間管理システム
1か月前
個人
パスワード管理支援システム
1か月前
個人
スケジュール調整プログラム
今日
個人
AIによる情報の売買の仲介
1か月前
日本精機株式会社
施工管理システム
1か月前
個人
パスポートレス入出国システム
1か月前
株式会社キーエンス
受発注システム
20日前
株式会社キーエンス
受発注システム
20日前
株式会社アジラ
進入判定装置
1か月前
株式会社キーエンス
受発注システム
20日前
個人
食品レシピ生成システム
20日前
個人
AIキャラクター制御システム
1か月前
個人
システム及びプログラム
1か月前
個人
海外支援型農作物活用システム
1か月前
大同特殊鋼株式会社
疵判定方法
27日前
エッグス株式会社
情報処理装置
1日前
個人
音声・通知・再配達UX制御構造
15日前
キヤノン株式会社
印刷システム
今日
続きを見る
他の特許を見る