TOP
|
特許
|
意匠
|
商標
特許ウォッチ
Twitter
他の特許を見る
10個以上の画像は省略されています。
公開番号
2025160053
公報種別
公開特許公報(A)
公開日
2025-10-22
出願番号
2024063045
出願日
2024-04-09
発明の名称
分離装置、封緘機、分離方法および封緘方法
出願人
デュプロ精工株式会社
代理人
個人
主分類
B65H
29/54 20060101AFI20251015BHJP(運搬;包装;貯蔵;薄板状または線条材料の取扱い)
要約
【課題】 この発明の解決すべき技術的課題は、媒体の粘着部に貼り付けられた貼付物を適切に媒体から分離可能な分離装置を提供することである。
【解決手段】
分離装置は、媒体を搬送する搬送部と、前記搬送部によって搬送される前記媒体の粘着部に貼り付けられた貼付物を前記粘着部から分離するための分離部材と、先端が所定角度に形成された前記分離部材の挿入部を前記貼付物と前記粘着部との間に挿入するよう前記媒体の粘着部形成領域の長手方向に交差する交差方向へ前記分離部材を前記媒体に対して相対移動する挿入移動部と、前記貼付物を前記分離部材に係合しつつ前記分離部材を前記媒体に対して前記長手方向に相対移動する分離移動部とを備えた。
【選択図】図5
特許請求の範囲
【請求項1】
媒体を搬送する搬送部と、
前記搬送部によって搬送される前記媒体の粘着部に貼り付けられた貼付物を前記粘着部から分離するための分離部材と、
先端が所定角度に形成された前記分離部材の挿入部を前記貼付物と前記粘着部との間に挿入するよう前記媒体の粘着部形成領域の長手方向に交差する交差方向へ前記媒体に対して相対移動する挿入移動部と、
前記貼付物を前記分離部材に係合しつつ前記分離部材を前記媒体に対して前記長手方向に相対移動する分離移動部とを備えた分離装置。
続きを表示(約 940 文字)
【請求項2】
前記分離部材は、前記貼付物の端部を前記粘着部から分離するための端分離部を備えた請求項1に記載の分離装置。
【請求項3】
前記分離部材に対向配置され、前記分離部材との間で前記貼付物を挟持する挟持部を備えた請求項2に記載の分離装置。
【請求項4】
前記分離部材を前記媒体に対し接離するための接離部を備えた請求項1に記載の分離装置。
【請求項5】
前記分離部材に対向配置され、前記分離部材との間で前記貼付物を挟持する挟持部が設けられ、
前記接離部は、前記分離部材が前記媒体に接触する接触位置、及び、前記分離部材が前記挟持部との間で前記貼付物を挟持する挟持位置の間で前記分離部材を移動する請求項4に記載の分離装置。
【請求項6】
前記分離部材は、媒体の搬送面に対し傾斜配置される請求項1に記載の分離装置。
【請求項7】
請求項1に記載の分離装置と、媒体の被折畳部を折畳み封緘する折畳装置とを備えた封緘機。
【請求項8】
搬送部によって媒体を搬送し、
前記搬送部によって搬送される前記媒体の粘着部に貼り付けられた貼付物と前記粘着部との間に、前記貼付物を前記粘着部から分離するための分離部材が挿入され、
前記媒体の粘着部形成領域の長手方向に交差する方向へ前記分離部材を前記媒体に対して相対移動し、
前記貼付物を前記分離部材に係合しつつ前記分離部材を前記媒体に対して前記長手方向に相対移動し、前記貼付物を前記粘着部から分離する分離方法。
【請求項9】
搬送部によって媒体を搬送し、
前記搬送部によって搬送される前記媒体の粘着部に貼り付けられた貼付物と前記粘着部との間に、前記貼付物を前記粘着部から分離するための分離部材が挿入され、
前記媒体の粘着部形成領域の長手方向に交差する方向へ前記分離部材を前記媒体に対して相対移動し、
前記貼付物を前記分離部材に係合しつつ前記分離部材を前記媒体に対して前記長手方向に相対移動し、前記貼付物を前記粘着部から分離し、
非折畳部を折り畳んで封緘する封緘方法。
発明の詳細な説明
【技術分野】
【0001】
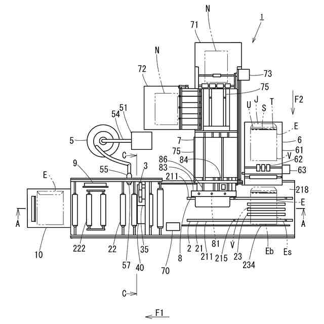
この発明は、分離装置、封緘機、分離方法および封緘方法に関する。
続きを表示(約 1,100 文字)
【背景技術】
【0002】
媒体の粘着部に貼り付けられた貼付物を粘着部から分離するための分離装置が知られている。特許文献1では、貼付物が貼着された媒体としての封筒の上に吸引部材が配設されて、引き剥がされた貼付物を吸引部材によって吸引して回収する装置が開示されている。
【先行技術文献】
【特許文献】
【0003】
特開2021-195220号公報
【発明の概要】
【発明が解決しようとする課題】
【0004】
特許文献1では、円柱状体の周面に粘着剤層を積層してなる剥離ローラーを、貼付物に押し当てて軸心周りに回転させて、貼付物を剥離ローラーに粘着させることによって被着体から剥離する。しかし、貼付物を回転する剥離ローラーの粘着力で封筒から分離することは困難である。
【0005】
この発明の解決すべき技術的課題は、封筒の粘着部に貼り付けられた貼付物を適切に封筒から分離可能な分離装置を提供することである。
【課題を解決するための手段】
【0006】
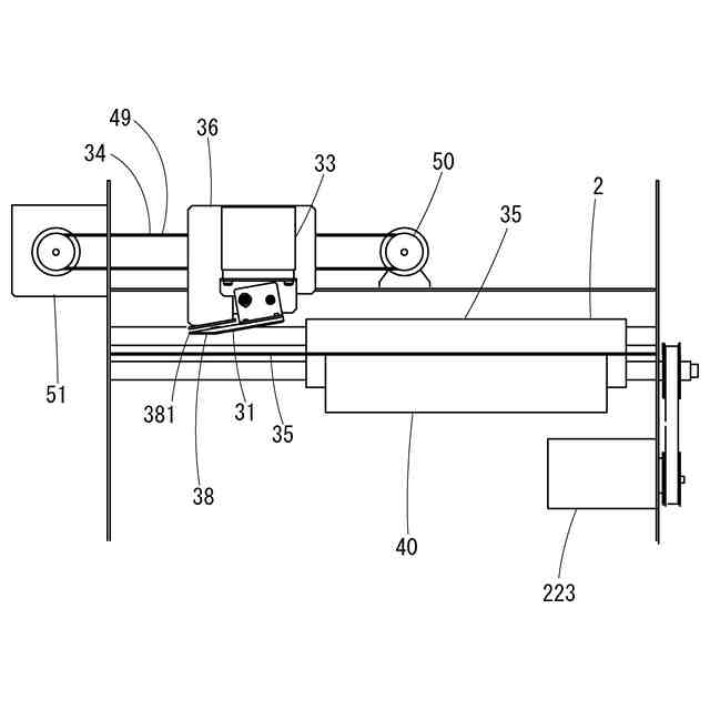
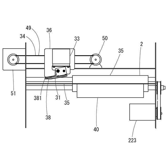
上記技術的課題を解決するために、この発明によれば、本発明に係る分離装置は、媒体を搬送する搬送部と、前記搬送部によって搬送される前記媒体の粘着部に貼り付けられた貼付物を前記粘着部から分離するための分離部材と、先端が所定角度に形成された前記分離部材の挿入部を前記貼付物と前記粘着部との間に挿入するよう前記媒体の粘着部形成領域の長手方向に交差する交差方向へ前記分離部材を前記媒体に対して相対移動する挿入移動部と、前記貼付物を前記分離部材に係合しつつ前記分離部材を前記媒体に対して前記長手方向に相対移動する分離移動部とを備えた。
【0007】
また、前記構成において、前記分離部材は、前記貼付物と前記粘着部との間に挿入される挿入部と、前記挿入部の近傍に設けられ、前記貼付物の端部を前記粘着部から分離するための端分離部とを備えた。
【0008】
そして、前記構成において、前記分離部材に対向配置され、前記分離部材との間で前記貼付物を挟持する挟持部を備えた。
【0009】
更に、前記構成において、前記分離部材を前記媒体に対し接離するための接離部を備えた。
【0010】
更に、前記構成において、前記分離部材に対向配置され、前記分離部材との間で前記貼付物を挟持する挟持部が設けられ、前記接離部は、前記分離部材が前記媒体に接触する接触位置、及び、前記分離部材が前記挟持部との間で前記貼付物を挟持する挟持位置の間で前記分離部材を移動する。
(【0011】以降は省略されています)
この特許をJ-PlatPat(特許庁公式サイト)で参照する
関連特許
個人
収容箱
4か月前
個人
束ね具
17日前
個人
コンベア
6か月前
個人
ゴミ収集器
8か月前
個人
段ボール箱
8か月前
個人
段ボール箱
7か月前
個人
テープ引出機
17日前
個人
宅配システム
8か月前
個人
角筒状構造体
6か月前
個人
バンド
3か月前
個人
楽ちんハンド
6か月前
個人
廃棄物収容容器
3か月前
個人
棒状体収容容器
21日前
個人
お薬の締結装置
7か月前
個人
包装容器
2か月前
株式会社コロナ
梱包材
6か月前
株式会社バンダイ
物品
1か月前
株式会社和気
包装用箱
1か月前
個人
蓋閉止構造
5か月前
個人
貯蔵サイロ
8か月前
個人
蓋閉止構造
5か月前
個人
把手付米袋
5か月前
個人
積み重ね用補助具
3か月前
三甲株式会社
容器
2か月前
株式会社新弘
容器
4か月前
個人
コード折り畳み器具
5か月前
三甲株式会社
容器
7か月前
三甲株式会社
容器
1か月前
個人
搬送システム
7か月前
個人
介護用コップ
3か月前
三甲株式会社
蓋体
9か月前
三甲株式会社
容器
7か月前
株式会社ナベル
検査装置
29日前
株式会社イシダ
搬送装置
7か月前
個人
輸送積荷用動吸振器
7か月前
株式会社KY7
封止装置
4か月前
続きを見る
他の特許を見る