TOP
|
特許
|
意匠
|
商標
特許ウォッチ
Twitter
他の特許を見る
公開番号
2025159579
公報種別
公開特許公報(A)
公開日
2025-10-21
出願番号
2024062263
出願日
2024-04-08
発明の名称
乾燥装置
出願人
株式会社GL HAKKO
代理人
弁理士法人樹之下知的財産事務所
主分類
F26B
17/32 20060101AFI20251014BHJP(乾燥)
要約
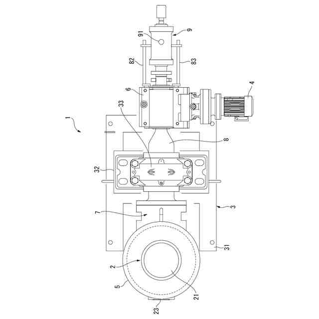
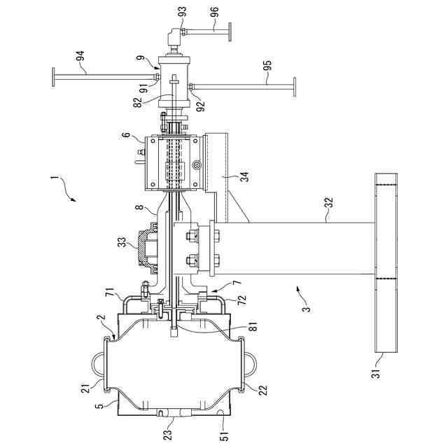
【課題】配置するスペースを小さくすることができる乾燥装置を提供すること。
【解決手段】乾燥装置1は、被乾燥体が収容される本体部2と、本体部2を回動可能に片持ち支持する架台部3と、本体部2を回動させる駆動部4と、を備える。これにより、本体部2を回動可能に支持する架台部3は、本体部2を片持ち支持するように構成されているので、本体部2の片側にだけ軸受け部33を設ければよい。そのため、軸受け部を本体部の両側に設ける場合に比べて、乾燥装置1を配置するためのスペースを小さくすることができる。
【選択図】図2
特許請求の範囲
【請求項1】
被乾燥体が収容される本体部と、
前記本体部を回動可能に片持ち支持する架台部と、
前記本体部を回動させる駆動部と、
を備えることを特徴とする乾燥装置。
続きを表示(約 240 文字)
【請求項2】
請求項1に記載の乾燥装置において、
前記本体部には、前記架台部に支持される面とは反対側の面に窓部を有する
ことを特徴とする乾燥装置。
【請求項3】
請求項1に記載の乾燥装置において、
前記本体部の内面にはグラスライニングが施されている
ことを特徴とする乾燥装置。
【請求項4】
請求項1に記載の乾燥装置において、
前記本体部の外周側に外套部が設けられている
ことを特徴とする乾燥装置。
発明の詳細な説明
【技術分野】
【0001】
本発明は、乾燥装置に関する。
続きを表示(約 1,200 文字)
【背景技術】
【0002】
従来、被乾燥体を乾燥させるコニカルドライヤーが知られている(例えば、特許文献1等)。特許文献1では、二重円錐構造の本体における内缶の内面にグラスライニング等を施すことにより、腐食性物質の乾燥や均一混合を可能にしている。
【先行技術文献】
【特許文献】
【0003】
特開2003-65674号公報
【発明の概要】
【発明が解決しようとする課題】
【0004】
しかしながら、特許文献1では、本体の両側に設けられた軸受け部により、当該本体を回動可能に軸支していることから、本体の両側に軸受け部を設けるためのスペースが必要となり、コニカルドライヤーを配置するためのスペースが大きくなってしまうといった問題があった。
【0005】
本発明の目的は、配置するスペースを小さくすることができる乾燥装置を提供することにある。
【課題を解決するための手段】
【0006】
本発明の乾燥装置は、被乾燥体が収容される本体部と、前記本体部を回動可能に片持ち支持する架台部と、前記本体部を回動させる駆動部と、を備えることを特徴とする。
【0007】
本発明では、本体部を回動可能に支持する架台部は、本体部を片持ち支持するように構成されているので、本体部の片側にだけ軸受け部を設ければよい。そのため、軸受け部を本体部の両側に設ける場合に比べて、乾燥装置を配置するためのスペースを小さくすることができる。
【0008】
本発明の乾燥装置において、前記本体部には、前記架台部に支持される面とは反対側の面に窓部を有することが好ましい。
この構成では、本体部は窓部を有するので、窓部を介して本体部に収容される被乾燥体を確認することができる。この際、当該窓部は、本体部において架台部に支持される面とは反対側の面に設けられるので、作業者が窓部を介して被乾燥体を確認する際に架台部と干渉してしまうことを抑制できる。
【0009】
本発明の乾燥装置において、前記本体部の内面にはグラスライニングが施されていることが好ましい。
この構成では、本体部の内面にグラスライニングが施されているので、仮に被乾燥体が腐食性であったとしても、被乾燥体によって本体部が腐食してしまうことを抑制できる。
【0010】
本発明の乾燥装置において、前記本体部の外周側に外套部が設けられていることが好ましい。
この構成では、本体部の外周側に外套部が設けられているので、本体部と外套部との間に熱媒体としての温水や蒸気等を流通させることにより、被乾燥体を加熱することができる。
【図面の簡単な説明】
(【0011】以降は省略されています)
この特許をJ-PlatPat(特許庁公式サイト)で参照する
関連特許
株式会社GL HAKKO
乾燥装置
4日前
個人
ハンディ傘乾燥丸め器
1か月前
株式会社サタケ
粒状物の乾燥装置
15日前
株式会社サタケ
循環式穀物乾燥機
29日前
株式会社ダイソー
乾熱減容処理装置
2か月前
株式会社チノー
乾燥システム
2か月前
株式会社クレブ
ブーツ乾燥装置
8か月前
株式会社カワタ
粉粒体処理装置
15日前
東レ株式会社
塗膜付きシートの加熱装置
4か月前
東レエンジニアリング株式会社
乾燥装置
2か月前
東レエンジニアリング株式会社
乾燥装置
16日前
エイ・エス・デイ株式会社
乾燥装置
2か月前
株式会社ヨシカワ
乾燥装置
1か月前
株式会社サタケ
穀物乾燥機
2か月前
大東電子株式会社
傘水滴除去装置
8か月前
クリーン・テクノロジー株式会社
乾燥装置
12か月前
クリーン・テクノロジー株式会社
乾燥装置
9か月前
クリーン・テクノロジー株式会社
乾燥装置
8か月前
アントム株式会社
搬送式乾燥炉
6か月前
株式会社ワカミヤ商会
乾燥装置
4か月前
高砂工業株式会社
凍結乾燥装置
7か月前
セイコーエプソン株式会社
乾燥機
5か月前
株式会社カワタ
粉粒体処理容器および乾燥装置
15日前
株式会社カワタ
粉粒体処理装置および乾燥方法
15日前
個人
常服乾燥装置
1か月前
クリーン・テクノロジー株式会社
熱風式乾燥装置
7か月前
株式会社大川原製作所
乾燥システム
7か月前
株式会社大川原製作所
乾燥システム
7か月前
株式会社マクニカ
乾熱減容処理装置
2か月前
株式会社アサヒテクノ
乾燥装置及び乾燥方法
5か月前
特殊電極株式会社
塗装乾燥装置および塗装乾燥方法
7か月前
トヨタ自動車株式会社
乾燥装置
8日前
カワサキ機工株式会社
ネット型乾燥装置
3か月前
株式会社ショウワテクノ
コンテナ容器脱水装置
7か月前
株式会社ワコーシステムコントロール
乾燥装置
15日前
京セラドキュメントソリューションズ株式会社
乾燥装置
7か月前
続きを見る
他の特許を見る