TOP
|
特許
|
意匠
|
商標
特許ウォッチ
Twitter
他の特許を見る
公開番号
2025150138
公報種別
公開特許公報(A)
公開日
2025-10-09
出願番号
2024050861
出願日
2024-03-27
発明の名称
乾燥装置
出願人
東レエンジニアリング株式会社
代理人
主分類
F26B
13/10 20060101AFI20251002BHJP(乾燥)
要約
【課題】基材に皺が生じることを抑制することができる乾燥装置を提供することを目的とする。
【解決手段】搬送される基材に形成された塗膜を乾燥させる乾燥装置であって、基材の下面に対して熱風を吹き付けることにより基材を浮揚させるとともに塗膜を加熱する加熱ノズルを備えており、前記加熱ノズルは、前記熱風を吹き出す吹出部と、前記吹出部から吹き出された前記熱風によって基材の下面に加える圧力を調節する圧力調節部と、を有しており、前記圧力調節部は、基材の下面に加える圧力が、基材の面内方向で基材の搬送方向と直交する幅方向において基材の中央部に向かうにしたがって大きくなるように圧力を調節する構成とする。
【選択図】図3
特許請求の範囲
【請求項1】
搬送される基材に形成された塗膜を乾燥させる乾燥装置であって、
基材の下面に対して熱風を吹き付けることにより基材を浮揚させるとともに塗膜を加熱する加熱ノズルを備えており、
前記加熱ノズルは、前記熱風を吹き出す吹出部と、
前記吹出部から吹き出された前記熱風によって基材の下面に加える圧力を調節する圧力調節部と、を有しており、
前記圧力調節部は、基材の下面に加える圧力が、基材の面内方向で基材の搬送方向と直交する幅方向において基材の中央部に向かうにしたがって大きくなるように圧力を調節することを特徴とする乾燥装置。
続きを表示(約 850 文字)
【請求項2】
前記吹出部は、基材の搬送経路下流側に向かう方向の速度成分を有する前記熱風を吹き出すことを特徴とする請求項1に記載の乾燥装置。
【請求項3】
前記圧力調節部は、前記吹出部を含んでおり、
前記吹出部は、前記搬送経路下流側に向かって開口する前記熱風の吹出口と、
前記吹出口よりも前記搬送経路下流側において基材の前記下面と対面するガイド面と、を有しており、
前記ガイド面は、前記幅方向における両端部それぞれから中央部に向かうにしたがって前記ガイド面と基材との間隔が小さくなるアーチ形状を有していることを特徴とする請求項2に記載の乾燥装置。
【請求項4】
前記吹出部から前記搬送経路下流側に向かって延びるように形成され、前記吹出部から吹き出された前記熱風を前記搬送経路下流側に向かって流れるように誘導するガイド部が設けられていることを特徴とする請求項2又は請求項3に記載の乾燥装置。
【請求項5】
前記圧力調節部は、前記ガイド部を含んでおり、
前記ガイド部は、前記幅方向における両端部それぞれから中央部に向かうにしたがって前記ガイド部と基材との間隔が小さくなるアーチ形状を有していることを特徴とする請求項4に記載の乾燥装置。
【請求項6】
前記圧力調節部は、前記ガイド部を含んでおり、
前記ガイド部には、前記幅方向における前記ガイド部の両端部それぞれの近傍に貫通孔が形成されていることを特徴とする請求項4に記載の乾燥装置。
【請求項7】
前記圧力調節部は、前記吹出部から吹き出す前記熱風の風量を前記幅方向にわたって調節する風量調節部を含んでおり、
前記風量調節部は、前記吹出部から吹き出す前記熱風の風量が、前記幅方向における基材の端部から中央部に向かうにしたがって多くなるように前記熱風の風量を調節することを特徴とする請求項1又は請求項2に記載の乾燥装置。
発明の詳細な説明
【技術分野】
【0001】
本発明は、基材に形成された塗膜を乾燥させる乾燥装置に関するものである。
続きを表示(約 1,600 文字)
【背景技術】
【0002】
リチウムイオン電池は、ロールツーロールで搬送されるアルミ箔や、銅箔などのシート状の基材に対して、電極材料のスラリーを塗布して塗膜を形成し、形成した塗膜を乾燥させることで正極、負極が形成されている。
【0003】
ロールツーロール方式の搬送装置は、基材を巻き出す巻出ロールと、基材を巻き取る巻取ロールと、巻出ロールから巻き出された基材が巻取ロールに巻き取られるまでに経由する複数の搬送ロールと、を有している。そして、搬送装置は、それぞれのロールによって基材に所定の張力を付与しながら搬送している(たとえば、下記特許文献1)。
【0004】
また、搬送装置による基材の搬送経路上には、塗膜を乾燥させるための乾燥装置が設けられている。この乾燥装置は、基材が通過する筐体部と、筐体部内において基材の搬送経路に沿って並んで設けられた複数の加熱ノズルと、を有している。そして、乾燥装置は、搬送中の基材の下面に対して加熱ノズルそれぞれから熱風を吹き付けることにより、筐体部内の温度を高めて基材に形成された塗膜を加熱すると同時に、熱風の風圧によって基材を浮揚させるようになっている(たとえば、下記特許文献2)。
【先行技術文献】
【特許文献】
【0005】
特開2012-097917号公報
特開2014-173803号公報
【発明の概要】
【発明が解決しようとする課題】
【0006】
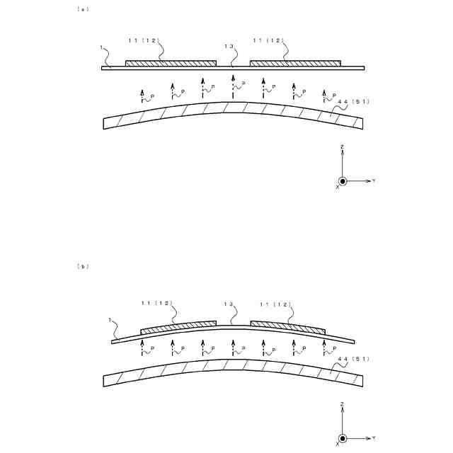
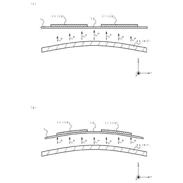
しかし、上記乾燥装置では、基材に皺が生じる場合があった。具体的には、上記搬送装置によって基材に付与される張力や塗膜乾燥時の基材の温度変化による熱収縮により、基材の面内方向で基材の搬送方向と直交する幅方向において基材が中央部に向かって圧縮され、基材に皺が生じる場合がある。ここで、上記乾燥装置では、筐体部内において加熱ノズルから吹き出す熱風の風圧によって基材を浮揚させているため、上記搬送装置によって付与される張力の影響や塗膜乾燥時の基材の温度変化による熱収縮の影響を基材が受けやすくなっており、基材に皺が生じやすくなっている。このように、基材に皺が生じると、基材の巻き取り不良などの問題が生じる可能性があった。
【0007】
本発明は、上記の問題点を鑑みてなされたものであり、基材に皺が生じることを抑制することができる乾燥装置を提供することを目的としている。
【課題を解決するための手段】
【0008】
上記課題を解決する本発明の乾燥装置は、搬送される基材に形成された塗膜を乾燥させる乾燥装置であって、基材の下面に対して熱風を吹き付けることにより基材を浮揚させるとともに塗膜を加熱する加熱ノズルを備えており、前記加熱ノズルは、前記熱風を吹き出す吹出部と、前記吹出部から吹き出された前記熱風によって基材の下面に加える圧力を調節する圧力調節部と、を有しており、前記圧力調節部は、基材の下面に加える圧力が、基材の面内方向で基材の搬送方向と直交する幅方向において基材の中央部に向かうにしたがって大きくなるように圧力を調節することを特徴としている。
【0009】
上記乾燥装置によれば、圧力調節部によって、吹出部から吹き出された熱風によって基材の下面に加える圧力を、基材の面内方向で基材の搬送方向と直交する幅方向(以下、幅方向)において基材の中央部に向かうにしたがって大きくなるように調節するため、基材が上向きに張った状態で基材を搬送させることができる。これにより、基材に上記幅方向への拡幅力を作用させ、基材に皺が生じないように基材を伸ばすことができる。したがって、基材に皺が生じることを抑制することができる。
【0010】
また、前記吹出部は、基材の搬送経路下流側に向かう方向の速度成分を有する前記熱風を吹き出す構成としてもよい。
(【0011】以降は省略されています)
この特許をJ-PlatPat(特許庁公式サイト)で参照する
関連特許
個人
ハンディ傘乾燥丸め器
2か月前
株式会社サタケ
循環式穀物乾燥機
2か月前
株式会社サタケ
粒状物の乾燥装置
1か月前
株式会社ダイソー
乾熱減容処理装置
3か月前
株式会社チノー
乾燥システム
4か月前
株式会社カワタ
粉粒体処理装置
1か月前
株式会社クレブ
ブーツ乾燥装置
9か月前
東レエンジニアリング株式会社
乾燥装置
1か月前
東レ株式会社
塗膜付きシートの加熱装置
6か月前
東レエンジニアリング株式会社
乾燥装置
3か月前
エイ・エス・デイ株式会社
乾燥装置
3か月前
株式会社サタケ
穀物乾燥機
3か月前
株式会社ヨシカワ
乾燥装置
3か月前
株式会社ヒメジ理化イノテック
乾燥装置
27日前
大東電子株式会社
傘水滴除去装置
10か月前
クリーン・テクノロジー株式会社
乾燥装置
9か月前
クリーン・テクノロジー株式会社
乾燥装置
25日前
クリーン・テクノロジー株式会社
乾燥装置
10か月前
株式会社ワカミヤ商会
乾燥装置
5か月前
高砂工業株式会社
凍結乾燥装置
8か月前
アントム株式会社
搬送式乾燥炉
7か月前
株式会社カワタ
粉粒体処理容器および乾燥装置
1か月前
セイコーエプソン株式会社
乾燥機
6か月前
株式会社カワタ
粉粒体処理装置および乾燥方法
1か月前
株式会社大川原製作所
乾燥システム
8か月前
クリーン・テクノロジー株式会社
熱風式乾燥装置
9か月前
個人
常服乾燥装置
2か月前
株式会社大川原製作所
乾燥システム
8か月前
株式会社マクニカ
乾熱減容処理装置
3か月前
株式会社アサヒテクノ
乾燥装置及び乾燥方法
6か月前
特殊電極株式会社
塗装乾燥装置および塗装乾燥方法
8か月前
カワサキ機工株式会社
ネット型乾燥装置
5か月前
株式会社KMコーポレーション
二重効用乾燥システム
4日前
株式会社ワコーシステムコントロール
乾燥装置
1か月前
トヨタ自動車株式会社
乾燥装置
1か月前
株式会社ショウワテクノ
コンテナ容器脱水装置
9か月前
続きを見る
他の特許を見る