TOP
|
特許
|
意匠
|
商標
特許ウォッチ
Twitter
他の特許を見る
10個以上の画像は省略されています。
公開番号
2025158211
公報種別
公開特許公報(A)
公開日
2025-10-17
出願番号
2024060531
出願日
2024-04-04
発明の名称
顕微鏡システム
出願人
株式会社エビデント
代理人
インフォート弁理士法人
主分類
G02B
21/18 20060101AFI20251009BHJP(光学)
要約
【課題】顕微鏡の視野内の対象部位を適切に素早く発見することを可能にする。
【解決手段】透過照明光源121を含み、透過明視野観察法による接眼レンズ111からの対象物の観察が可能である第1光学系と、少なくとも一部の光学系を第1光学系と共用し、対象物についての接眼レンズ111からの観察とは異なる観察が可能である第2光学系と、少なくとも異なる観察によるデジタル画像を、第2光学系を介して取得するカメラ300と、カメラ300により第2光学系を介して取得されたデジタル画像に対して物体検出を行い、物体検出の結果の情報を含む補助情報を出力する処理装置500と、第1光学系の光軸上に形成される透過明視野観察法による光学画像に、補助情報を重ねるARディスプレイ400と、を顕微鏡システム1が備える。
【選択図】図1
特許請求の範囲
【請求項1】
透過照明光源を含み、透過明視野観察法による接眼レンズからの対象物の観察が可能である第1光学系と、
少なくとも一部の光学系を前記第1光学系と共用し、前記対象物についての前記接眼レンズからの観察とは異なる観察が可能である第2光学系と、
少なくとも前記異なる観察によるデジタル画像を、前記第2光学系を介して取得する撮像素子と、
前記撮像素子により前記第2光学系を介して取得されたデジタル画像に対して物体検出を行い、前記物体検出の結果の情報を含む補助情報を出力する処理装置と、
前記第1光学系の光軸上に形成される透過明視野観察法による光学画像に、前記補助情報を重ねる重畳装置と、
を備えることを特徴とする顕微鏡システム。
続きを表示(約 1,200 文字)
【請求項2】
請求項1に記載の顕微鏡システムにおいて、
前記撮像素子は、さらに、前記光学画像についてのデジタル画像を、前記第1光学系を介して取得可能であり、
前記処理装置は、前記撮像素子により前記第1光学系を介して取得されたデジタル画像に対しても前記物体検出を行って前記補助情報を出力し、
前記重畳装置は、前記第1光学系を介して取得されたデジタル画像と前記第2光学系を介して取得されたデジタル画像とのそれぞれに対する前記物体検出を前記処理装置が行うことによって出力されるそれぞれの前記補助情報を前記光学画像に重ねる、
ことを特徴とする顕微鏡システム。
【請求項3】
請求項1または2に記載の顕微鏡システムにおいて、
前記補助情報は、前記対象物の存在領域を表す情報であって前記物体検出によって推定された前記存在領域を表す情報を、前記結果の情報として含む、
ことを特徴とする顕微鏡システム。
【請求項4】
請求項2に記載の顕微鏡システムにおいて、
前記第2光学系での観察における観察法の切り替えを検出して前記切り替えの検出結果を前記処理装置に通知するセンサを更に備える、
ことを特徴とする顕微鏡システム。
【請求項5】
請求項2に記載の顕微鏡システムにおいて、
前記撮像素子として、前記光学画像についてのデジタル画像を、前記第1光学系を介して取得する第1の撮像素子と、前記異なる観察によるデジタル画像を、前記第2光学系を介して取得する第2の撮像素子とを少なくとも備える、
ことを特徴とする顕微鏡システム。
【請求項6】
請求項5に記載の顕微鏡システムにおいて、
前記光学画像についてのデジタル画像と前記異なる観察によるデジタル画像とが鏡映の関係にある場合には、前記処理装置は、前記光学画像についてのデジタル画像と前記異なる観察によるデジタル画像とのうちの一方に対して鏡像反転を行った上で前記物体検出を行う、
ことを特徴とする顕微鏡システム。
【請求項7】
請求項2に記載の顕微鏡システムにおいて、
前記異なる観察は、偏光観察法による観察を含み、
前記処理装置は、前記第2光学系を介して取得された偏光観察法による観察によるデジタル画像に対して前記物体検出を行う、
ことを特徴とする顕微鏡システム。
【請求項8】
請求項1に記載の顕微鏡システムにおいて、
前記接眼レンズからの観察は正立観察であり、
前記異なる観察は倒立観察であり、
前記処理装置は、前記第2光学系を介して取得された倒立観察によるデジタル画像に対して前記物体検出を行う、
ことを特徴とする顕微鏡システム。
発明の詳細な説明
【技術分野】
【0001】
本明細書の開示は、顕微鏡システムに関する。
続きを表示(約 1,800 文字)
【背景技術】
【0002】
標本の画像を解析して対象部位を検出し、その検出結果を接眼レンズによる観察像に重畳表示するというAR(Augmented Reality、拡張現実)顕微鏡に関する技術が、例えば特許文献1に記載されている。
【0003】
また、ART(Assisted Reproductive Technology、生殖補助医療)の一種である顕微授精に好適な顕微鏡に関する技術が、例えば特許文献2に記載されている。
【先行技術文献】
【特許文献】
【0004】
国際公開第2018/231204号
国際公開第2012/150689号
【発明の概要】
【発明が解決しようとする課題】
【0005】
従来のAR顕微鏡では、接眼レンズによる観察像と略同一の画像、すなわち、観察像と略同一の視野の画像であって同一の観察法により取得した画像(例えば透過明視野観察画像)を対象とした解析のみによって対象部位の検出が行われる。しかしながら、例えば対象部位が透過明視野観察法では対象部位の確認が困難な場合や、標本内で対象部位を観察方向において遮る位置に異物が存在する場合などでは、このような解析では対象部位の検出が難しいことがある。従って、上述したような解析のみによる対象部位の検出では、対象部位の検出に時間を要したり、また、その検出の精度が低下したりすることが考えられる。
【0006】
以上のような実情を踏まえ、本発明の一側面に係る目的は、顕微鏡の視野内の対象部位を適切に素早く発見することを可能にする技術を提供することである。
【課題を解決するための手段】
【0007】
本発明の一態様に係る顕微鏡システムは、透過照明光源を含み、透過明視野観察法による接眼レンズからの対象物の観察が可能である第1光学系と、少なくとも一部の光学系を前記第1光学系と共用し、前記対象物についての前記接眼レンズからの観察とは異なる観察が可能である第2光学系と、少なくとも前記異なる観察によるデジタル画像を、前記第2光学系を介して取得する撮像素子と、前記撮像素子により前記第2光学系を介して取得されたデジタル画像に対して物体検出を行い、前記物体検出の結果の情報を含む補助情報を出力する処理装置と、前記第1光学系の光軸上に形成される透過明視野観察法による光学画像に、前記補助情報を重ねる重畳装置と、を備える。
【発明の効果】
【0008】
上記の態様によれば、顕微鏡の視野内の対象部位を適切に素早く発見することが可能になる。
【図面の簡単な説明】
【0009】
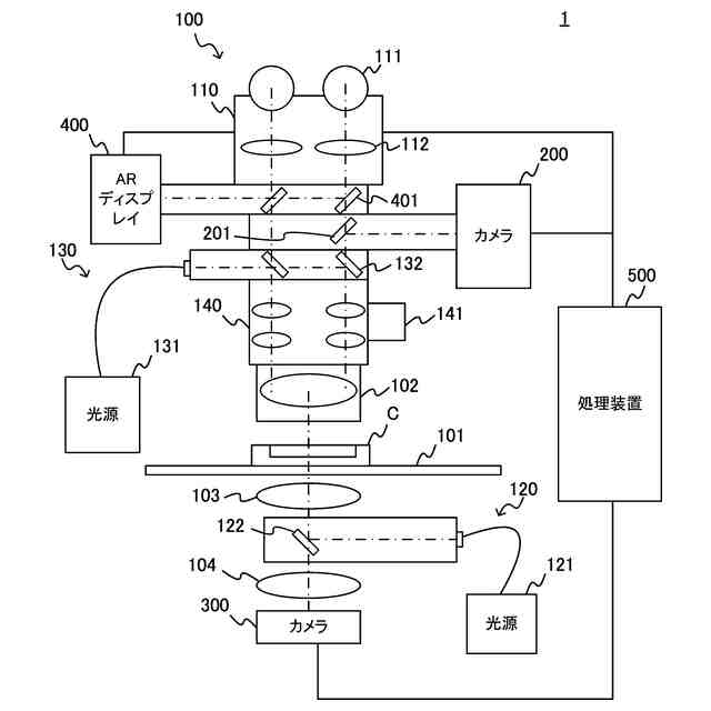
第1の実施形態に係る顕微鏡システムを例示した図である。
容器内の試料の第1の例を示した図である。
図2に示す試料観察時における補助画像の表示例を示した図である。
容器内の試料の第2の例を示した図である。
図4に示す試料観察時における補助画像の表示例を示した図である。
容器内の試料の第3の例を示した図である。
図6に示す試料観察時における補助画像の表示例を示した図である。
ARサポート設定の変更例を示した図である。
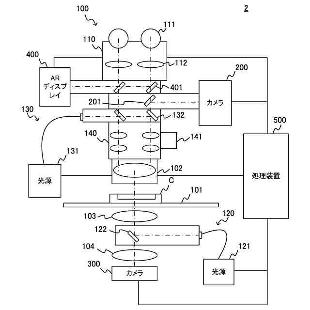
第2の実施形態に係る顕微鏡システムを例示した図である。
図9に示す顕微鏡システムにおける照明と露光に関するタイミングチャートの一例を示した図である。
第3の実施形態に係る顕微鏡システムの照明光の波長について説明するための図である。
第4の実施形態に係る顕微鏡システムを例示した図である。
容器内の試料の第4の例を示した図である。
第5の実施形態に係る顕微鏡システムによる、図13に示す試料観察時における補助画像の表示例を示した図である。
第6の実施形態に係る顕微鏡システムを例示した図である。
補助画像の重畳表示例を説明する図である。
第7の実施形態に係る顕微鏡システムを例示した図である。
処理装置を実現するためのコンピュータのハードウェア構成を例示した図である。
教師データについて説明するための図である。
【発明を実施するための形態】
【0010】
以下、図面を参照しながら、各実施形態を詳細に説明する。
(【0011】以降は省略されています)
この特許をJ-PlatPat(特許庁公式サイト)で参照する
関連特許
株式会社エビデント
顕微鏡システム
24日前
個人
立体像表示装置
27日前
住友化学株式会社
偏光板
24日前
カンタツ株式会社
光学系
19日前
株式会社シグマ
結像光学系
13日前
東レ株式会社
積層フィルム
1か月前
株式会社シグマ
結像光学系
3日前
住友化学株式会社
垂直偏光板
24日前
東レ株式会社
貼合体の製造方法
27日前
東レ株式会社
赤外線遮蔽構成体
27日前
日本精機株式会社
ミラーユニット
12日前
古河電気工業株式会社
融着機
19日前
日本電気株式会社
光モジュール
13日前
日東電工株式会社
導光部材
3日前
日本電気株式会社
光集積回路素子
1か月前
個人
多方向視差効果のための微細穴加工
14日前
日東電工株式会社
光学積層体
5日前
三菱電機株式会社
レンズモジュール
24日前
個人
眼鏡装着位置変更具および眼鏡
25日前
京セラ株式会社
光学系
11日前
日東電工株式会社
調光フィルム
1か月前
住友化学株式会社
偏光板
27日前
住友化学株式会社
偏光板
27日前
日本精機株式会社
ヘッドアップディスプレイ
3日前
AGC株式会社
インフィニティミラー
20日前
住友化学株式会社
積層体
1か月前
日本精機株式会社
ヘッドアップディスプレイ
6日前
住友化学株式会社
偏光積層体
27日前
住友化学株式会社
光学積層体
27日前
新光電気工業株式会社
光導波路部品
24日前
日本精機株式会社
ヘッドアップディスプレイ装置
1か月前
新光電気工業株式会社
光導波路部品
24日前
日本精機株式会社
ヘッドアップディスプレイ装置
3日前
日本精機株式会社
ヘッドアップディスプレイ装置
4日前
住友ベークライト株式会社
積層体の製造方法
1か月前
キヤノン株式会社
レンズ装置および撮像装置
1か月前
続きを見る
他の特許を見る