TOP
|
特許
|
意匠
|
商標
特許ウォッチ
Twitter
他の特許を見る
10個以上の画像は省略されています。
公開番号
2025157599
公報種別
公開特許公報(A)
公開日
2025-10-15
出願番号
2025130454,2024563474
出願日
2025-08-05,2024-05-29
発明の名称
導電部材、電気化学セル装置、モジュールおよびモジュール収容装置
出願人
京セラ株式会社
代理人
弁理士法人酒井国際特許事務所
主分類
H01M
8/1286 20160101AFI20251007BHJP(基本的電気素子)
要約
【課題】性能を向上することができる導電部材、電気化学セル装置、モジュールおよびモジュール収容装置を提供する。
【解決手段】導電部材は、金属板と、第1多孔質層と、第2多孔質層とを備える。金属板は、第1面および該第1面の反対側に位置する第2面を有し、第1面と第2面との間で気体が流通可能である。第1多孔質層は、第1面に位置する。第2多孔質層は、第2面に位置する。金属板の熱膨張係数をα0とし、第1多孔質層の熱膨張係数をα1とし、第2多孔質層の熱膨張係数をα2とした場合、α1<α0およびα2<α0、またはα1>α0およびα2>α0の関係を有する。
【選択図】図1A
特許請求の範囲
【請求項1】
第1面と、該第1面の反対側に位置する第2面とを有し、前記第1面と前記第2面との間で気体が流通可能な金属板と、
前記第1面に接する第1多孔質層と、
前記第2面に接する第2多孔質層と
を備え、
前記金属板の熱膨張係数をα0とし、前記第1多孔質層の熱膨張係数をα1とし、前記第2多孔質層の熱膨張係数をα2とした場合、
α1<α0およびα2<α0、またはα1>α0およびα2>α0の関係を有する
導電部材。
続きを表示(約 540 文字)
【請求項2】
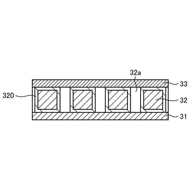
前記金属板は、前記第1面と前記第2面とを貫通する複数の開口を有する
請求項1に記載の導電部材。
【請求項3】
前記第1多孔質層および前記第2多孔質層は、導電性を有する
請求項1に記載の導電部材。
【請求項4】
前記第1多孔質層、前記第2多孔質層および前記金属板は、
α1<α0およびα2<α0の関係を有する
請求項1に記載の導電部材。
【請求項5】
|α1-α2|は、|α0-α1|および|α0-α2|のいずれよりも小さい
請求項1に記載の導電部材。
【請求項6】
素子部を有する2以上の電気化学セルと、
請求項1~5のいずれか1つに記載の導電部材と
を備える電気化学セル装置。
【請求項7】
請求項6に記載の電気化学セル装置と、
前記電気化学セル装置を収納する収納容器と
を備えるモジュール。
【請求項8】
請求項7に記載のモジュールと、
前記モジュールの運転を行うための補機と、
前記モジュールおよび前記補機を収容する外装ケースと
を備えるモジュール収容装置。
発明の詳細な説明
【技術分野】
【0001】
本開示は、導電部材、電気化学セル装置、モジュールおよびモジュール収容装置に関する。
続きを表示(約 1,400 文字)
【背景技術】
【0002】
近年、次世代エネルギーとして、燃料電池セルを複数有する燃料電池セルスタック装置が種々提案されている。燃料電池セルは、水素含有ガスなどの燃料ガスと空気などの酸素含有ガスとを用いて電力を得ることができる電気化学セルの一種である。
【先行技術文献】
【特許文献】
【0003】
特開2004-273213号公報
特開2019-179755号公報
特開2013-41717号公報
【発明の概要】
【0004】
実施形態の一態様に係る導電部材は、金属板と、第1多孔質層と、第2多孔質層とを備える。金属板は、第1面および該第1面の反対側に位置する第2面を有し、前記第1面と前記第2面との間で気体が流通可能である。第1多孔質層は、前記第1面に位置する。第2多孔質層は、前記第2面に位置する。前記金属板の熱膨張係数をα0とし、前記第1多孔質層の熱膨張係数をα1とし、前記第2多孔質層の熱膨張係数をα2とした場合、これらは、α1<α0およびα2<α0、またはα1>α0およびα2>α0の関係を有する。
【0005】
また、本開示の電気化学セル装置は、素子部を有する2以上の電気化学セルと、上記に記載の導電部材とを備える。
【0006】
また、本開示のモジュールは、上記に記載の電気化学セル装置と、電気化学セル装置を収納する収納容器とを備える。
【0007】
また、本開示のモジュール収容装置は、上記に記載のモジュールと、モジュールの運転を行うための補機と、モジュールおよび補機を収容する外装ケースとを備える。
【図面の簡単な説明】
【0008】
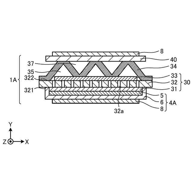
図1Aは、第1の実施形態に係る電気化学セル装置の一例を示す断面図である。
図1Bは、第1の実施形態に係る電気化学セル装置が有する電気化学セルの一例を空気極側からみた平面図である。
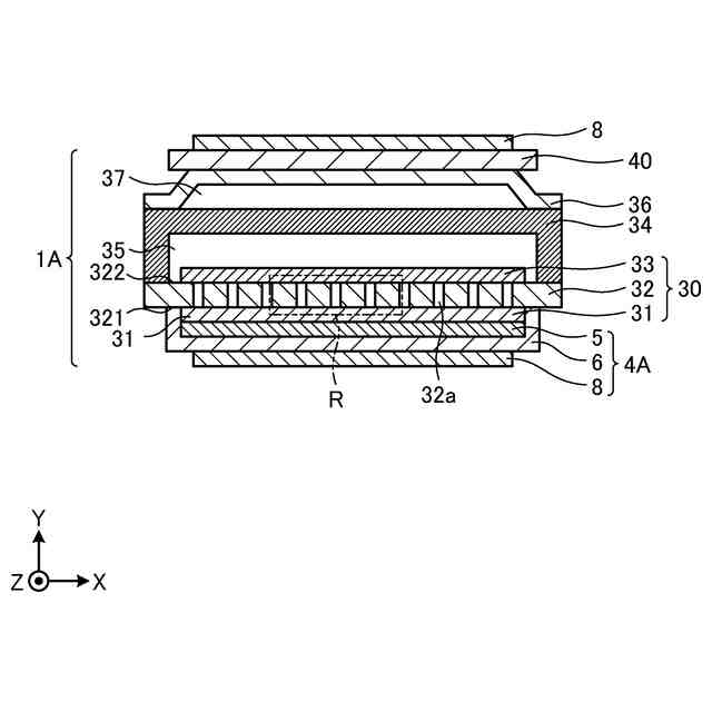
図1Cは、図1Aに示す領域Rを拡大した断面図である。
図2Aは、第1の実施形態に係る電気化学セル装置の別の一例を示す断面図である。
図2Bは、第1の実施形態に係る電気化学セル装置の別の一例を示す断面図である。
図3Aは、第1の実施形態に係る電気化学セル装置の一例を示す斜視図である。
図3Bは、図3Aに示すX-X線の断面図である。
図3Cは、第1の実施形態に係る電気化学セル装置の一例を示す上面図である。
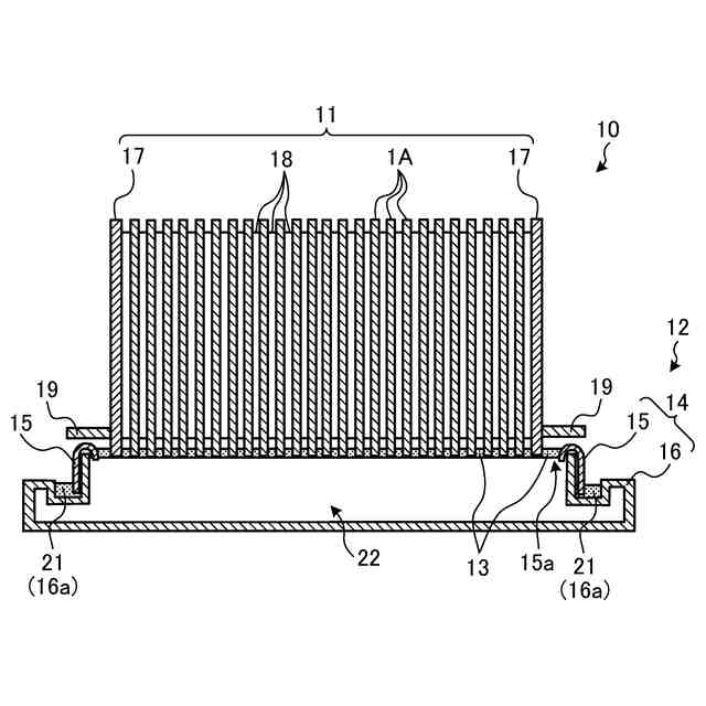
図4は、第1の実施形態に係るモジュールの一例を示す外観斜視図である。
図5は、第1の実施形態に係るモジュール収容装置の一例を概略的に示す分解斜視図である。
図6は、第2の実施形態に係る電気化学セルの一例を示す斜視図である。
図7は、図6に示す電気化学セルの部分断面図である。
【発明を実施するための形態】
【0009】
上記した燃料電池セルスタック装置では、たとえば、発電性能、電解性能などの性能を向上させる点で改善の余地があった。
【0010】
そこで、性能を向上することができる導電部材、電気化学セル装置、モジュールおよびモジュール収容装置の提供が期待されている。
(【0011】以降は省略されています)
この特許をJ-PlatPat(特許庁公式サイト)で参照する
関連特許
東ソー株式会社
絶縁電線
1か月前
APB株式会社
蓄電セル
29日前
ローム株式会社
半導体装置
1か月前
マクセル株式会社
電源装置
23日前
株式会社東芝
端子台
23日前
株式会社GSユアサ
蓄電装置
2日前
株式会社GSユアサ
蓄電装置
24日前
株式会社GSユアサ
蓄電装置
24日前
富士電機株式会社
電磁接触器
2日前
三菱電機株式会社
回路遮断器
10日前
株式会社GSユアサ
蓄電装置
16日前
株式会社ホロン
冷陰極電子源
1か月前
日新イオン機器株式会社
基板処理装置
26日前
日本特殊陶業株式会社
保持装置
15日前
トヨタ自動車株式会社
バッテリ
29日前
トヨタ自動車株式会社
蓄電装置
24日前
日本特殊陶業株式会社
保持装置
1か月前
トヨタ自動車株式会社
冷却構造
1か月前
北道電設株式会社
配電具カバー
29日前
トヨタ自動車株式会社
電池パック
1か月前
株式会社トクヤマ
シリコンエッチング液
1か月前
ヒロセ電機株式会社
電気コネクタ
2日前
住友電装株式会社
コネクタ
2日前
株式会社デンソー
電子装置
26日前
トヨタ自動車株式会社
密閉型電池
25日前
矢崎総業株式会社
コネクタ
2日前
株式会社レゾナック
冷却器
10日前
日亜化学工業株式会社
半導体レーザ素子
26日前
ローム株式会社
半導体モジュール
3日前
トヨタ自動車株式会社
電池パック
1か月前
住友電装株式会社
コネクタ
1か月前
ローム株式会社
半導体装置
1か月前
甲神電機株式会社
変流器及び零相変流器
17日前
日本無線株式会社
レーダアンテナ
17日前
株式会社トクヤマ
シリコンエッチング液
1か月前
株式会社デンソー
熱交換部材
17日前
続きを見る
他の特許を見る