TOP
|
特許
|
意匠
|
商標
特許ウォッチ
Twitter
他の特許を見る
10個以上の画像は省略されています。
公開番号
2025157236
公報種別
公開特許公報(A)
公開日
2025-10-15
出願番号
2025103685,2024505142
出願日
2025-06-19,2022-07-29
発明の名称
連結アセンブリ及びベビーシート
出願人
ワンダーランド スイツァーランド アーゲー
代理人
個人
,
個人
主分類
B60N
2/28 20060101AFI20251007BHJP(車両一般)
要約
【課題】連結後にシート本体の高さを下方に柔軟に調整することを可能にし、単純な構造という利点を有する連結アセンブリを提供する。
【解決手段】コネクタ12は、フレーム本体11と移動可能に連結され、かつ作動位置とリセット位置とを有する。コネクタが作動位置にある場合、コネクタはフレーム本体と角度を成し、コネクタがリセット位置にある場合、コネクタはフレーム本体と面一になる。コネクタがフレーム本体に対して作動位置とリセット位置との間の移動によって、フレーム本体に連結されたシート本体が、コネクタに対して下方に移動することを許容する。本開示の連結アセンブリを連結した後、シート本体の高さを下方に柔軟に調整することができ、構造が簡単で、組み立てが便利で、製造コストが低いという利点がある。本開示はまた、連結アセンブリを有するベビーカーのフレームを提供する。
【選択図】図4
特許請求の範囲
【請求項1】
連結アセンブリであって、シート本体に連結するためのフレーム本体と、車両のシートに連結するためのコネクタとを含み、前記コネクタは、前記フレーム本体と移動可能に連結され、かつ作動位置とリセット位置とを有し前記コネクタが前記作動位置にある場合、前記コネクタは、前記フレーム本体と角度を成し、前記コネクタが前記リセット位置にある場合、前記コネクタは、前記フレーム本体と面一になり、前記コネクタが前記フレーム本体に対して前記作動位置と前記リセット位置との間の移動によって、前記フレーム本体に連結された前記シート本体が、前記コネクタに対して下方に移動することを許容する、連結アセンブリ。
続きを表示(約 940 文字)
【請求項2】
前記コネクタは、前記フレーム本体に可撓的に連結される、請求項1に記載の連結アセンブリ。
【請求項3】
前記コネクタは、前記フレーム本体に枢動可能に連結される、請求項1に記載の連結アセンブリ。
【請求項4】
前記連結アセンブリは、枢軸をさらに備え、前記フレーム本体は外側フレームを有し、前記コネクタは連結部を有し、前記連結部は前記枢軸を介して前記外側フレームに枢動可能に連結される、請求項3に記載の連結アセンブリ。
【請求項5】
前記連結アセンブリは、前記外側フレームと前記コネクタとの間に設けられたブッシングをさらに備える、請求項4に記載の連結アセンブリ。
【請求項6】
前記外側フレームには、係合口が設けられ、位置決め突起は、前記係合口に対応するように前記ブッシングから外向きに延在し、前記位置決め突起は、前記係合口と係合する、請求項5に記載の連結アセンブリ。
【請求項7】
前記連結アセンブリは、作動位置にある前記コネクタを規制するための位置規制アセンブリをさらに備える、請求項5または6に記載の連結アセンブリ。
【請求項8】
前記位置規制アセンブリは、第1の当接部と、第2の当接部とを含み、前記コネクタは、前記第1の当接部を有し、前記ブッシングは、前記コネクタに向かって延在して前記第2の当接部を形成し、前記コネクタが前記作動位置にある場合、前記第1の当接部は、前記外側フレームの内壁に当接し、前記第2の当接部は、前記コネクタの外壁に当接する、請求項7に記載の連結アセンブリ。
【請求項9】
前記枢軸の一端は、径方向の外側に延在して係合ラグを形成し、前記コネクタには、前記枢軸が通過する枢孔が設けられ、前記枢孔の一側には、前記係合ラグに対応する係合孔が設けられる、請求項4から8のいずれか1項に記載の連結アセンブリ。
【請求項10】
前記係合ラグは、前記枢軸の両側に対称的に配置され、係合孔は、前記枢孔の両側に対称的に設けられる、請求項4から9のいずれか1項に記載の連結アセンブリ。
(【請求項11】以降は省略されています)
発明の詳細な説明
【技術分野】
【0001】
本開示は、チャイルド安全シートに関し、特に連結アセンブリ及びベビーシートに関する。
続きを表示(約 1,100 文字)
【背景技術】
【0002】
日常生活において、ベビーカーは、ますます一般的になってきており、便利性を提供しながら、可能な限り目に見える安全な環境を家族に提供する。
【0003】
チャイルド安全シートは、乳幼児が移動するための不可欠なキャリアとなっている。一般に、チャイルド安全シートには、車両に連結するためのISOFIXコネクタが装備されている。一般的なISOFIXコネクタは、通常、車両に剛接合されており、即ち、ISOFIXコネクタは、シート本体及びISOFIXコネクタがISOFIXコネクタが車両に連結された後に同じ高さ位置に留まることができるようにシート本体に固定連結されており、これにより、シート本体を下降させることが困難になり、その結果、シート本体の全高が比較的高くなり、乳幼児が着座した後に乳幼児の頭部が車両のルーフに衝突する可能性が高くなる。
【0004】
上記の問題を克服するために、連結アセンブリ及びベビーシートを提供する必要がある。
【発明の概要】
【0005】
本開示の目的は、連結後にシート本体の高さを下方に柔軟に調整することを可能にし、単純な構造という利点を有する連結アセンブリを提供することである。
【0006】
本開示の別の目的は、単純な構造という利点を有する、上述の連結アセンブリを有するベビーシートを提供することである。
【0007】
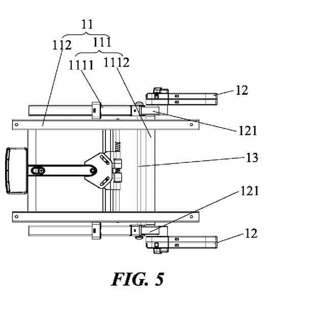
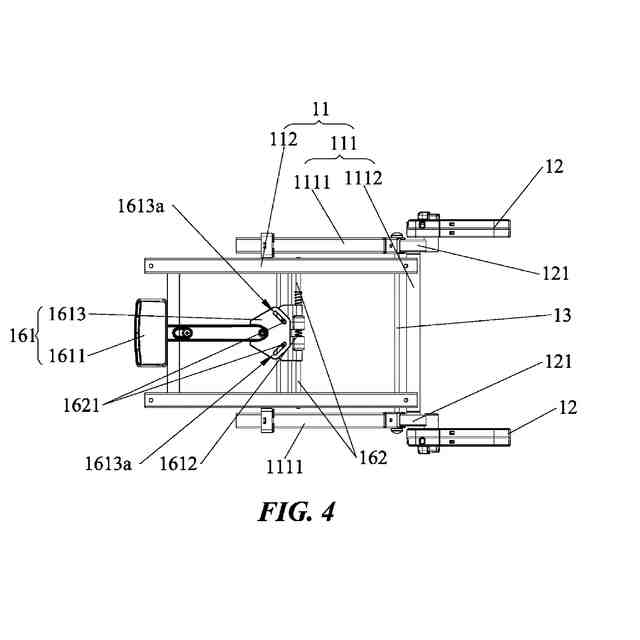
上記の目的を達成するために、本開示は、連結アセンブリを提供する。連結アセンブリは、シート本体に連結するためのフレーム本体と、車両のシートに連結するためのコネクタとを含む。コネクタは、フレーム本体と移動可能に連結される。コネクタは、作動位置とリセット位置とを有する。コネクタが作動位置にある場合、コネクタは、フレーム本体と角度を成し、コネクタがリセット位置にある場合、コネクタは、フレーム本体と面一になる。コネクタがフレーム本体に対して作動位置とリセット位置との間の移動によって、フレーム本体に連結されたシート本体が、コネクタに対して下方に移動することを許容する。
【0008】
好ましくは、コネクタは、フレーム本体に可撓的に連結される。
【0009】
好ましくは、コネクタは、フレーム本体に枢動可能に連結される。
【0010】
具体的には、連結アセンブリは、枢軸をさらに含み、フレーム本体は外側フレームを有し、コネクタは連結部分を有し、連結部は枢軸を介して外側フレームと枢動可能に連結される。
(【0011】以降は省略されています)
この特許をJ-PlatPat(特許庁公式サイト)で参照する
関連特許
個人
上部一体型自動車
15日前
個人
マスタシリンダ
22日前
株式会社ニフコ
収納装置
1か月前
日本精機株式会社
画像投映装置
11日前
日本精機株式会社
車載表示装置
1か月前
日本精機株式会社
車両用投射装置
16日前
日本精機株式会社
車両用表示装置
11日前
日本精機株式会社
車両用投影装置
29日前
株式会社SUBARU
車両
9日前
井関農機株式会社
作業車両
29日前
日産自動車株式会社
伝動部材
16日前
帝人株式会社
衝撃吸収構造体
1か月前
エムケー精工株式会社
車両処理装置
19日前
個人
自動車の非常ブレーキアシスト
1か月前
日本化薬株式会社
ガス発生器
9日前
エムケー精工株式会社
車両処理装置
1か月前
日本化薬株式会社
ガス発生器
1か月前
日本化薬株式会社
ガス発生器
11日前
日本化薬株式会社
ガス発生器
1か月前
極東開発工業株式会社
タンク車
1日前
株式会社アイシン
空気袋
19日前
トヨタ自動車株式会社
制御装置
10日前
株式会社SUBARU
車体構造
24日前
豊田合成株式会社
乗員保護装置
9日前
トヨタ自動車株式会社
電動車両
15日前
株式会社小糸製作所
車両用灯具
16日前
トヨタ紡織株式会社
車両
1か月前
トヨタ自動車株式会社
制御装置
1か月前
スズキ株式会社
ブレーキシステム
1か月前
井関農機株式会社
作業車両
8日前
日本精機株式会社
車両用投射型表示装置
17日前
和光工業株式会社
昇降装置
3日前
トヨタ自動車株式会社
車両
8日前
株式会社SeaDog
ロールバー
29日前
スズキ株式会社
車両用バンパ
29日前
マツダ株式会社
運転支援装置
8日前
続きを見る
他の特許を見る