TOP
|
特許
|
意匠
|
商標
特許ウォッチ
Twitter
他の特許を見る
公開番号
2025156377
公報種別
公開特許公報(A)
公開日
2025-10-14
出願番号
2025119952,2024096639
出願日
2025-07-16,2019-11-29
発明の名称
加工品質測定装置
出願人
株式会社東京精密
代理人
個人
,
個人
,
個人
,
個人
主分類
B24B
49/12 20060101AFI20251002BHJP(研削;研磨)
要約
【課題】ワークに形成された被加工部の加工品質を精度良く測定することができる加工品質測定装置を提供する。
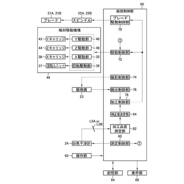
【解決手段】加工ヘッドと一体に設けられた白色干渉計24であって、ワークWに形成されている被加工部に向けて白色光を出射し且つ被加工部で反射された白色光と参照面で反射された白色光との干渉信号を検出する白色干渉計24と、相対移動機構49を駆動して、加工ヘッド及び白色干渉計24の垂直走査を実行して、被加工部で反射される白色光の光路長を変化させる走査制御部(移動制御部72)と、垂直走査の間に白色干渉計24から出力される干渉信号に基づき、被加工部の加工品質を測定する加工品質測定部82と、を備える。
【選択図】図2
特許請求の範囲
【請求項1】
ワークを保持するテーブルと、
前記テーブルに保持された前記ワークの加工を行う加工ヘッドと、
前記テーブルに対して前記加工ヘッドを相対移動させる相対移動機構と、
を備えるワーク加工装置により前記ワークに形成された被加工部の加工品質を測定する加工品質測定装置において、
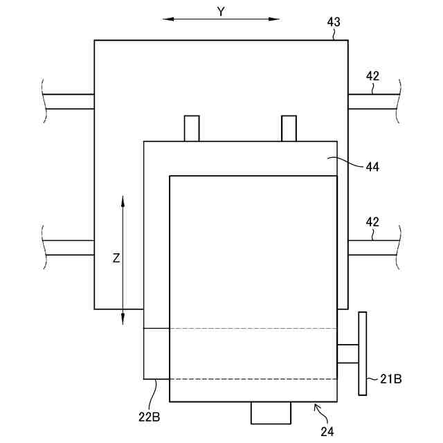
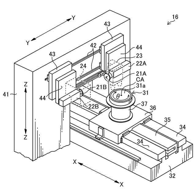
前記加工ヘッドと一体に設けられた白色干渉計であって、前記ワークに形成されている被加工部に向けて白色光を出射し且つ前記被加工部で反射された前記白色光と参照面で反射された前記白色光との干渉信号を検出する白色干渉計と、
前記相対移動機構を駆動して、前記加工ヘッド及び前記白色干渉計を前記テーブルに対して垂直な方向に一体に相対移動させる垂直走査を実行して、前記被加工部で反射される前記白色光の光路長を変化させる走査制御部と、
前記垂直走査の間に前記白色干渉計から出力される前記干渉信号に基づき、前記被加工部の加工品質を測定する加工品質測定部と、
を備える加工品質測定装置。
発明の詳細な説明
【技術分野】
【0001】
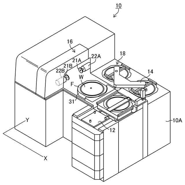
本発明は、ワークの加工を行うワーク加工装置、ワーク加工装置の制御方法、及びこのワーク加工装置に接続されたサーバに関する。
続きを表示(約 2,300 文字)
【背景技術】
【0002】
スピンドルによって高速に回転される円盤状のブレードによってウェーハ等のワークを切削加工するダイシング装置(ワーク加工装置)が知られている。このダイシング装置のブレードは使用により磨耗するため、ブレードによるワークの切断面にチッピングが生じる場合がある。また、ブレードの熱変形の影響を受けて、ブレードによりワークに形成された溝(カーフ)の位置がストリートの中心からずれる場合がある。このためダイシング装置では、予め設定されたタイミングでブレードのカーフチェックを実施している。例えばダイシング装置では、ブレードによりワークに形成された溝をカメラ(アライメント用の顕微鏡等)で撮影し、このカメラの撮影画像に基づき溝のカーフ位置、カーフ幅、及びチッピングの有無等を計測している(特許文献1参照)。
【0003】
ところで、ダイシング装置として、ブレードが装着されるスピンドルを2本備えたツインスピンドルダイサが知られている。そして、ツインスピンドルダイサによりワークを切削又は切断する方式としてミーティング切削方式とステップカット方式とが知られている。ミーティング切削方式は、2枚のブレードによって一度に2本のストリートを切断する方式である。また、ステップカット方式は、第1ブレードでストリートに沿って所定深さの溝を切削し、その後、第2ブレードでその溝の底部を切削することにより、ウェーハをストリートに沿って切断する方式である。
【0004】
ステップカット方式を採用するツインスピンドルダイサの2つのブレードのカーフチェックを行う方法として、以下の2つの方法が知られている。第1の方法では、第1ブレードでストリートに沿ってウェーハを所定深さ切削し、その切削された溝をカメラで撮影してこの溝の撮影画像に基づき第1ブレードのカーフチェックを実施する。次いで、その第1ブレードで切削した溝の底部を第2ブレードで切削し、第2ブレードで切削した溝をカメラで撮影してこの溝の撮影画像に基づき第2のブレードのカーフチェックを実施する。
【0005】
第2の方法では、ワークの未切削箇所を第1ブレードによって切削加工するとともに、ワークの別の未切削箇所を第2ブレードによって切削加工し、各ブレードにより形成された2本の溝をカメラでそれぞれ撮影した撮影画像に基づき、各ブレードのカーフチェックを行う(特許文献2参照)。この第2の方法のカーフチェックは、ステップカーフチェック又は追い越しカーフチェックともいう。
【先行技術文献】
【特許文献】
【0006】
特開2011-165826号公報
特開2001-129822号公報
【発明の概要】
【発明が解決しようとする課題】
【0007】
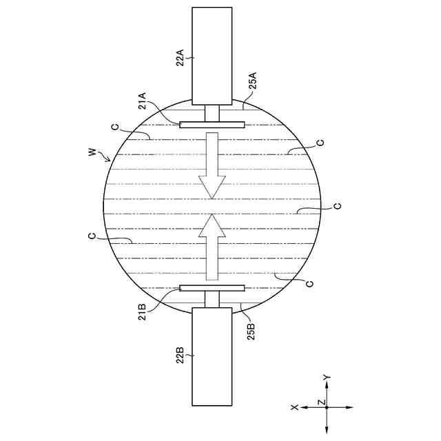
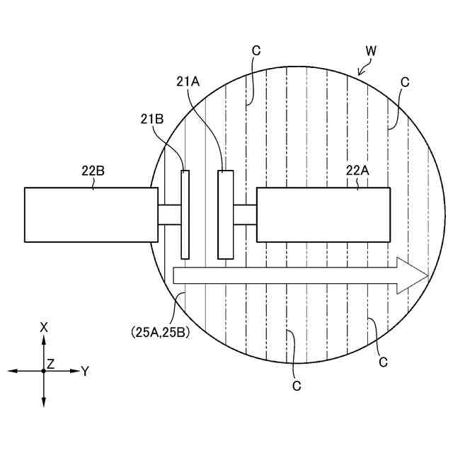
図34は、上記第1の方法のカーフチェックの課題を説明するための説明図である。図34に示すように、第1の方法でカーフチェックを行う場合には、第2ブレードでワークWに形成した溝25Bが第1ブレードでワークWに形成した溝25Aに重なるため、溝25Bの撮影画像に基づいた溝25Bの加工品質(カーフ位置及びカーフ幅等)の判別が困難である。その結果、第2ブレードのカーフチェックが極めて困難であるという欠点がある。
【0008】
図35は、上記第2の方法のカーフチェックの課題を説明するための説明図である。図35に示すように、第2の方法でカーフチェックを行う場合には、第2ブレードでワークWの未切削箇所を切削加工する必要があるが、第2ブレードは第1ブレードよりも厚みが薄いので第2ブレードで未切削箇所を切削加工すると、この第2ブレードへの負荷が大きくなる。また、ステップカット時とカーフチェック時とにおいて第2ブレードによるワークの加工条件が異なるため、例えばカーフチェック時には第2ブレードがよれることでステップカット時とは異なる位置に溝25Bが形成される可能性がある。すなわち、ステップカット時とカーフチェック時とにおいて同一位置に溝25Bが形成されない可能性があり、その結果、ステップカット時の溝25Bの加工品質を正確に測定することができない可能性がある。
【0009】
本発明はこのような事情に鑑みてなされたものであり、ワークに形成された被加工部の加工品質を精度良く測定することができるワーク加工装置、このワーク加工装置の制御方法、及びこのワーク加工装置に接続されたサーバを提供することを目的とする。
【課題を解決するための手段】
【0010】
本発明の目的を達成するためのワーク加工装置は、平板状のワークを保持するテーブルと、テーブルに保持されたワークの加工を行う加工ヘッドと、テーブルに対して加工ヘッドを相対移動させる相対移動機構と、加工ヘッドと一体に設けられた白色干渉計であって、ワークに形成されている被加工部に向けて白色光を出射し且つ被加工部で反射された白色光と参照面で反射された白色光との干渉信号を画素ごとに検出する白色干渉計と、相対移動機構を駆動して、加工ヘッド及び白色干渉計をテーブルに対して垂直な方向に一体に相対移動させる垂直走査を実行する走査制御部と、垂直走査の間に白色干渉計から出力される画素ごとの干渉信号に基づき、被加工部の加工品質を測定する加工品質測定部と、を備える。
(【0011】以降は省略されています)
この特許をJ-PlatPat(特許庁公式サイト)で参照する
関連特許
株式会社東京精密
プローバ
1か月前
株式会社東京精密
加工装置
1か月前
株式会社東京精密
プローバ
1か月前
株式会社東京精密
搬送装置
1か月前
株式会社東京精密
加工装置
2か月前
株式会社東京精密
加工方法
1か月前
株式会社東京精密
研削装置
1か月前
株式会社東京精密
加工装置
1か月前
株式会社東京精密
加工装置
1か月前
株式会社東京精密
研削装置
1か月前
株式会社東京精密
プローバ
1か月前
株式会社東京精密
加工装置
2か月前
株式会社東京精密
プローバ
1か月前
株式会社東京精密
プローバ
2か月前
株式会社東京精密
加工装置
1か月前
株式会社東京精密
プローバ
1か月前
株式会社東京精密
亀裂測定器
1か月前
株式会社東京精密
亀裂測定器
1か月前
株式会社東京精密
電池検査装置
1か月前
株式会社東京精密
レーザ加工装置
1か月前
株式会社東京精密
ダイシング装置
1か月前
株式会社東京精密
テープ貼付装置
1か月前
株式会社東京精密
半導体製造装置
1か月前
株式会社東京精密
ダイシング装置
1か月前
株式会社東京精密
レーザ加工装置
1か月前
株式会社東京精密
レーザ加工装置
1か月前
株式会社東京精密
ハブレスブレード
1か月前
株式会社東京精密
スラリー供給装置
2か月前
株式会社東京精密
ウェーハの面取り装置
1か月前
株式会社東京精密
ウェーハの面取り装置
1か月前
株式会社東京精密
校正方法及び校正装置
1か月前
株式会社東京精密
ケーブルのガイド方法
1か月前
株式会社東京精密
吸着装置及び研削装置
1か月前
株式会社東京精密
加工装置及び加工方法
1か月前
株式会社東京精密
収容ボックスシステム
1か月前
株式会社東京精密
ウェーハセンシング装置
1か月前
続きを見る
他の特許を見る