TOP
|
特許
|
意匠
|
商標
特許ウォッチ
Twitter
他の特許を見る
公開番号
2025156119
公報種別
公開特許公報(A)
公開日
2025-10-14
出願番号
2025050684
出願日
2025-03-25
発明の名称
金属積層体、及び多層回路基板の製造方法
出願人
JX金属株式会社
代理人
アクシス国際弁理士法人
主分類
B32B
15/04 20060101AFI20251002BHJP(積層体)
要約
【課題】反りが抑制された金属積層体を提供する。
【解決手段】第一金属層10、第二金属層20、及び第一金属層10と第二金属層20との間に配置されるエッチングバリア層30を含み、第二金属層20の表面(第2面24)のクルトシスSkuが8.0~30.0である金属積層体とする。
【選択図】図1
特許請求の範囲
【請求項1】
第一金属層、第二金属層、及び前記第一金属層と前記第二金属層との間に配置されるエッチングバリア層を含み、
前記第二金属層の表面のクルトシスSkuが8.0~30.0である金属積層体。
続きを表示(約 640 文字)
【請求項2】
前記第二金属層の表面のクルトシスSkuが10.0~20.0である、請求項1に記載の金属積層体。
【請求項3】
前記第二金属層の表面のクルトシスSkuが14.0~18.0である、請求項2に記載の金属積層体。
【請求項4】
前記第二金属層の表面の最大山部高さSpに対する前記第一金属層の表面の最大山部高さSpの比が0.3~3.0である、請求項1に記載の金属積層体。
【請求項5】
前記最大山部高さSpの比が0.5~2.0である、請求項4に記載の金属積層体。
【請求項6】
前記第一金属層の表面のビッカース硬度が50~200である、請求項3に記載の金属積層体。
【請求項7】
前記第一金属層の表面のビッカース硬度が80~130である、請求項5に記載の金属積層体。
【請求項8】
前記第二金属層の表面のビッカース硬度に対する前記第一金属層の表面のビッカース硬度の比が0.70~1.40である、請求項6に記載の金属積層体。
【請求項9】
前記第二金属層の表面のビッカース硬度に対する前記第一金属層の表面のビッカース硬度の比が0.80~1.20である、請求項8に記載の金属積層体。
【請求項10】
前記エッチングバリア層が、ニッケル又はニッケル合金から構成される、請求項1~9のいずれか一項に記載の金属積層体。
(【請求項11】以降は省略されています)
発明の詳細な説明
【技術分野】
【0001】
本開示は、金属積層体、及び多層回路基板の製造方法に関し、特に電子回路形成用の金属積層体、及びそれを用いた多層回路基板の製造方法に関する。
続きを表示(約 1,400 文字)
【背景技術】
【0002】
従来から、各種電子機器に用いられる電子部品にはプリント配線板などの回路基板が広く利用されている。近年、電子機器の小型化、高性能化などの進展に伴い、回路基板の多層化の検討がなされている。例えば、特許文献1には、多層回路基板の製造方法が記載されている。
【先行技術文献】
【特許文献】
【0003】
特開2000-156565号公報
【発明の概要】
【発明が解決しようとする課題】
【0004】
多層回路基板の製造では、絶縁基材に金属層が積層された積層板に回路パターンを形成した後、その他の積層板との積層プレスが行われる。このとき、寸法誤差が発生し易く、歩留まりが低くなるという課題がある。
そこで、本発明者は、多層回路基板の製造方法について検討した結果、第一金属層、第二金属層、及び第一金属層と第二金属層との間に配置されるエッチングバリア層を含む金属積層体を用いることで多層回路基板を効率的に製造し得ることを見出した。
しかしながら、この製造方法に用いられる金属積層体には反りが生じることがある。金属積層体に過度な反りがあると、多層回路基板の製造工程においてコンベアによって搬送する際にコンベアから落下したり、各種センサーと接触したりするなどの問題がある。
【0005】
本開示は、上記のような課題を解決するためになされたものであり、反りが抑制された金属積層体を提供することを目的とする。
また、本開示は、多層回路基板の効率的な製造方法を提供することを目的とする。
【課題を解決するための手段】
【0006】
本発明者は、第一金属層、第二金属層、及び第一金属層と第二金属層との間に配置されるエッチングバリア層を含む金属積層体について鋭意研究を行った結果、第二金属層の表面のクルトシスSkuを所定の範囲に制御することにより、上記の課題を解決し得ることを見出し、本発明の実施形態を完成するに至った。
【0007】
すなわち、本発明の実施形態は、一つの側面において、第一金属層、第二金属層、及び前記第一金属層と前記第二金属層との間に配置されるエッチングバリア層を含み、
前記第二金属層の表面のクルトシスSkuが8.0~30.0である金属積層体に関する。
【0008】
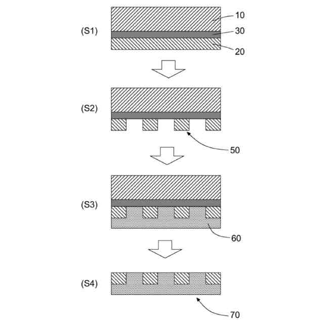
また、本発明の実施形態は、別の側面において、前記金属積層体を用意する工程と、前記金属積層体の前記第二金属層をエッチングして回路を形成する工程と、前記回路を絶縁樹脂で埋め込む工程と、前記金属積層体の前記第一金属層及び前記エッチングバリア層を除去して回路基板を形成する工程と、複数の前記回路基板を積層する工程とを含む多層回路基板の製造方法に関する。
【発明の効果】
【0009】
本発明の実施形態によれば、一つの側面において、反りが抑制された金属積層体を提供することができる。
また、本発明の実施形態によれば、別の側面において、多層回路基板の効率的な製造方法を提供することができる。
【図面の簡単な説明】
【0010】
本発明の実施形態に係る金属積層体の断面の模式図である。
本発明の実施形態に係る多層回路基板の製造方法を説明するための各工程の断面の模式図である。
【発明を実施するための形態】
(【0011】以降は省略されています)
この特許をJ-PlatPat(特許庁公式サイト)で参照する
関連特許
JX金属株式会社
分配器及び分配装置
1か月前
JX金属株式会社
低α線酸化ビスマス
今日
JX金属株式会社
錫電解沈殿物の処理方法
15日前
JX金属株式会社
炭素被覆金属粉末及びペースト
23日前
JX金属株式会社
電着金属の搬送システム及び搬送方法
1か月前
JX金属株式会社
金属積層体、及び多層回路基板の製造方法
1か月前
JX金属株式会社
磁性材ターゲット及び磁性材ターゲット組立品
1か月前
JX金属株式会社
磁性材ターゲット及び磁性材ターゲット組立品
1か月前
JX金属株式会社
磁性材ターゲット及び磁性材ターゲット組立品
1か月前
JX金属株式会社
磁性材ターゲット及び磁性材ターゲット組立品
1か月前
JX金属株式会社
磁性材ターゲット及び磁性材ターゲット組立品
1か月前
JX金属株式会社
処理対象物の分配方法及び処理対象物の回収方法
1か月前
JX金属株式会社
リン化インジウム基板及び半導体エピタキシャルウエハ
1か月前
JX金属株式会社
スパッタリングターゲット及びスパッタリングターゲット組立品
28日前
JX金属株式会社
スパッタリングターゲット及びスパッタリングターゲット組立品
28日前
JX金属株式会社
スパッタリングターゲット及びスパッタリングターゲット組立品
28日前
JX金属株式会社
スパッタリングターゲット及びスパッタリングターゲット組立品
28日前
JX金属株式会社
銅粉、ペースト、低温同時焼成セラミックス基板を製造する方法及び、積層セラミックコンデンサを製造する方法
1か月前
東レ株式会社
積層体
6か月前
東レ株式会社
積層体
10か月前
個人
箔転写シート
6か月前
ユニチカ株式会社
積層体
9か月前
ユニチカ株式会社
積層体
3か月前
東レ株式会社
積層構造体
10か月前
個人
鋼材の塗膜構造
4か月前
東レ株式会社
積層フィルム
9か月前
東レ株式会社
積層フィルム
5か月前
東レ株式会社
強化繊維基材
6か月前
東レ株式会社
強化繊維基材
6か月前
東レ株式会社
積層フィルム
8か月前
東レ株式会社
積層フィルム
3か月前
ユニチカ株式会社
透明シート
3か月前
東レ株式会社
無配向フィルム
1か月前
東ソー株式会社
多層フィルム
6か月前
積水樹脂株式会社
磁性シート
8か月前
東ソー株式会社
多層フィルム
8か月前
続きを見る
他の特許を見る