TOP
|
特許
|
意匠
|
商標
特許ウォッチ
Twitter
他の特許を見る
10個以上の画像は省略されています。
公開番号
2025154915
公報種別
公開特許公報(A)
公開日
2025-10-10
出願番号
2024058196
出願日
2024-03-29
発明の名称
分配器及び分配装置
出願人
JX金属株式会社
代理人
アクシス国際弁理士法人
主分類
B65G
47/18 20060101AFI20251002BHJP(運搬;包装;貯蔵;薄板状または線条材料の取扱い)
要約
【課題】長尺状部材を含む処理対象物を、複数の収容容器内へ効率良くより均一に収容可能な分配器及び分配装置を提供する。
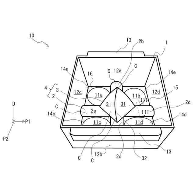
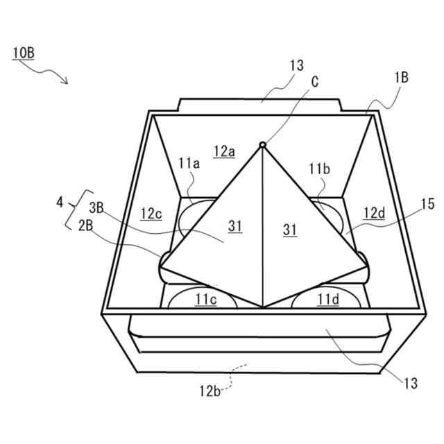
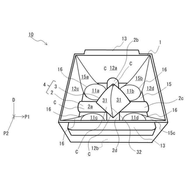
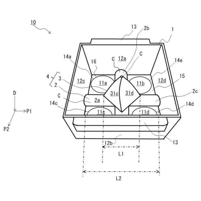
【解決手段】長尺状部材を含む処理対象物を収容し、処理対象物を受け入れて複数の収容容器内へと分配させるための複数の開口部11a、11b、11c、11dを底部に有する収容部1と、収容部1内において複数の開口部11a、11b、11c、11dよりも上方に突出し、収容部1内に落下する処理対象物と接触して複数の開口部11a、11b、11c、11d内へ案内する案内部4とを備え、収容部1内に、収容部1内に落下する長尺状部材との引っ掛かりを抑えるための曲面部Cが形成されている分配器10である。
【選択図】図1
特許請求の範囲
【請求項1】
長尺状部材を含む処理対象物を収容し、前記処理対象物を受け入れて複数の収容容器内へと分配させるための複数の開口部を底部に有する収容部と、
前記収容部内において前記複数の開口部よりも上方に突出し、前記収容部内に落下する前記処理対象物と接触して前記複数の開口部内へ案内する案内部と
を備え、
前記収容部内に、前記収容部内に落下する前記長尺状部材との引っ掛かりを抑制するための曲面部が形成されていることを特徴とする分配器。
続きを表示(約 870 文字)
【請求項2】
前記案内部が、
隣接する前記開口部同士の間を仕切る仕切部材と、
前記仕切部材上に配置され、前記収容部の中心部から周辺部に向けて下方に傾斜する傾斜面又は曲面を備える分散部材と
を備える請求項1に記載の分配器。
【請求項3】
前記仕切部材は、前記収容部の前記中心部から前記周辺部へ向けて放射状に延び、延伸方向に垂直な断面が上方に凸となる凸形状を有する請求項2に記載の分配器。
【請求項4】
前記仕切部材に前記曲面部が形成されている請求項3に記載の分配器。
【請求項5】
前記分散部材は、複数の前記傾斜面を備える錐体形状を有し、前記錐体形状を構成する前記傾斜面の数が前記開口部の倍数であることを含む請求項2に記載の分配器。
【請求項6】
前記分散部材に前記曲面部が形成されていることを含む請求項5に記載の分配器。
【請求項7】
前記分散部材の底面の長さL1と、前記収容部の向かい合う内壁面間の最短距離の長さL2の比(L1/L2)が、1/4以上3/4以下である請求項2に記載の分配器。
【請求項8】
前記複数の開口部に面取加工が施されていることを含む請求項1~7のいずれか1項に記載の分配器。
【請求項9】
前記複数の開口部は、前記複数の開口部に隣接する前記収容部の内壁面へ向けて延びる傾斜面状又は曲面状の誘導部を更に備えることを含む請求項1~7のいずれか1項に記載の分配器。
【請求項10】
請求項1~7のいずれか1項に記載の分配器と、
前記分配器に接続され、前記処理対象物を前記複数の開口部を介して前記複数の収容容器へと搬送するための筒状の搬送部、及び、前記分配器と前記搬送部との間に接続され、前記搬送部の先端の向きを一の収容容器から他の収容容器へと切り替え可能であり柔軟性を有する素材で形成された接続部を備える切替シュートと
を備える分配装置。
発明の詳細な説明
【技術分野】
【0001】
本発明は、分配器及び分配装置に関し、特に、長尺状部材を含む処理対象物を分配する分配器及び分配装置に関する。
続きを表示(約 1,600 文字)
【背景技術】
【0002】
処理対象物を複数の収容物内へと分配させるための分配装置が知られている。例えば、実全昭53-165578号公報(特許文献1)には、複数個のシュートの各上部を集合して上端の開口を円周状に配列し、この集合部に筒部を連成した振分シュートを備える分配装置の例が記載されている。
【0003】
実全平04-014228号公報(特許文献2)には、放射状に分岐した複数の排出シュートを備えた分岐ホッパーの内部に、上部に供給口を有しかつ排出口を分岐ホッパーの排出シュート側に向けた内部シュートを設け、内部シュートを分岐ホッパーの中心軸上で回転可能にした分配装置の例が記載されている。
【0004】
近年、廃家電製品、電気電子部品屑、産業廃棄物等の種々のリサイクル原料から有価金属を回収するニーズが高まっている。特開平9-78151号公報(特許文献3)には、有価金属を含有するスクラップ類を銅鉱石溶錬用自溶炉へシャフト天井部から装入し、有価金属を炉内に滞留するマットへ回収するスクラップ類からの有価金属のリサイクル方法が開示されている。
【0005】
特開2010-236718号公報(特許文献4)には、自動車シュレッダーダスト(ASR)、家電シュレッダーダストのような産業廃棄物をトロンメルによって篩分し、所定のサイズを基準に篩別物をアンダーサイズとオーバーサイズとに分け、アンダーサイズの篩別物を流動層式ガス化炉に投入して燃焼処理し、燃焼処理物から有価金属を分離回収する方法が記載されている。
【先行技術文献】
【特許文献】
【0006】
実全昭53-165578号公報
実全平04-014228号公報
特開平9-78151号公報
特開2010-236718号公報
【発明の概要】
【発明が解決しようとする課題】
【0007】
リサイクル原料の処理量は、近年更に増加の一途にあり、大量の処理物を効率良く処理することが求められてきている。例えば、篩別機等の選別機を用いて選別された処理対象物は、フレキシブルコンテナ等の袋状の収容容器内に収納されて搬送される。処理対象物の収容容器内への収容処理の際、作業効率性を高めるためには、分配器等を用いて多量の処理対象物を複数の収容容器に分配させることが望ましい。
【0008】
しかしながら、分配器の構造によっては分配に偏りが発生し、複数の収容容器内に処理対象物を均一に分配させることが難しい場合がある。特に、長尺状部材を含む処理対象物を複数の収容容器内へ分配する場合は、長尺状部材が、分配器内の構成部材に引っ掛かって他の処理対象物と絡まり、滞留を生じさせる場合がある。分配器内へ落下する長尺状部材が、分配器内の突起状物と衝突し、分配器外へと飛び出すこともある。
【0009】
上記課題を鑑み、本発明は、長尺状部材を含む処理対象物を、複数の収容容器内へ効率良くより均一に収容可能な分配器及び分配装置を提供する。
【課題を解決するための手段】
【0010】
上記課題を解決するために、本発明の実施の形態に係る分配器は、一側面において、長尺状部材を含む処理対象物を収容し、処理対象物を受け入れて複数の収容容器内へと分配させるための複数の開口部を底部に有する収容部と、収容部内において、複数の開口部よりも上方に突出し、収容部内に落下する処理対象物と接触して複数の開口部内へ案内する案内部とを備え、収容部内に、収容部内に落下する長尺状部材との引っ掛かりを抑えるための曲面部が形成されている分配器である。
(【0011】以降は省略されています)
この特許をJ-PlatPat(特許庁公式サイト)で参照する
関連特許
JX金属株式会社
鉛の回収方法
1か月前
JX金属株式会社
鉛の回収方法
1か月前
JX金属株式会社
低α線酸化ビスマス
今日
JX金属株式会社
分配器及び分配装置
1か月前
JX金属株式会社
錫電解沈殿物の処理方法
15日前
JX金属株式会社
リサイクル原料の処理方法
1か月前
JX金属株式会社
炭素被覆金属粉末及びペースト
23日前
JX金属株式会社
電着金属の搬送システム及び搬送方法
1か月前
JX金属株式会社
金属積層体、及び多層回路基板の製造方法
1か月前
JX金属株式会社
磁性材ターゲット及び磁性材ターゲット組立品
1か月前
JX金属株式会社
磁性材ターゲット及び磁性材ターゲット組立品
1か月前
JX金属株式会社
磁性材ターゲット及び磁性材ターゲット組立品
1か月前
JX金属株式会社
磁性材ターゲット及び磁性材ターゲット組立品
1か月前
JX金属株式会社
磁性材ターゲット及び磁性材ターゲット組立品
1か月前
JX金属株式会社
処理対象物の分配方法及び処理対象物の回収方法
1か月前
JX金属株式会社
リン化インジウム基板及び半導体エピタキシャルウエハ
1か月前
JX金属株式会社
スパッタリングターゲット及びスパッタリングターゲット組立品
28日前
JX金属株式会社
スパッタリングターゲット及びスパッタリングターゲット組立品
28日前
JX金属株式会社
スパッタリングターゲット及びスパッタリングターゲット組立品
28日前
JX金属株式会社
スパッタリングターゲット及びスパッタリングターゲット組立品
28日前
JX金属株式会社
ドライフィルムレジスト
1か月前
JX金属株式会社
リチウムイオン電池用正極活物質の評価方法及びリチウムイオン電池用正極活物質
1か月前
JX金属株式会社
銅粉、ペースト、低温同時焼成セラミックス基板を製造する方法及び、積層セラミックコンデンサを製造する方法
1か月前
個人
束ね具
24日前
個人
収容箱
4か月前
個人
コンベア
6か月前
個人
段ボール箱
8か月前
個人
段ボール箱
8か月前
個人
容器
10か月前
個人
ゴミ収集器
8か月前
個人
バンド
3か月前
個人
土嚢運搬器具
9か月前
個人
角筒状構造体
6か月前
個人
宅配システム
8か月前
個人
楽ちんハンド
6か月前
個人
テープ引出機
24日前
続きを見る
他の特許を見る