TOP
|
特許
|
意匠
|
商標
特許ウォッチ
Twitter
他の特許を見る
公開番号
2025148246
公報種別
公開特許公報(A)
公開日
2025-10-07
出願番号
2025015388,2024048541
出願日
2025-01-31,2024-03-25
発明の名称
ドライフィルムレジスト
出願人
JX金属株式会社
代理人
アクシス国際弁理士法人
主分類
G03F
7/004 20060101AFI20250930BHJP(写真;映画;光波以外の波を使用する類似技術;電子写真;ホログラフイ)
要約
【課題】回路パターン形成時に工程数を低減でき、しかもエッチングによるダレを抑制することが可能なドライフィルムレジストを提供する。
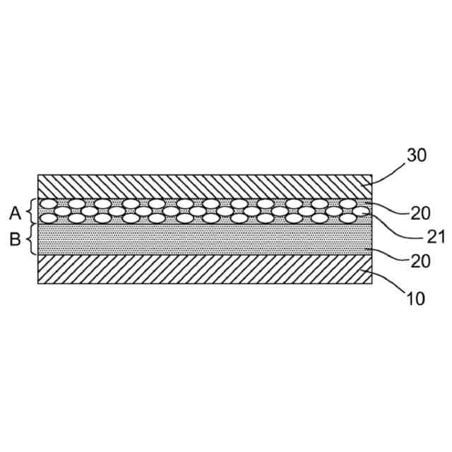
【解決手段】支持体フィルム10、感光性樹脂層20及び保護フィルム30がこの順で積層されたドライフィルムレジストである。銅箔をエッチングして回路パターンを形成するときに用いられるエッチング液に対するエッチングレートが銅よりも遅い金属を含有する粒子21が感光性樹脂層20中に分散されている。感光性樹脂層20は、粒子21が分散されている領域と、粒子21が分散されていない領域とを有する。粒子21が分散されている領域は保護フィルム30と接している。
【選択図】図2
特許請求の範囲
【請求項1】
支持体フィルム、感光性樹脂層及び保護フィルムがこの順で積層されたドライフィルムレジストであって、
銅箔をエッチングして回路パターンを形成するときに用いられるエッチング液に対するエッチングレートが銅よりも遅い金属を含有する粒子が前記感光性樹脂層中に分散されており、
前記感光性樹脂層は、前記粒子が分散されている領域と、前記粒子が分散されていない領域とを有し、
前記粒子が分散されている領域が前記保護フィルムと接している、ドライフィルムレジスト。
続きを表示(約 320 文字)
【請求項2】
前記感光性樹脂層中の前記粒子の含有量が1~50体積%である、請求項1に記載のドライフィルムレジスト。
【請求項3】
前記金属が、ニッケル、コバルト、白金族金属、金及び銀から選択される1種以上である、請求項1又は2に記載のドライフィルムレジスト。
【請求項4】
前記金属がニッケルである、請求項1又は2に記載のドライフィルムレジスト。
【請求項5】
前記粒子の平均粒径が0.1~1.0μmである、請求項1又は2に記載のドライフィルムレジスト。
【請求項6】
前記感光性樹脂層がネガ型感光性樹脂層である、請求項1又は2に記載のドライフィルムレジスト。
発明の詳細な説明
【技術分野】
【0001】
本開示は、ドライフィルムレジストに関する。
続きを表示(約 1,800 文字)
【背景技術】
【0002】
プリント配線板における回路パターンは、銅箔と樹脂基板とが積層された銅張積層板をリソグラフィ技術により加工することで形成されている。最も一般的な方法としては、フォトリソグラフィによってパターン形成された感光性レジスト層(例えば、ドライフィルム)をマスクとして銅箔をエッチングするサブトラクティブ法が挙げられる。この方法は、銅箔をエッチングすることによって回路パターンが形成されるため、回路パターンの厚み方向断面において、回路パターンの上部よりも底部の幅が大きい台形状となる。したがって、この方法は、プロセスが簡易であるものの、微細な回路パターンを形成するのには適していない。
【0003】
一方、樹脂基板上に、フォトリソグラフィによってパターン形成された感光性レジスト層を設け、銅めっきを施すことにより回路パターンを形成するセミアディティブ法も知られている。この方法は、回路パターンの形状がレジストパターンの精度によって決まるため、微細な回路パターンを形成し易い。しかしながら、この方法は、回路パターンをめっきによって形成する必要があるため、コストがかかるという問題がある。
【0004】
そこで、低コストのサブトラクティブ法であっても、セミアディティブ法のように微細な回路パターンを形成できる方法の開発が進められている。
例えば、特許文献1には、銅箔のエッチング面側に、銅箔よりエッチングレートの遅いニッケルなどの異種金属の層を設けることでエッチングによるダレ(すなわち、銅箔の表面から樹脂基板に向かって末広がりにエッチングされること)を抑制する技術が提案されている。
【先行技術文献】
【特許文献】
【0005】
特開2011-216528号公報
【発明の概要】
【発明が解決しようとする課題】
【0006】
しかしながら、特許文献1の技術は、銅箔の表面にニッケルなどの異種金属の層を設ける必要があるため、回路パターン形成時に工程数が増加し、手間やコストがかかるという問題がある。
本発明の実施形態は、上記のような問題を解決するためになされたものであり、回路パターン形成時に工程数を低減でき、しかもエッチングによるダレを抑制することが可能なドライフィルムレジストを提供することを目的とする。
【課題を解決するための手段】
【0007】
本発明者らは、上記の問題を解決すべくドライフィルムレジストに着目して鋭意研究を行った。その結果、エッチングレートが銅よりも遅い金属を含有する粒子を感光性樹脂層に分散させたドライフィルムレジストを用いることにより、エッチングによるダレを簡易に抑制し得ることを見出し、本発明の実施形態を完成するに至った。
【0008】
すなわち、本発明の実施形態は、支持体フィルム、感光性樹脂層及び保護フィルムがこの順で積層されたドライフィルムレジストであって、
銅箔をエッチングして回路パターンを形成するときに用いられるエッチング液に対するエッチングレートが銅よりも遅い金属を含有する粒子が前記感光性樹脂層中に分散されており、
前記感光性樹脂層は、前記粒子が分散されている領域と、前記粒子が分散されていない領域とを有し、
前記粒子が分散されている領域が前記保護フィルムと接している、ドライフィルムレジストに関する。
【発明の効果】
【0009】
本発明の実施形態によれば、回路パターン形成時に工程数を低減でき、しかもエッチングによるダレを抑制することが可能なドライフィルムレジストを提供することができる。
【図面の簡単な説明】
【0010】
本発明の実施形態1に係るドライフィルムレジストの厚み方向断面の模式図である。
本発明の実施形態2に係るドライフィルムレジストの厚み方向断面の模式図である。
ソフトエッチング工程、ラミネート工程、露光工程、現像工程、エッチング工程及びレジストパターン層除去工程を説明するための概略断面図である。
【発明を実施するための形態】
(【0011】以降は省略されています)
この特許をJ-PlatPat(特許庁公式サイト)で参照する
関連特許
個人
表示装置
1か月前
個人
雨用レンズカバー
1か月前
日本精機株式会社
プロジェクタ
1日前
キヤノン株式会社
撮像装置
1か月前
キヤノン株式会社
撮像装置
8日前
日本精機株式会社
車両用投射装置
1か月前
キヤノン株式会社
撮像装置
1か月前
キヤノン株式会社
撮像装置
1か月前
株式会社リコー
画像形成装置
22日前
株式会社リコー
画像形成装置
1か月前
株式会社リコー
画像形成装置
1か月前
株式会社リコー
画像形成装置
1か月前
株式会社リコー
画像形成装置
1か月前
キヤノン株式会社
トナー
1か月前
キヤノン株式会社
トナー
1か月前
キヤノン株式会社
トナー
2か月前
キヤノン株式会社
画像形成装置
16日前
キヤノン株式会社
画像形成装置
1か月前
キヤノン株式会社
画像形成装置
1か月前
沖電気工業株式会社
画像形成装置
1か月前
沖電気工業株式会社
画像形成装置
1か月前
沖電気工業株式会社
画像形成装置
3日前
レーザーテック株式会社
光源装置
3日前
アイホン株式会社
カメラシステム
1か月前
スタンレー電気株式会社
照明装置
2か月前
キヤノン株式会社
現像装置
1か月前
レーザーテック株式会社
光源装置
24日前
キヤノン株式会社
レンズキャップ
1か月前
株式会社電気印刷研究所
静電印刷用積層体
2か月前
ブラザー工業株式会社
画像形成装置
1か月前
シャープ株式会社
捺染トナー
1日前
ブラザー工業株式会社
画像形成装置
1か月前
古野電気株式会社
装置
1か月前
キヤノン株式会社
画像形成装置
1か月前
キヤノン株式会社
画像形成装置
22日前
シャープ株式会社
画像形成装置
1か月前
続きを見る
他の特許を見る