TOP
|
特許
|
意匠
|
商標
特許ウォッチ
Twitter
他の特許を見る
10個以上の画像は省略されています。
公開番号
2025156062
公報種別
公開特許公報(A)
公開日
2025-10-14
出願番号
2025046515
出願日
2025-03-21
発明の名称
ウェーハの搬送アーム及びウェーハの搬送システム
出願人
株式会社東京精密
,
株式会社ハーモテック
代理人
個人
,
個人
,
個人
主分類
H01L
21/677 20060101AFI20251002BHJP(基本的電気素子)
要約
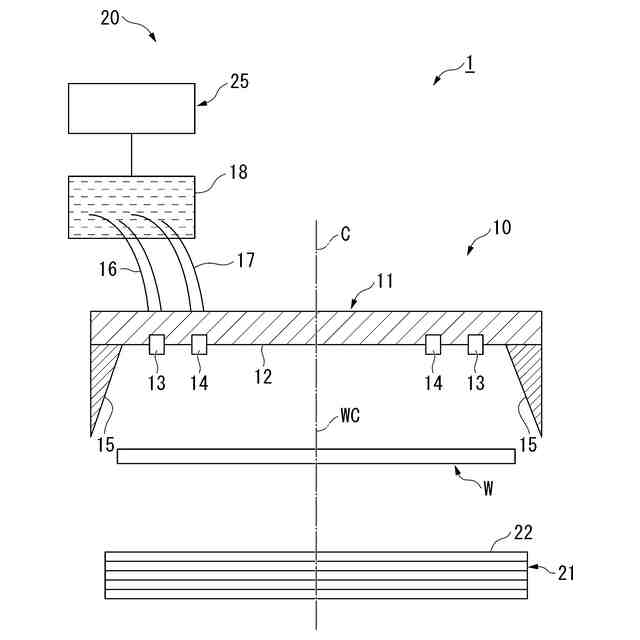
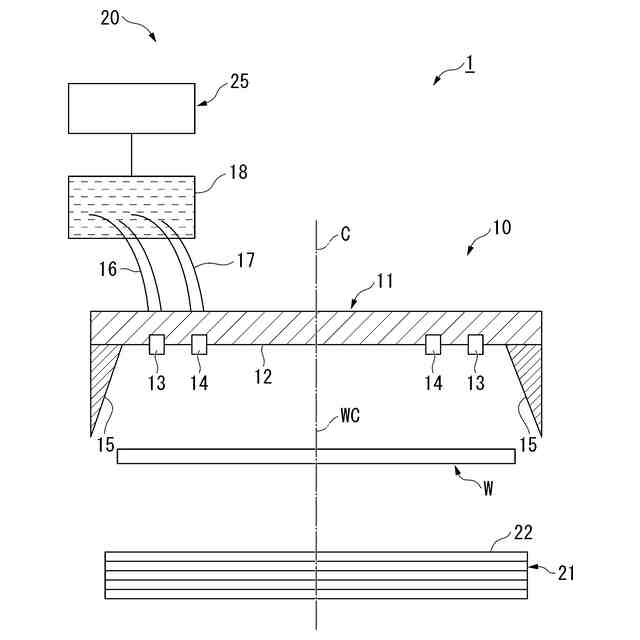
【課題】様々な厚さのウェーハを、ウェーハの位置ずれを抑制しつつ搬送でき、搬送時にウェーハが反る現象が抑えられ、ウェーハのロード位置精度を安定して確保でき、かつ安定してアンロードすることが可能なウェーハの搬送アーム及びウェーハの搬送システムを提供する。
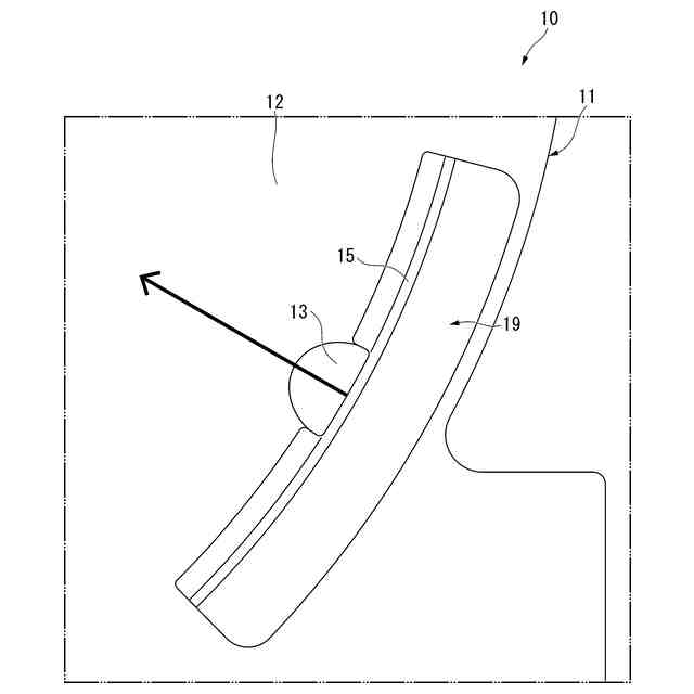
【解決手段】アーム天板11の下面12に開口する複数のエアー吐出口13,14と、下面12に設けられ下側へ向かうに従い径方向外側に向けて傾斜するスロープ部15と、を備え、ウェーハWが吸引され下面12に接近移動したときに、スロープ部15は、ウェーハWの外周部に接触可能であり、複数のエアー吐出口13,14は、ウェーハWの外周部に上側から対向する外側エアー吐出口13と、外側エアー吐出口13よりも径方向内側に配置される内側エアー吐出口14と、を有し、外側エアー吐出口13から吐出されるエアー圧が、内側エアー吐出口14から吐出されるエアー圧よりも小さい。
【選択図】図1
特許請求の範囲
【請求項1】
エアーを吐出することによる負圧でウェーハを上側から吸引保持するウェーハの搬送アームであって、
アーム天板の下面に開口する複数のエアー吐出口と、
前記下面に設けられ、下側へ向かうに従い径方向外側に向けて傾斜するスロープ部と、を備え、
前記ウェーハが前記負圧で吸引され、前記下面に接近移動したときに、前記スロープ部は、前記ウェーハの外周部に接触可能であり、
前記複数のエアー吐出口は、
前記ウェーハの外周部に上側から対向して配置される外側エアー吐出口と、
前記外側エアー吐出口よりも径方向内側に配置される内側エアー吐出口と、を有し、
前記外側エアー吐出口から吐出されるエアー圧が、前記内側エアー吐出口から吐出されるエアー圧よりも小さくされている、
ウェーハの搬送アーム。
続きを表示(約 1,000 文字)
【請求項2】
前記外側エアー吐出口は、前記スロープ部の径方向内側に、前記スロープ部と隣接して配置されている、
請求項1に記載のウェーハの搬送アーム。
【請求項3】
前記外側エアー吐出口は、前記アーム天板の下面に沿って、径方向内側へ向けてエアーを吐出する、
請求項1に記載のウェーハの搬送アーム。
【請求項4】
前記外側エアー吐出口と前記内側エアー吐出口とは、周方向において、互いに異なる位置に配置されている、
請求項3に記載のウェーハの搬送アーム。
【請求項5】
前記アーム天板の下面に開口する排気口をさらに備え、
前記排気口は、前記外側エアー吐出口よりも径方向内側に配置される、
請求項3に記載のウェーハの搬送アーム。
【請求項6】
前記スロープ部は、周方向に等ピッチで6つ設けられる、
請求項1に記載のウェーハの搬送アーム。
【請求項7】
前記外側エアー吐出口、及び、前記外側エアー吐出口にエアーを送る配管部材の流路断面積の最小値が、19.6mm
2
以上とされている、
請求項1に記載のウェーハの搬送アーム。
【請求項8】
請求項1に記載のウェーハの搬送アームと、
前記ウェーハの搬送アームが搬送するウェーハが上面に載置されるチャックと、
制御装置と、を備え、
前記制御装置は、前記チャックへ搬送される前記ウェーハの種類や重量に応じて、前記外側エアー吐出口及び前記内側エアー吐出口のうちいずれか一方からエアーを吐出させる制御を行う、
ウェーハの搬送システム。
【請求項9】
前記制御装置は、前記ウェーハの搬送アームによって前記チャックの上面から前記ウェーハを引き上げるときは、前記内側エアー吐出口からエアーを吐出させる制御を行う、
請求項8に記載のウェーハの搬送システム。
【請求項10】
前記制御装置は、前記チャックの上面に載置された前記ウェーハが前記チャックに対して位置ずれするシフト量の測定データを記憶し、その後に搬送される別の前記ウェーハを前記チャックの上面に載置するときに、前記測定データを補正値として利用する制御を行う、
請求項8に記載のウェーハの搬送システム。
(【請求項11】以降は省略されています)
発明の詳細な説明
【技術分野】
【0001】
本発明は、ウェーハの搬送アーム及びウェーハの搬送システムに関する。本願は、2024年3月29日に、日本に出願された特願2024-055941号に基づき優先権を主張し、その内容をここに援用する。
続きを表示(約 2,000 文字)
【背景技術】
【0002】
従来、シリコンウェーハ等の半導体ウェーハ(以下、ウェーハと呼ぶ場合がある)に搭載される半導体チップの機能検査を行うウェーハ試験装置が知られている。ウェーハ試験装置は、ウェーハを搬送する搬送アームを備えている。ウェーハの搬送アームは、チャックの上面にウェーハを搬送(移送)し、また試験(検査)後のウェーハをチャックの上面から搬送する。
【0003】
なお本明細書においては、搬送アームによってチャック上面にウェーハを搬送し載置する処理をロード処理または単にロードと呼び、搬送アームによってチャック上面からウェーハを引き上げ搬送する処理をアンロード処理または単にアンロードと呼ぶ場合がある。
【0004】
昨今、ウェーハ下面の金属膜を電極として利用するパワーデバイスにおいては、ウェーハの薄膜化が進んでいる。また、ウェーハ径(直径寸法)は従来の8インチから12インチへの移行が進んでいる。例えば、TAIKO(登録商標)ウェーハでは、ウェーハ外周部に比べて、外周部よりも径方向内側に配置されるチップ形成有効エリアの厚さが薄くされており、このチップ形成有効エリアの厚さは、100μm以下にまで薄肉化されている。
【0005】
特許文献1には、ベルヌーイの原理を用いてウェーハを上側から吸引保持しつつ移送するウェーハの搬送アーム(ベルヌーイ・チャック)が開示されている。ベルヌーイの原理を用いた搬送アームによれば、非接触でウェーハを保持することができるため、例えばアンロード処理時などにおいて、薄肉化されたウェーハにダメージを与えてしまう不具合が抑制される。
【先行技術文献】
【特許文献】
【0006】
国際公開第2014/084228号
【発明の概要】
【発明が解決しようとする課題】
【0007】
一般に、搬送アームによってウェーハをチャックの上面にロードする際には、搬送時のウェーハの外周位置を測定するなどにより、搬送アームに対するウェーハのX-Y面方向(水平面方向)の位置ずれ量(偏芯量)を予め測定(プリアライメント)し、この偏芯量をチャックへの受け渡し位置へ反映させる(補正する)制御が行われている。これにより、ウェーハとチャックとの位置精度を確保して、試験(検査)の精度を確保するようにしている。
【0008】
しかしながら、ウェーハ試験装置において検査対象となるウェーハの厚さ寸法は、デバイス種類などにより様々であり、上述したTAIKO(登録商標)ウェーハのように100μm以下の薄肉のウェーハもあれば、775μm程度の厚肉(通常厚み)のウェーハもある。厚肉のウェーハをベルヌーイの原理を用いて吸引保持し搬送する場合、ウェーハ重量に応じた強いエアー圧が必要となるが、同じエアー圧で薄肉のウェーハを吸引保持し搬送しようとすると、ウェーハを水平方向へスライドさせる力が発生し、搬送時にウェーハが位置ずれするおそれがある。
【0009】
また、薄肉化や大径化がなされたウェーハでは、搬送時において、図8に示すようにウェーハWの外周の一部が垂れ下がる現象(ウェーハWが反る現象)が生じる。詳しくは、ウェーハWの中心軸(ウェーハ中心軸)WCを中心として互いに略180°回転対称となる位置に、一対の垂れ下がった部分Hが生じる。このため、ウェーハの外周位置の測定精度が不安定になり、ロード時においてプリアライメントの測定精度が確保できず(偏芯量の測定にバラツキが生じ)、ウェーハとチャックとの位置精度も確保できなくなる。ロード処理時にウェーハがチャック上面に対して所定値以上に位置ずれすると、エラー判定により装置の稼働が停止する。
【0010】
また、ウェーハの電気的検査では、各種温度状態における作動状態もチェックする。具体的には、加熱されたチャック上にウェーハがロードされる場合がある。このように高温とされたチャックの上面にウェーハが載置されると、ウェーハがチャックに真空吸引によって吸着保持されるのと同時に、ウェーハの熱膨張変化が起きる。より詳しくは、ウェーハには、ウェーハ下側への吸着力とウェーハ径方向外側への膨張力とが作用する。この際、ウェーハ下面の金属膜が剥離するとともに、ウェーハ下面と吸着孔とが噛り付いたような固着状態となることがある。このような固着状態となると、試験後にウェーハをカセットへ回収するときに、チャック上面からウェーハを剥離しにくくなる(アンロードが困難になる)。チャック上面からウェーハをアンロードできなかった場合にも、エラー判定により装置の稼働が停止する。
(【0011】以降は省略されています)
この特許をJ-PlatPat(特許庁公式サイト)で参照する
関連特許
株式会社東京精密
プローバ
1か月前
株式会社東京精密
研削装置
1か月前
株式会社東京精密
加工方法
1か月前
株式会社東京精密
加工装置
1か月前
株式会社東京精密
プローバ
1か月前
株式会社東京精密
プローバ
1か月前
株式会社東京精密
プローバ
1か月前
株式会社東京精密
加工装置
1か月前
株式会社東京精密
加工装置
1か月前
株式会社東京精密
搬送装置
1か月前
株式会社東京精密
加工装置
1か月前
株式会社東京精密
研削装置
1か月前
株式会社東京精密
プローバ
1か月前
株式会社東京精密
亀裂測定器
1か月前
株式会社東京精密
亀裂測定器
1か月前
株式会社東京精密
電池検査装置
1か月前
株式会社東京精密
半導体製造装置
1か月前
株式会社東京精密
テープ貼付装置
1か月前
株式会社東京精密
ダイシング装置
1か月前
株式会社東京精密
ダイシング装置
1か月前
株式会社東京精密
レーザ加工装置
1か月前
株式会社東京精密
レーザ加工装置
1か月前
株式会社東京精密
レーザ加工装置
1か月前
株式会社東京精密
ハブレスブレード
1か月前
株式会社東京精密
収容ボックスシステム
1か月前
株式会社東京精密
吸着装置及び研削装置
1か月前
株式会社東京精密
加工装置及び加工方法
1か月前
株式会社東京精密
ケーブルのガイド方法
1か月前
株式会社東京精密
校正方法及び校正装置
1か月前
株式会社東京精密
ウェーハの面取り装置
1か月前
株式会社東京精密
ウェーハの面取り装置
1か月前
株式会社東京精密
ウェーハセンシング装置
1か月前
株式会社東京精密
CMP装置及び研磨方法
1か月前
株式会社東京精密
面取り装置及び面取り方法
1か月前
株式会社東京精密
加工方法、及び、加工装置
1か月前
株式会社東京精密
測定装置及び移動体の制御方法
1か月前
続きを見る
他の特許を見る