TOP
|
特許
|
意匠
|
商標
特許ウォッチ
Twitter
他の特許を見る
公開番号
2025155167
公報種別
公開特許公報(A)
公開日
2025-10-14
出願番号
2024058763
出願日
2024-04-01
発明の名称
液体吐出装置
出願人
セイコーエプソン株式会社
代理人
個人
,
個人
,
個人
主分類
B41J
2/175 20060101AFI20251006BHJP(印刷;線画機;タイプライター;スタンプ)
要約
【課題】液体供給装置の本体に対する位置を適正に維持する。
【解決手段】液体を吐出する液体吐出部5と、液体吐出部5を搭載する本体9と、本体9を移動可能に設置面で支持するキャスター13と、設置面Gと本体9との離間方向Dの位置を調整するアジャスター14と、本体9とは独立して移動可能に構成され、液体吐出部5に対して液体供給路12を介して液体を供給する液体供給装置100と、を備え、液体供給装置100は、本体9と係合する係合部110を有し、係合部110は、本体9と液体供給装置100とが係合された係合状態においてキャスター13と設置面Gとの間に配置可能なキャスター受け部111を有する液体吐出装置1。
【選択図】図5
特許請求の範囲
【請求項1】
液体を吐出する液体吐出部と、
前記液体吐出部を搭載する本体と、
前記本体を移動可能に設置面で支持するキャスターと、
前記設置面と前記本体との離間方向の位置を調整するアジャスターと、
前記本体とは独立して移動可能に構成され、前記液体吐出部に対して液体供給路を介して前記液体を供給する液体供給装置と、
を備え、
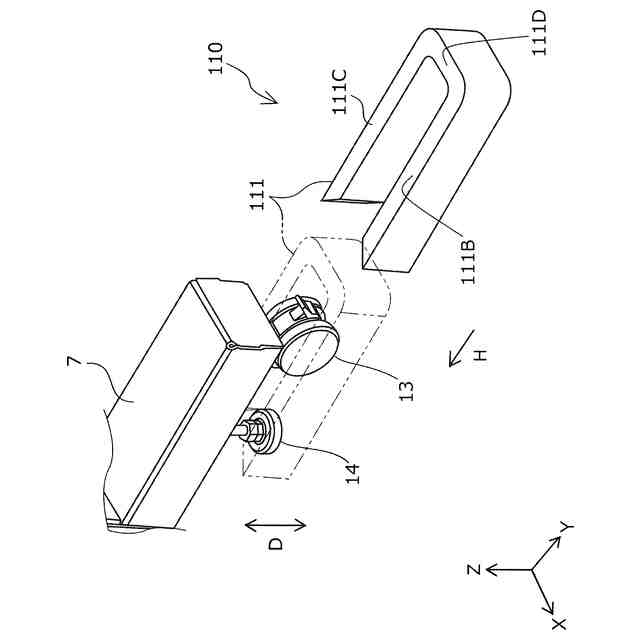
前記液体供給装置は、前記本体と係合する係合部を有し、
前記係合部は、前記本体と前記液体供給装置とが係合された係合状態において前記キャスターと前記設置面との間に配置可能なキャスター受け部を有することを特徴とする液体吐出装置。
続きを表示(約 520 文字)
【請求項2】
請求項1に記載された液体吐出装置において、
前記キャスター受け部は、前記係合状態において、前記離間方向と交差する対向方向において対向する2つの面と、前記離間方向及び前記対向方向と交差する方向に面する1つの面と、の3つの面で前記キャスターを囲む壁部を有することを特徴とする液体吐出装置。
【請求項3】
請求項2に記載された液体吐出装置において、
前記壁部の前記対向する2つの面は、前記係合状態において、前記アジャスターが設けられた位置まで延在することを特徴とする液体吐出装置。
【請求項4】
請求項1から3のいずれか1項に記載された液体吐出装置において、
前記係合部は、前記キャスター受け部が設けられた折り畳み部を有し、前記折り畳み部は、前記係合状態において展開されていることを特徴とする液体吐出装置。
【請求項5】
請求項1から3のいずれか1項に記載された液体吐出装置において、
前記係合状態において、前記本体と前記液体供給装置との間を前記液体供給路で接続された使用可能状態とすることが可能に構成されていることを特徴とする液体吐出装置。
発明の詳細な説明
【技術分野】
【0001】
本発明は、液体吐出装置に関する。
続きを表示(約 2,100 文字)
【背景技術】
【0002】
従来から、様々な液体吐出装置が使用されている。このうち、液体を吐出する本体と本体に液体を供給する液体供給装置とが移動可能に構成されている液体吐出装置がある。例えば、特許文献1には、インクを吐出して印刷するプリンターと、プリンターにインクを供給する液体供給装置とを備え、プリンターと液体供給装置とが複数のチューブで接続されるとともにこれらが移動可能に構成されているプリンターシステムが開示されている。
【先行技術文献】
【特許文献】
【0003】
特開2020-199700号公報
【発明の概要】
【発明が解決しようとする課題】
【0004】
特許文献1のプリンターシステムのように、本体と液体供給装置とが移動可能に構成されている従来の液体吐出装置においては、例えば液体吐出装置を移動させた場合などにおいて、本体と液体供給装置とが離れすぎてチューブなどの液体供給路が破損する虞や、本体と液体供給装置とが近づきすぎて衝突する虞があった。このような虞は、特に、本体や液体供給装置が移動した場合などにおいて、本体と液体供給装置とが連動して移動しないことにより生じやすい。
【課題を解決するための手段】
【0005】
上記課題を解決するための本発明の液体吐出装置は、液体を吐出する液体吐出部と、前記液体吐出部を搭載する本体と、前記本体を移動可能に設置面で支持するキャスターと、前記設置面と前記本体との離間方向の位置を調整するアジャスターと、前記本体とは独立して移動可能に構成され、前記液体吐出部に対して液体供給路を介して前記液体を供給する液体供給装置と、を備え、前記液体供給装置は、前記本体と係合する係合部を有し、前記係合部は、前記本体と前記液体供給装置とが係合された係合状態において前記キャスターと前記設置面との間に配置可能なキャスター受け部を有することを特徴とする。
【図面の簡単な説明】
【0006】
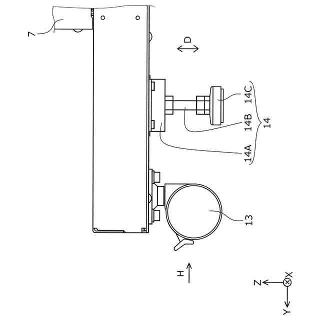
本発明の一実施例に係る液体吐出装置の概略側面図。
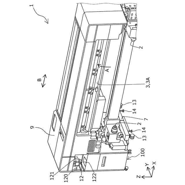
図1の液体吐出装置の背面側からの斜視図であって、液体供給装置と本体とを接続していない状態を表す図。
図1の液体吐出装置の背面側からの一部斜視図であって、液体供給路を介して液体供給装置と本体とを接続した状態を表す図。
図1の液体吐出装置の本体におけるキャスター及びアジャスターの周辺の側面図。
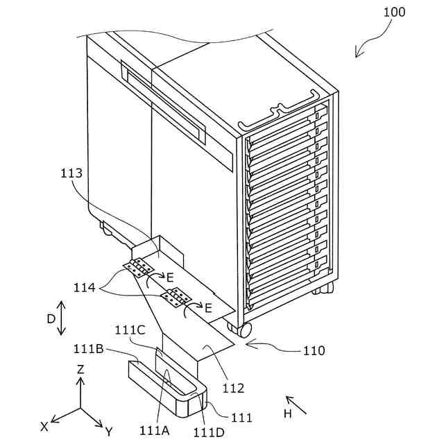
図1の液体吐出装置の本体に取り付けられる液体供給装置の斜視図。
図1の液体吐出装置の本体に液体供給装置を取り付ける際の様子を表す斜視図。
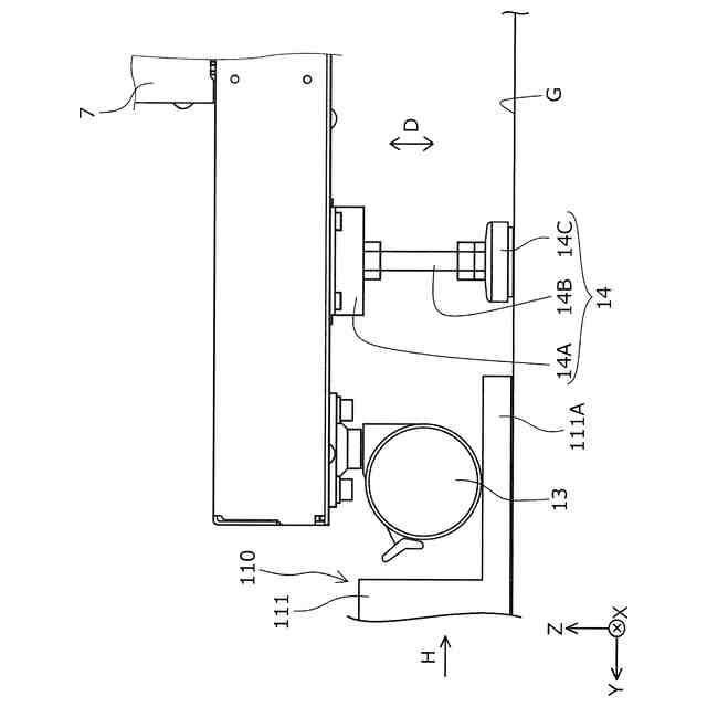
図1の液体吐出装置の本体におけるキャスター及びアジャスターの周辺の側面図であって、キャスター受け部を取り付けた状態を表す図。
【発明を実施するための形態】
【0007】
最初に、本発明について概略的に説明する。
上記課題を解決するための本発明の第1の態様の液体吐出装置は、液体を吐出する液体吐出部と、前記液体吐出部を搭載する本体と、前記本体を移動可能に設置面で支持するキャスターと、前記設置面と前記本体との離間方向の位置を調整するアジャスターと、前記本体とは独立して移動可能に構成され、前記液体吐出部に対して液体供給路を介して前記液体を供給する液体供給装置と、を備え、前記液体供給装置は、前記本体と係合する係合部を有し、前記係合部は、前記本体と前記液体供給装置とが係合された係合状態において前記キャスターと前記設置面との間に配置可能なキャスター受け部を有することを特徴とする。
【0008】
本態様によれば、液体供給装置は本体と係合する係合部を有し、係合部は係合状態においてキャスターと設置面との間に配置可能なキャスター受け部を有する。このような構成とすることで、本体及び液体供給装置が不意に移動することを抑制できるうえ、例え本体または液体供給装置が移動した場合においても本体と液体供給装置とが連動して移動する。したがって、液体供給装置の本体に対する位置を適正に維持することができ、本体と液体供給装置とが離れすぎて液体供給路が破損する虞や、本体と液体供給装置とが近づきすぎて衝突する虞などを低減することができる。
【0009】
本発明の第2の態様の液体吐出装置は、第1の態様に従属する態様であって、前記キャスター受け部は、前記係合状態において、前記離間方向と交差する対向方向において対向する2つの面と、前記離間方向及び前記対向方向と交差する方向に面する1つの面と、の3つの面で前記キャスターを囲む壁部を有することを特徴とする。
【0010】
本態様によれば、キャスター受け部は、係合状態において、対向方向において対向する2つの面と、離間方向及び対向方向と交差する方向に面する1つの面と、の3つの面でキャスターを囲む壁部を有する。このような構成とすることで、ユーザーが意図しないときにキャスター受け部がキャスターから外れることを抑制することができる。
(【0011】以降は省略されています)
この特許をJ-PlatPat(特許庁公式サイト)で参照する
関連特許
個人
箔熱転写装置
1か月前
シヤチハタ株式会社
印判
4か月前
シヤチハタ株式会社
反転式印判
9か月前
三光株式会社
感熱記録材料
6か月前
キヤノン株式会社
記録装置
1か月前
独立行政法人 国立印刷局
印刷物
7か月前
株式会社リコー
画像形成装置
1か月前
株式会社リコー
液体吐出装置
5か月前
日本製紙株式会社
感熱記録体
7か月前
株式会社リコー
液体吐出装置
2か月前
株式会社リコー
印刷システム
21日前
独立行政法人 国立印刷局
記録媒体
8か月前
株式会社リコー
液体吐出装置
7か月前
株式会社リコー
液体吐出装置
8か月前
独立行政法人 国立印刷局
貼付装置
1か月前
独立行政法人 国立印刷局
貼付機構
2か月前
株式会社リコー
液体吐出装置
4か月前
株式会社リコー
液体吐出装置
6か月前
株式会社リコー
画像形成装置
21日前
株式会社リコー
液体吐出装置
8か月前
株式会社リコー
画像形成装置
17日前
株式会社リコー
液体吐出装置
4か月前
キヤノン株式会社
画像処理装置
4か月前
独立行政法人 国立印刷局
潜像形成体
17日前
理想科学工業株式会社
印刷装置
25日前
キヤノン株式会社
画像形成装置
3か月前
キヤノン株式会社
画像形成装置
6か月前
ブラザー工業株式会社
プリンタ
6か月前
キヤノン株式会社
画像形成装置
8か月前
キヤノン株式会社
情報処理装置
9か月前
ブラザー工業株式会社
プリンタ
2か月前
キヤノン株式会社
画像形成装置
7か月前
キヤノン株式会社
画像形成装置
8か月前
独立行政法人 国立印刷局
潜像印刷物
2か月前
キヤノン株式会社
画像記録装置
1か月前
キヤノン株式会社
画像形成装置
8か月前
続きを見る
他の特許を見る