TOP
|
特許
|
意匠
|
商標
特許ウォッチ
Twitter
他の特許を見る
公開番号
2025154241
公報種別
公開特許公報(A)
公開日
2025-10-10
出願番号
2024057133
出願日
2024-03-29
発明の名称
液体検出センサ素子、及び、液体検出センサ
出願人
三菱マテリアル株式会社
,
国立大学法人横浜国立大学
代理人
個人
,
個人
,
個人
,
個人
主分類
G01N
27/04 20060101AFI20251002BHJP(測定;試験)
要約
【課題】構造が簡単で、対象物質の固体と液体の状態変化、または、対象物質の乾燥と湿潤の状態変化を精度良く検出することが可能な液体検出センサ素子、および、液体検出センサを提供する。
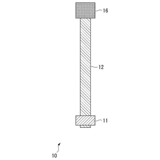
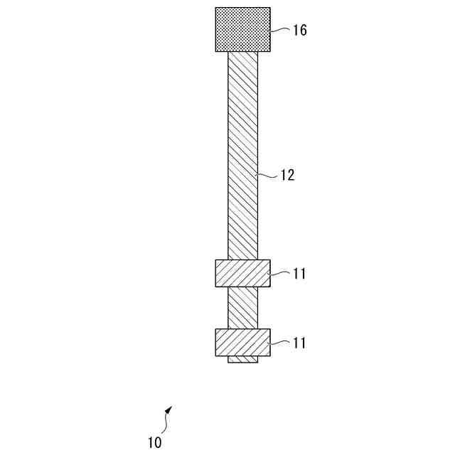
【解決手段】対象物質の固体と液体との状態変化、または、対象物質の乾燥と湿潤との状態変化を検出する液体検出センサ素子20であって、液体状態の前記対象物質が含侵されて保持される液体保持部25と、液体保持部25を介して配設された第1電極部21および第2電極部22と、を有し、液体保持部25は、導電性繊維体、または、絶縁性繊維体に導電体が分散された導電体含有繊維体で構成されていることを特徴とする。
【選択図】図1
特許請求の範囲
【請求項1】
対象物質の固体と液体との状態変化、または、対象物質の乾燥と湿潤との状態変化を検出する液体検出センサ素子であって、
液体状態の前記対象物質が含侵されて保持される液体保持部と、前記液体保持部を介して配設された第1電極部および第2電極部と、を有し、
前記液体保持部は、導電性繊維体、または、絶縁性繊維体に導電体が分散された導電体含有繊維体で構成されていることを特徴とする液体検出センサ素子。
続きを表示(約 570 文字)
【請求項2】
前記絶縁性繊維体が、絶縁性の紙、糸、不織布、布のいずれか一種または二種以上の混合物であることを特徴とする請求項1に記載の液体検出センサ素子。
【請求項3】
前記導電体が、カーボンナノチューブであることを特徴とする請求項1に記載の液体検出センサ素子。
【請求項4】
前記導電体が、有機導電材料であることを特徴とする請求項1に記載の液体検出センサ素子。
【請求項5】
前記導電体が、化合物半導体またはシリコン半導体による、ナノチューブまたはナノワイヤであることを特徴とする請求項1に記載の液体検出センサ素子。
【請求項6】
前記導電性繊維体が、導電性の紙、糸、不織布、布のいずれか一種または二種以上の混合物であることを特徴とする請求項1に記載の液体検出センサ素子。
【請求項7】
請求項1から請求項6のいずれか一項に記載の液体検出センサ素子が配設されたセンサ部と、前記センサ部を支持する支持部材と、前記第1電極部と前記第2電極部との間に生じる電気信号から前記液体保持部に含侵されて保持される前記対象物質の固体と液体の状態変化、または、前記対象物質の乾燥と湿潤との状態変化を判定する判定部と、を備えていることを特徴とする液体検出センサ。
発明の詳細な説明
【技術分野】
【0001】
この発明は、対象物質の固体と液体の状態変化、または、対象物質の乾燥と湿潤の状態変化を検出する液体検出センサ素子、および、液体検出センサに関するものである。
続きを表示(約 2,200 文字)
【背景技術】
【0002】
山間部等の積雪地方においては、気温の上昇にともない雪崩が発生することがある。積雪地方においては、雪崩の発生によって、鉄道や道路等の交通手段が遮断されてしまうことがあった。
さらに、雪崩によって電線等の送電設備、ガス管、水道管等のインフラ設備が破壊され、生活環境が大きく影響を受けることがあった。
【0003】
ここで、雪崩の発生原因として、気温上昇による融雪や降雨によって積雪層の中に帯水層が形成され、積雪の強度が低下することが挙げられる。
なお、構造物の屋根からの落雪においても、同様に、積雪層の中に帯水層が形成されることによって発生することになる。
また、積雪した表面の雪が融解と再凍結を繰り返すことで、結晶が大きなザラメ雪となり、その上に新雪が積もることでザラメ雪との界面に雪崩の起点となる弱層が発生することが挙げられる。
【0004】
雪崩や落雪の発生の兆候を早期に検知するには、積雪層の表面を含む任意の深さの融雪や、積雪層の中での帯水層の形成を検出することが有効である。すなわち、積雪層の表面および層中で、雪(固体)が水(液体)に状態変化することを検出すればよい。また、積雪状態から雪崩や落雪の危険性が高まる降雨による湿潤状態や、気温の低下に伴う凍結を検知することを検出することが有効である。
なお、例えば冷凍品等の温度管理が必要な製品を管理、運搬する際に、冷凍品が融解しない温度管理を行う必要がある。ここで、氷(固体)が水(液体)に状態変化を検出することにより、温度管理を行うことが可能となる。
【0005】
ここで、例えば、特許文献1-3においては、一対の電極の間に水分が存在した際の電気抵抗の低下によって水分の発生(降雨、降雪)の有無を検知するセンサが提案されている。
また、特許文献4,5においては、収容した液体を凝固させておき、この凝固した液体が溶融した際に色が変化するように構成することにより、目視によって温度を検出する手段が提案されている。
【先行技術文献】
【特許文献】
【0006】
特開平07-020074号公報
特開2000-284065号公報
特開2004-028617号公報
特開2003-232687号公報
特許第5547861号公報
【発明の概要】
【発明が解決しようとする課題】
【0007】
ところで、最近では、情報通信技術(インターネット)を活用して、無人で雪崩や落雪の検知、温度管理を行うことが試行されている。
ここで、特許文献1-3に開示されたセンサにおいては、一対の電極間に水分が存在しないと検知できないため、帯水層の形成を精度良く検出することができないおそれがあった。
また、特許文献4,5においては、色の変化を確認する必要があり、遠隔で検出することは困難であった。
【0008】
この発明は、前述した事情に鑑みてなされたものであって、構造が簡単で、対象物質の固体と液体の状態変化、または、対象物質の乾燥と湿潤の状態変化を精度良く検出することが可能な液体検出センサ素子、および、液体検出センサを提供することを目的とする。
【課題を解決するための手段】
【0009】
上記課題を解決するために、本発明の態様1の液体検出センサ素子は、対象物質の固体と液体との状態変化、または、対象物質の乾燥と湿潤との状態変化を検出する液体検出センサ素子であって、液体状態の前記対象物質が含侵されて保持される液体保持部と、前記液体保持部を介して配設された第1電極部および第2電極部と、を有し、前記液体保持部は、導電性繊維体、または、絶縁性繊維体に導電体が分散された導電体含有繊維体で構成されていることを特徴としている。
【0010】
本発明の態様1の液体検出センサ素子によれば、液体状態の前記対象物質が含侵されて保持される液体保持部を有しているので、第1電極部と第2電極部との間に確実に対象物質を配設することができる。
そして、前記液体保持部は、導電性繊維体、または、絶縁性繊維体に導電体が分散された導電体含有繊維体とされているので、例えば、前記液体保持部が導電性繊維体の場合には、前記液体保持部に含侵させた対象物質の状態変化によって、導電性繊維体のネットワーク状態が変化することで、前記液体保持部における電気抵抗が変化することになる。また、前記液体保持部が導電体含有繊維体の場合には、前記液体保持部に予め液体状態の対象物質を含侵させておき、この前記液体保持部に含侵させた対象物質が液体状態から固体状態に、または、液体状態から固体状態に状態変化して体積変動した際に、前記液体保持部(導電体含有繊維体)における導電体の分散状態が変化し、前記液体保持部における電気抵抗が変化することになる。
上述の電気抵抗の変化に伴う電気信号を検知することで、対象物質の乾燥から湿潤への状態変化、湿潤から乾燥への状態変化、固体から液体への状態変化(融解)、または、液体から固体への状態変化(凝固)を精度良く、かつ、確実に検出することが可能となる。
(【0011】以降は省略されています)
この特許をJ-PlatPat(特許庁公式サイト)で参照する
関連特許
個人
視触覚センサ
2日前
ユニパルス株式会社
トルク変換器
2日前
ユニパルス株式会社
トルク変換器
2日前
ユニパルス株式会社
トルク変換器
2日前
日本特殊陶業株式会社
ガスセンサ
2日前
日本特殊陶業株式会社
ガスセンサ
3日前
本陣水越株式会社
車載式計測標的物
4日前
日置電機株式会社
絶縁抵抗測定装置
2日前
ユニパルス株式会社
トルク変換器、調整部材
2日前
スズキ株式会社
タイヤ径算出システム
3日前
シブヤ精機株式会社
食品検査装置
2日前
東レ株式会社
異物検査装置および異物検査方法
2日前
株式会社不二越
X線測定システム
2日前
国立研究開発法人物質・材料研究機構
校正方法
2日前
CKD株式会社
シート情報確認システム
3日前
矢崎総業株式会社
電流センサ
3日前
日本特殊陶業株式会社
FETセンサ
2日前
株式会社東芝
センサ及び電子装置
4日前
矢崎総業株式会社
センサ搭載構造
2日前
矢崎総業株式会社
センサ搭載構造
2日前
株式会社Profid
接触冷感測定装置
3日前
CKD株式会社
噴出ヘッドの流速検査装置
2日前
株式会社東芝
光電流センサ
3日前
株式会社小野測器
トルク計
3日前
キヤノン株式会社
測距装置及び測距方法
2日前
株式会社クボタ
粘度測定方法および粘度測定装置
2日前
株式会社ジークス
検出判断装置及び人感センサシステム
2日前
アークレイ株式会社
分析装置
2日前
ニッカ電測株式会社
おにぎりの具材欠品検査装置
2日前
トヨタ自動車株式会社
情報処理装置
3日前
ニデックインスツルメンツ株式会社
検査装置
4日前
トヨタ自動車株式会社
情報処理装置
3日前
東亜非破壊検査株式会社
磁粉探傷装置
2日前
株式会社笹山工業所
シックナー用の検査装置及びシックナー
5日前
オムロン株式会社
プローブピンおよびソケット
3日前
個人
方位指示装置、太陽光発電装置、及び、プログラム
2日前
続きを見る
他の特許を見る