TOP
|
特許
|
意匠
|
商標
特許ウォッチ
Twitter
他の特許を見る
公開番号
2025153634
公報種別
公開特許公報(A)
公開日
2025-10-10
出願番号
2024056204
出願日
2024-03-29
発明の名称
ベルトユニットのリサイクル方法
出願人
ブラザー工業株式会社
代理人
個人
,
個人
主分類
G03G
15/16 20060101AFI20251002BHJP(写真;映画;光波以外の波を使用する類似技術;電子写真;ホログラフイ)
要約
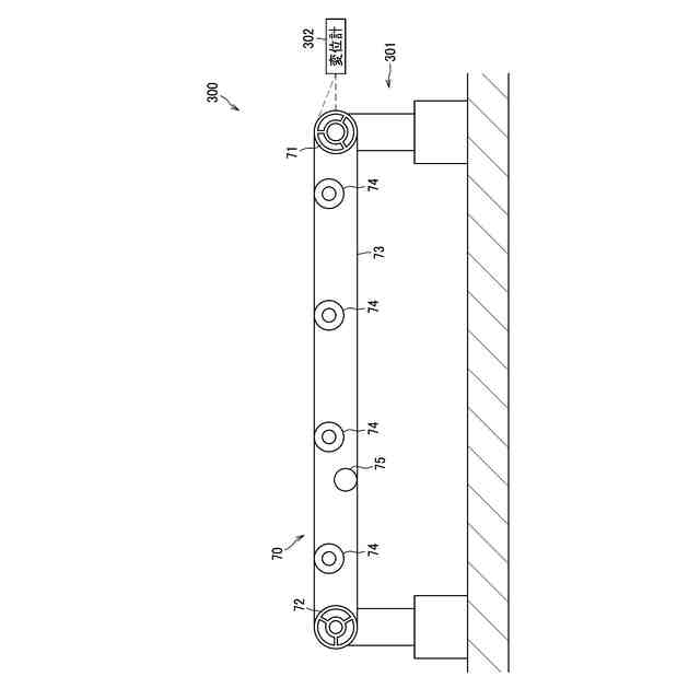
【課題】ベルトユニットを分解せずにベルトユニットの部品が再利用可能なものであるかを判定する。
【解決手段】ベルトユニットのリサイクル方法は、回転工程と、計測工程と、判定工程と、を有する。ベルトユニットは、転写ベルトと、転写ベルトの内面と接触する駆動ローラと、を有する。回転工程では、駆動ローラを回転させることにより転写ベルトを動かす。計測工程では、駆動ローラを回転させているときに、変位計を用いて、駆動ローラと接触する位置における転写ベルトの外面の変位を計測する。判定工程では、計測した変位のピークの高さが所定の閾値よりも小さい場合は、駆動ローラの交換が不要であると判定する。
【選択図】図4
特許請求の範囲
【請求項1】
転写ベルトと、前記転写ベルトの内面と接触する駆動ローラと、を有するベルトユニットのリサイクル方法であって、
前記駆動ローラを回転させることにより前記転写ベルトを動かす回転工程と、
前記駆動ローラを回転させているときに、変位計を用いて、前記駆動ローラと接触する位置における前記転写ベルトの外面の変位を計測する計測工程と、
計測した前記変位のピークの高さが所定の閾値よりも小さい場合は、前記駆動ローラの交換が不要であると判定する判定工程と、を有することを特徴とするベルトユニットのリサイクル方法。
続きを表示(約 770 文字)
【請求項2】
前記判定工程において、
計測した前記変位のピークの高さが前記所定の閾値以上の場合は、突起があると判定し、
前記突起の数が所定値以上の場合は、前記駆動ローラの交換または清掃もしくは前記転写ベルトの清掃が必要であると判定することを特徴とする請求項1に記載のベルトユニットのリサイクル方法。
【請求項3】
前記判定工程において、前記転写ベルトが1回転する間に、前記突起が2つ以上検知された場合は、前記駆動ローラの交換または清掃が必要であると判定することを特徴とする請求項2に記載のベルトユニットのリサイクル方法。
【請求項4】
前記判定工程において、前記転写ベルトが1回転する間に、前記突起が1つのみ検知された場合は、前記転写ベルトの清掃が必要であると判定することを特徴とする請求項2に記載のベルトユニットのリサイクル方法。
【請求項5】
前記転写ベルトの前記外面の変位を検出する位置は、前記駆動ローラの長手方向において、前記転写ベルトの前記外面に形成される調整用トナー像が通る位置であることを特徴とする請求項1に記載のベルトユニットのリサイクル方法。
【請求項6】
前記判定工程において、
計測した前記変位のピークの高さが前記所定の閾値以上の場合は、突起があると判定し、
前記突起の検出周期と前記駆動ローラの回転周期とを比較し、
前記突起の検出周期と前記駆動ローラの回転周期が一致する場合は、前記駆動ローラの交換または清掃が必要であると判定し、
前記突起の検出周期と前記駆動ローラの回転周期が一致しない場合は、前記転写ベルトの清掃が必要であると判定することを特徴とする請求項1に記載のベルトユニットのリサイクル方法。
発明の詳細な説明
【技術分野】
【0001】
本開示は、転写ベルトと、転写ベルトの内面と接触する駆動ローラと、を有するベルトユニットのリサイクル方法に関する。
続きを表示(約 1,400 文字)
【背景技術】
【0002】
従来、画像形成装置のトナーカートリッジをリサイクルする技術が知られている(特許文献1参照)。資源を持続的に活用するという観点から、より多くの部品をリサイクルすることが望ましい。
【0003】
画像形成装置のベルトユニットの状態は、使用状況によって異なる。例えば、ベルトユニットの駆動ローラの外周面とベルトの内面との間に異物が付着すると、ベルトの外面に突起として現れる。ベルトの外面に突起があると、ベルトの外面に印字される調整用トナー像を読み取る際に誤検知が発生するおそれがある。センサを用いて、このような突起を検知することが知られている(特許文献2参照)。
【先行技術文献】
【特許文献】
【0004】
特開平5-210304号公報
特開2020-154113号公報
【発明の概要】
【発明が解決しようとする課題】
【0005】
ベルトユニットをリサイクルするにあたり、ベルトユニットの駆動ローラの外周面とベルトの内面との間の異物を確認して取り除くためには、ベルトユニットの分解が必要である。しかし、使用済のベルトユニットを一律に分解すると、工程の数が増えてコストがかかってしまう。よって、状態に問題がない使用済のベルトユニットは、分解せずに再利用することが望ましい。
【0006】
そこで、本開示は、使用済のベルトユニットを分解せずに、ベルトユニットの部品の交換または清掃の必要性を判定することができるベルトユニットのリサイクル方法を提供することを目的とする。
【課題を解決するための手段】
【0007】
前記した課題を解決するため、本開示のベルトユニットのリサイクル方法は、回転工程と、計測工程と、判定工程と、を有する。ベルトユニットは、転写ベルトと、転写ベルトの内面と接触する駆動ローラと、を有する。
回転工程では、駆動ローラを回転させることにより転写ベルトを動かす。
計測工程では、駆動ローラを回転させているときに、変位計を用いて、駆動ローラと接触する位置における転写ベルトの外面の変位を計測する。
判定工程では、計測した変位のピークの高さが所定の閾値よりも小さい場合は、駆動ローラの交換が不要であると判定する。
【0008】
駆動ローラを回転させているときに、変位計を用いて、駆動ローラと接触する位置における転写ベルトの外面の変位を計測し、計測した変位のピークの高さが所定の閾値よりも小さい場合に駆動ローラの交換が不要であると判定することにより、使用済のベルトユニットを分解せずに、ベルトユニットの部品が再利用可能なものであるかを判定することができる。
【0009】
判定工程において、計測した変位のピークの高さが所定の閾値以上の場合は、突起があると判定し、突起の数が所定値以上の場合は、駆動ローラの交換または清掃もしくは転写ベルトの清掃が必要であると判定してもよい。
【0010】
計測した変位のピークの高さが所定の閾値以上の場合は、突起があると判定し、突起の数が所定値以上の場合は、駆動ローラの交換または清掃もしくは転写ベルトの清掃が必要であると判定することにより、使用済のベルトユニットを分解せずに駆動ローラの交換または清掃もしくは転写ベルトの清掃の必要性を判定することができる。
(【0011】以降は省略されています)
この特許をJ-PlatPat(特許庁公式サイト)で参照する
関連特許
ブラザー工業株式会社
印刷装置
17日前
ブラザー工業株式会社
印刷装置
5日前
ブラザー工業株式会社
画像形成装置
4日前
ブラザー工業株式会社
画像形成装置
4日前
ブラザー工業株式会社
画像形成装置
4日前
ブラザー工業株式会社
画像形成装置
4日前
ブラザー工業株式会社
サポートプログラム
4日前
ブラザー工業株式会社
サポートプログラム
4日前
ブラザー工業株式会社
プリンタおよびプログラム
6日前
ブラザー工業株式会社
プリンタおよびプログラム
6日前
ブラザー工業株式会社
インクジェット記録方法及び印刷物
19日前
ブラザー工業株式会社
プログラム、データ処理装置、および、データ処理方法
6日前
ブラザー工業株式会社
通信システム、サーバ、および、コンピュータプログラム
4日前
ブラザー工業株式会社
プリンタ
19日前
ブラザー工業株式会社
カセット
20日前
ブラザー工業株式会社
画像形成装置
10日前
ブラザー工業株式会社
ラベル巻付装置
20日前
ブラザー工業株式会社
情報処理プログラム、情報処理装置、情報処理方法、印刷プログラム、印刷装置、及び印刷方法
6日前
ブラザー工業株式会社
記録装置、記録装置用消耗品、及び情報処理方法
20日前
個人
表示装置
19日前
個人
雨用レンズカバー
17日前
株式会社シグマ
絞りユニット
1か月前
平和精機工業株式会社
雲台
2か月前
キヤノン株式会社
撮像装置
1か月前
キヤノン株式会社
撮像装置
10日前
キヤノン株式会社
撮像装置
10日前
キヤノン株式会社
撮像装置
10日前
キヤノン株式会社
撮像装置
1か月前
日本精機株式会社
車両用投射装置
25日前
キヤノン株式会社
撮像装置
1か月前
株式会社リコー
画像形成装置
1か月前
株式会社リコー
画像形成装置
2か月前
株式会社リコー
画像形成装置
1か月前
株式会社リコー
画像形成装置
7日前
株式会社リコー
画像形成装置
4日前
株式会社リコー
画像形成装置
4日前
続きを見る
他の特許を見る