TOP
|
特許
|
意匠
|
商標
特許ウォッチ
Twitter
他の特許を見る
10個以上の画像は省略されています。
公開番号
2025152927
公報種別
公開特許公報(A)
公開日
2025-10-10
出願番号
2024055115
出願日
2024-03-28
発明の名称
ロボットおよびロボットシステム
出願人
セイコーエプソン株式会社
代理人
個人
,
個人
,
個人
主分類
B25J
13/08 20060101AFI20251002BHJP(手工具;可搬型動力工具;手工具用の柄;作業場設備;マニプレータ)
要約
【課題】慣性センサーモジュールが振動し難く、慣性センサーモジュールの検出精度の低下を抑制することのできるロボットおよびロボットシステムを提供する。
【解決手段】ロボットは、基台と、前記基台に連結され、前記基台に対して第1回動軸まわりに回動する第1アームと、前記第1アームに連結され、前記第1アームに対して前記第1回動軸と平行な第2回動軸まわりに回動する第2アームと、前記第2アームに配置されている慣性センサーモジュールと、を有し、前記第2アームは、前記第1アームに連結されているアームベースと、前記アームベースから前記第2回動軸に沿う方向の一方側に向けて立設されている複数の支柱と、複数の前記支柱に固定されている載置部材と、を有し、前記載置部材に前記慣性センサーモジュールが固定されている。
【選択図】図10
特許請求の範囲
【請求項1】
基台と、
前記基台に連結され、前記基台に対して第1回動軸まわりに回動する第1アームと、
前記第1アームに連結され、前記第1アームに対して前記第1回動軸と平行な第2回動軸まわりに回動する第2アームと、
前記第2アームに配置されている慣性センサーモジュールと、を有し、
前記第2アームは、前記第1アームに連結されているアームベースと、前記アームベースから前記第2回動軸に沿う方向の一方側に向けて立設されている複数の支柱と、複数の前記支柱に固定されている載置部材と、を有し、
前記載置部材に前記慣性センサーモジュールが固定されていることを特徴とするロボット。
続きを表示(約 2,300 文字)
【請求項2】
前記第2アームに配置され前記第1回動軸と平行な第3回動軸に沿って配置されているスプラインシャフトと、前記スプラインシャフトに装着されているスプラインナットおよびボールネジナットと、を備え、前記スプラインナットを回動させると前記スプラインシャフトが前記第3回動軸まわりに少なくとも回動し、前記ボールネジナットを回動させると前記スプラインシャフトが前記第3回動軸に沿って直動する作業ヘッドと、
第1モーターと、前記第1モーターの回動を前記スプラインナットに伝達する第1動力伝達機構と、を備え、前記第1動力伝達機構が前記スプラインナットに固定されている第1プーリーと、前記第1プーリーに回しかけられている第1ベルトと、を備えるスプラインシャフト第1駆動機構と、
第2モーターと、前記第2モーターの回動を前記ボールネジナットに伝達する第2動力伝達機構と、を備え、前記第2動力伝達機構が前記ボールネジナットに固定されている第2プーリーと、前記第2プーリーに回しかけられている第2ベルトと、を備えるスプラインシャフト第2駆動機構と、を有し、
前記載置部材は、前記第1ベルトおよび前記第2ベルトよりも前記第2回動軸に沿う方向の前記一方側に位置し、前記第2回動軸に沿う方向からの平面視で、前記第1ベルトおよび前記第2ベルトと重なっている請求項1に記載のロボット。
【請求項3】
前記慣性センサーモジュールは、基板と、前記基板に配置されている慣性センサーと、を有し、
前記基板は、平面視で矩形であり、各角部において前記載置部材に固定されている請求項1に記載のロボット。
【請求項4】
前記慣性センサーモジュールは、前記基板上であって、隣り合う一対の前記載置部材との固定箇所の間に配置されているコネクターを有する請求項3に記載のロボット。
【請求項5】
前記慣性センサーモジュールは、スペーサーを介して前記載置部材に固定されている請求項1に記載のロボット。
【請求項6】
前記第2回動軸に沿う方向からの平面視で、前記慣性センサーモジュールと前記載置部材との固定箇所は、各前記載置部材と前記支柱との固定箇所に対してずれている請求項1に記載のロボット。
【請求項7】
前記載置部材を前記第2回動軸に沿う方向に貫通する載置部材貫通孔を有する請求項1に記載のロボット。
【請求項8】
前記アームベースを前記第2回動軸に沿う方向に貫通するアームベース貫通孔を有し、
前記アームベース貫通孔は、複数の前記支柱から選択される2つの前記支柱の間に位置している請求項1に記載のロボット。
【請求項9】
前記載置部材は、ネジによって各前記支柱に固定され、
第1姿勢のときに前記ネジが挿通される第1ネジ挿通孔と、
前記第1姿勢と異なる第2姿勢のときに前記ネジが挿通される第2ネジ挿通孔と、を有する請求項1に記載のロボット。
【請求項10】
前記第2アームに配置され前記第1回動軸と平行な第3回動軸に沿って配置されているスプラインシャフトと、前記スプラインシャフトに装着されているスプラインナットおよびボールネジナットと、を備え、前記スプラインナットを回動させると前記スプラインシャフトが前記第3回動軸まわりに回動し、前記ボールネジナットを回動させると前記スプラインシャフトが前記第3回動軸に沿って直動する作業ヘッドと、
第1モーターと、前記第1モーターの回動を前記スプラインナットに伝達する第1動力伝達機構と、を備え、前記第1動力伝達機構が前記スプラインナットに固定されている第1プーリーと、前記第1プーリーに回しかけられている第1ベルトと、を備えるスプラインシャフト第1駆動機構と、
第2モーターと、前記第2モーターの回動を前記ボールネジナットに伝達する第2動力伝達機構と、を備え、前記第2動力伝達機構が前記ボールネジナットに固定されている第2プーリーと、前記第2プーリーに回しかけられている第2ベルトと、を備えるスプラインシャフト第2駆動機構と、
前記載置部材を前記第2回動軸に沿う方向に貫通する載置部材貫通孔と、
前記アームベースを前記第2回動軸に沿う方向に貫通し、前記第2回動軸に沿う方向からの平面視で前記載置部材と重なっているアームベース貫通孔と、を有し、
前記載置部材は、前記第1ベルトおよび前記第2ベルトよりも前記第2回動軸に沿う方向の前記一方側に位置し、前記第2回動軸に沿う方向からの平面視で、前記第1ベルトおよび前記第2ベルトと重なり、
さらに、前記載置部材は、ネジによって各前記支柱に固定されており、第1姿勢のときに前記ネジが挿通される第1ネジ挿通孔と、前記第1姿勢と異なる第2姿勢のときに前記ネジが挿通される第2ネジ挿通孔と、を有し、
前記慣性センサーモジュールは、回路基板と、前記回路基板に実装されている慣性センサーと、を有し、
前記回路基板は、前記第2回動軸に沿う方向からの平面視で、矩形をなし、前記矩形の各角部においてスペーサーを介して前記載置部材に固定されており、隣り合う一対の前記載置部材との固定箇所の間に配置され、別の電子機器との電気的な接続を行うコネクターを有し、
前記第2回動軸に沿う方向からの平面視で、前記回路基板と前記載置部材との固定箇所は、前記載置部材と前記支柱との固定箇所に対してずれている請求項1に記載のロボット。
(【請求項11】以降は省略されています)
発明の詳細な説明
【技術分野】
【0001】
本発明は、ロボットおよびロボットシステムに関する。
続きを表示(約 2,100 文字)
【背景技術】
【0002】
特許文献1に記載されたスカラロボット(水平多関節ロボット)は、基台と、基台に対して鉛直方向に沿う第1回動軸まわりに回動可能に連結された第1アームと、第1アームに対して鉛直方向に沿う第2回動軸まわりに回動可能に連結された第2アームと、を有する。また、第2アーム内には、スペーサーを介して第2アームの底部基材に固定されたジャイロセンサーモジュールが配置されている。
【先行技術文献】
【特許文献】
【0003】
特開2013-111665号公報
【発明の概要】
【発明が解決しようとする課題】
【0004】
しかしながら、上述のように第2アームの底部基材がスペーサーを介してジャイロセンサーモジュールを支持する構成では、第2アームの振動がジャイロセンサーモジュールに伝わり易い。そのため、第2アームの振動によって、ジャイロセンサーモジュールの検出精度が低下するおそれがある。
【課題を解決するための手段】
【0005】
本発明のロボットは、基台と、
前記基台に連結され、前記基台に対して第1回動軸まわりに回動する第1アームと、
前記第1アームに連結され、前記第1アームに対して前記第1回動軸と平行な第2回動軸まわりに回動する第2アームと、
前記第2アームに配置されている慣性センサーモジュールと、を有し、
前記第2アームは、前記第1アームに連結されているアームベースと、前記アームベースから前記第2回動軸に沿う方向の一方側に向けて立設されている複数の支柱と、複数の前記支柱に固定されている載置部材と、を有し、
前記載置部材に前記慣性センサーモジュールが固定されている。
【0006】
本発明のロボットシステムは、ロボットと、
前記ロボットの駆動を制御する制御装置と、を有し、
前記ロボットは、基台と、
前記基台に連結され、前記基台に対して第1回動軸まわりに回動する第1アームと、
前記第1アームに連結され、前記第1アームに対して前記第1回動軸と平行な第2回動軸まわりに回動する第2アームと、
前記第2アームに配置されている慣性センサーモジュールと、を有し、
前記第2アームは、前記第1アームに連結されているアームベースと、前記アームベースから前記第2回動軸に沿う方向の一方側に向けて立設されている複数の支柱と、複数の前記支柱に固定されている載置部材と、を有し、
前記載置部材に前記慣性センサーモジュールが固定されている。
【図面の簡単な説明】
【0007】
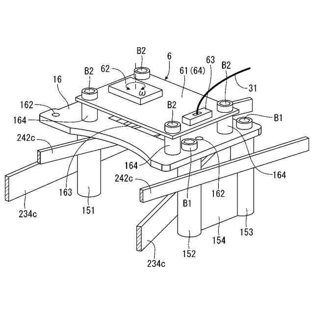
第1実施形態に係るロボットを示す側面図である。
基台と第1アームとの連結部分を示す断面図である。
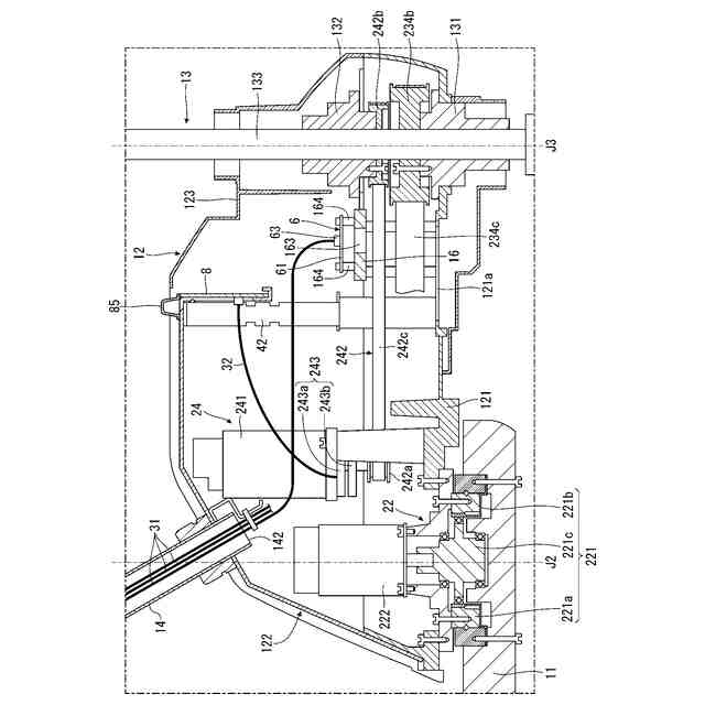
第2アームを横方向一方側から見た断面図である。
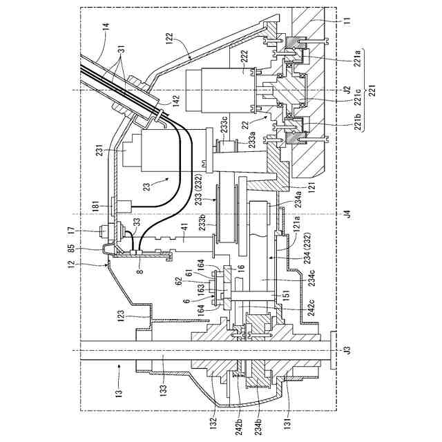
第2アームを横方向他方側から見た断面図である。
第2アームの内部を示す上面図である。
フレームの先端部を拡大して示す斜視図である。
フレームの先端部を拡大して示す断面図である。
第2アームの内部を示す上面図である。
載置部材周辺を示す斜視図である。
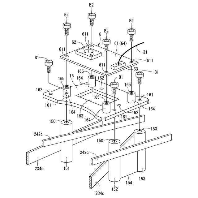
載置部材周辺を示す分解斜視図である。
第2実施形態に係るロボットの第2アーム内を示す上面図である。
載置部材周辺を示す分解斜視図である。
【発明を実施するための形態】
【0008】
以下、本発明のロボットおよびロボットシステムを添付図面に示す実施形態に基づいて詳細に説明する。
【0009】
<第1実施形態>
図1は、第1実施形態に係るロボットを示す側面図である。図2は、基台と第1アームとの連結部分を示す断面図である。図3は、第2アームを横方向一方側から見た断面図である。図4は、第2アームを横方向他方側から見た断面図である。図5は、第2アームの内部を示す上面図である。図6は、フレームの先端部を拡大して示す斜視図である。図7は、フレームの先端部を拡大して示す断面図である。図8は、第2アームの内部を示す上面図である。図9は、載置部材周辺を示す斜視図である。図10は、載置部材周辺を示す分解斜視図である。
【0010】
なお、図1中の上下方向は、鉛直方向と一致している。そのため、以下では、図1中の上側を「上」、下側を「下」とも言う。また、本明細書において「鉛直」とは、鉛直と一致している場合のみならず、本発明の効果を発揮し得る限りの範囲において鉛直に対して傾斜している場合、例えば、鉛直に対して±5°以内で傾斜している場合も含む意味である。同様に、本明細書において「平行」とは、2つの対象が平行と一致している場合のみならず、本発明の効果を発揮し得る限りの範囲において平行から傾斜している場合、例えば、平行に対して±5°以内で傾斜している場合も含む意味である。
(【0011】以降は省略されています)
この特許をJ-PlatPat(特許庁公式サイト)で参照する
関連特許
個人
折りたたみ工具
1か月前
川崎重工業株式会社
ロボット
10日前
株式会社三協システム
製函機
1か月前
株式会社竹中工務店
補助セット
9日前
株式会社三協システム
移載装置
1か月前
株式会社不二越
ロボット
9日前
CKD株式会社
把持装置
1か月前
株式会社不二越
ロボット操作装置
1か月前
川崎重工業株式会社
ハンド
1日前
株式会社不二越
ロボットシステム
1か月前
SMC株式会社
着脱装置
1か月前
株式会社ミクロブ
把持装置
1か月前
太陽パーツ株式会社
アシストスーツ
1か月前
株式会社不二越
移動ロボットシステム
12日前
工機ホールディングス株式会社
作業機
1日前
ARMA株式会社
ジョイントフレーム
1か月前
トヨタ自動車株式会社
ロボット
4日前
株式会社不二越
エッジ仕上げ装置
22日前
本田技研工業株式会社
装置
15日前
株式会社不二越
ロボットシステム
1か月前
株式会社不二越
ロボットシステム
1か月前
川崎重工業株式会社
塗装システム
1日前
トヨタ自動車株式会社
歩行ロボット
1か月前
株式会社不二越
垂直多関節ロボット
23日前
トヨタ自動車株式会社
軌道生成装置
4日前
シンフォニアテクノロジー株式会社
搬送装置
12日前
ダイハツ工業株式会社
移載治具
1か月前
アネックスツール株式会社
ドライバービット
8日前
ライオン株式会社
移載システム
24日前
工機ホールディングス株式会社
作業機
1日前
大和ハウス工業株式会社
ねじ回転工具
1か月前
ワールド技研株式会社
ロボットセル装置
9日前
川崎重工業株式会社
ワーク搬送ロボット
1日前
株式会社マキタ
回転打撃工具
4日前
セイコーエプソン株式会社
ロボット
8日前
セイコーエプソン株式会社
ロボット
1か月前
続きを見る
他の特許を見る