TOP
|
特許
|
意匠
|
商標
特許ウォッチ
Twitter
他の特許を見る
10個以上の画像は省略されています。
公開番号
2025152521
公報種別
公開特許公報(A)
公開日
2025-10-10
出願番号
2024054434
出願日
2024-03-28
発明の名称
分析素子の製造方法および分析素子
出願人
住友精密工業株式会社
代理人
個人
,
個人
主分類
G01N
27/00 20060101AFI20251002BHJP(測定;試験)
要約
【課題】分析対象の分析を適切に行うことができなくなることを回避することが可能な分析素子の製造方法および分析素子を提供する。
【解決手段】この分析素子100の製造方法は、マスク層20を形成する工程と、メンブレン層30を形成する工程と、基板10を露出させる工程と、導入孔13を形成するとともに、突出部14を導入孔13の入口側の端部13aに形成する工程と、突出部14をウェットエッチングすることにより、突出部14を除去する工程と、を備える。
【選択図】図13
特許請求の範囲
【請求項1】
基板の第1面上に、第1マスク層を形成する工程と、
前記第1マスク層に入口側となる第1孔を形成することで前記基板を露出させる工程と、
前記基板の前記第1面とは反対の第2面上に、出口側となるポアを有するメンブレン層を形成する工程と、
前記出口側において前記ポアに接続され、前記入口側から前記出口側に向かって徐々に先細るテーパ形状を有する導入孔を形成するとともに、前記導入孔の外側から内側に向かって張り出しており、前記第1マスク層に覆われていない突出部を前記導入孔の前記入口側の端部に形成する工程と、
前記突出部をウェットエッチングすることにより、前記突出部を除去する工程と、を備える、分析素子の製造方法。
続きを表示(約 1,500 文字)
【請求項2】
前記第1孔の内周の近傍の前記基板の部分を覆うように配置され、前記第1孔よりも小さい第2孔を有する内側マスク部と、前記第1マスク層を覆う外側マスク部とを含む第2マスク層を形成する工程と、
前記第2孔によって露出した前記基板の部分をウェットエッチングすることにより、前記導入孔を形成するとともに、前記内側マスク部で覆われた前記基板の部分が残ることによって、前記内側マスク部で覆われた前記突出部を形成する工程と、
前記導入孔および前記突出部を形成した後、前記第2マスク層を除去することによって、前記突出部の前記第1面側の面を露出させる工程と、を含む、請求項1に記載の分析素子の製造方法。
【請求項3】
前記第1孔によって露出した前記基板の部分をウェットエッチングすることにより、前記導入孔を形成するとともに、前記第1マスク層で覆われた前記基板の部分が残ることによって、前記第1マスク層で覆われた前記突出部を形成する工程と、
前記導入孔および前記突出部を形成した後、前記突出部の上の前記第1マスク層を除去することによって、前記突出部の前記第1面側の面を露出させる工程と、を含む、請求項1に記載の分析素子の製造方法。
【請求項4】
前記第1マスク層に他の部分よりも厚みが薄くなった陥没部を形成する工程と、
前記陥没部の内側に配置され、前記陥没部よりも小さく、前記基板が露出した前記第1孔を形成する工程と、
前記第1孔によって露出した前記基板の部分、および前記陥没部をウェットエッチングすることで、前記導入孔を形成するとともに、前記陥没部が除去されることで前記第1面側の面が露出した前記突出部を形成する工程と、を含む、請求項1に記載の分析素子の製造方法。
【請求項5】
前記第2マスク層を形成する工程は、
前記第1マスク層、および、前記第1孔によって露出した前記基板の部分上に、前記第2マスク層を形成する工程と、
前記第2マスク層をドライエッチングまたはウェットエッチングすることにより、前記第2孔を有する前記内側マスク部を前記第2マスク層に形成する工程と、を含む、請求項2に記載の分析素子の製造方法。
【請求項6】
前記第1マスク層および前記第2マスク層は、互いに異なる材料により形成され、
前記突出部の前記第1面側の面を露出させる工程は、前記第1マスク層が除去されないエッチング液を用いて、前記内側マスク部と前記外側マスク部とを含む前記第2マスク層をウェットエッチングする工程を含む、請求項2に記載の分析素子の製造方法。
【請求項7】
前記突出部を除去する工程は、前記突出部をウェットエッチングすることにより、前記第1面と直交する仮想線に対して、前記導入孔の傾斜角度よりも大きい傾斜角度のテーパ形状を前記導入孔の前記入口側の端部に形成する工程を含む、請求項1に記載の分析素子の製造方法。
【請求項8】
基板と、
前記基板の第1面上に形成され、入口側となる孔を有するマスク層と、
前記基板の前記第1面とは反対の第2面上に形成され、電解液および分析対象が通過する出口側となるポアを有するメンブレン層と、を備え、
前記基板は、前記電解液および前記分析対象を前記ポアに導入する導入孔を含み、
前記導入孔は、前記出口側において前記ポアに接続されており、前記入口側から前記出口側に向かって徐々に先細るテーパ形状を有するとともに、前記入口側に配置され、前記第1面に直交する仮想線に対して、前記導入孔のテーパ形状の傾斜角度よりも大きい傾斜角度のテーパ形状を有する端部を含む、分析素子。
発明の詳細な説明
【技術分野】
【0001】
この発明は、分析素子の製造方法および分析素子に関し、特に、電解液および分析対象をポアに通過させて分析対象を分析するための分析素子の製造方法および分析素子に関する。
続きを表示(約 2,600 文字)
【背景技術】
【0002】
従来、分析対象をポア(細孔)に通過させて分析対象を分析するための分析素子が知られている(たとえば、特許文献1参照)。
【0003】
上記特許文献1には、生体分子試料(分析対象)をナノポア(ポア)に通過させて生体分子試料を分析するためのチップ(分析素子)が開示されている。チップは、生体分子試料が通過するナノポアと、ナノポアに接続されて入口側から出口側に向かって徐々に先細るテーパ形状を有する導入孔とを含んでいる。分析対象を分析する際には、導入孔から電解質溶液および生体分子試料がナノポアに導入され、ナノポアを通過する。電解質溶液には一対の電極により電圧が印加されており、生体分子試料がナノポアを通過する際の電流がモニタされている。生体分子試料がナノポアを通過する際の電流の変化に基づいて、生体分子試料が分析される。
【先行技術文献】
【特許文献】
【0004】
特開2022-12168号公報
【発明の概要】
【発明が解決しようとする課題】
【0005】
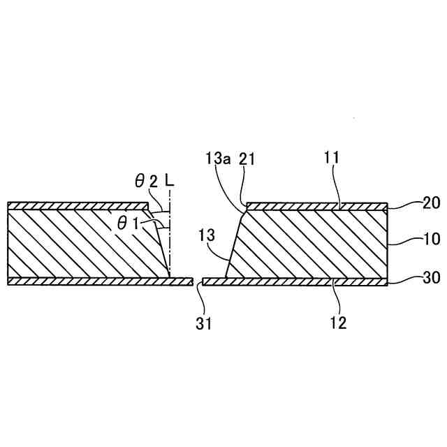
ここで、上記特許文献1に記載されるようなチップでは、電解液(電解質溶液)および分析対象(生体分子試料)をポア(ナノポア)に導入する導入孔がウェットエッチングにより形成される場合がある。この場合、ウェットエッチングにおいてサイドエッチングが発生する場合があるが、サイドエッチングが発生した場合、導入孔の入口側の端部に電解液の導入孔への流入を阻害する突出部が形成される場合がある。図34は、突出部414が形成された従来の分析素子400を示している。分析素子400は、基板410と、基板410の第1面411上に形成されたマスク層420と、基板410の第1面411とは反対の第2面412上に形成され、ポア431を有するメンブレン層430とを備えている。また、基板410は、電解液および分析対象をポア431に導入する導入孔413を含んでいる。導入孔413は、入口側から出口側に向かって徐々に先細るテーパ形状を有している。導入孔413の入口側の端部413aには、導入孔413の外側から内側に向かって張り出した、マスク層420に覆われている突出部414が形成されている。この場合、導入孔413の入口側の端部413aに形成された突出部414に起因して、電解液の導入孔413への流入が阻害されるため、電解液および分析対象がポア431に導入されにくくなる。このため、分析対象の分析を適切に行うことができない場合があるという問題点がある。
【0006】
この発明は、上記のような課題を解決するためになされたものであり、この発明の1つの目的は、分析対象の分析を適切に行うことができなくなることを回避することが可能な分析素子の製造方法および分析素子を提供することである。
【課題を解決するための手段】
【0007】
上記目的を達成するために、この発明の第1の局面による分析素子の製造方法は、基板の第1面上に、第1マスク層を形成する工程と、第1マスク層に入口側となる第1孔を形成することで基板を露出させる工程と、基板の第1面とは反対の第2面上に、出口側となるポアを有するメンブレン層を形成する工程と、出口側においてポアに接続され、入口側から出口側に向かって徐々に先細るテーパ形状を有する導入孔を形成するとともに、導入孔の外側から内側に向かって張り出しており、第1マスク層に覆われていない突出部を導入孔の入口側の端部に形成する工程と、突出部をウェットエッチングすることにより、突出部を除去する工程と、を備える。
【0008】
この発明の第1の局面による分析素子の製造方法では、上記のように、突出部をウェットエッチングすることにより、突出部を除去する。これにより、ウェットエッチング時のサイドエッチングの発生に起因して、導入孔の入口側の端部に、電解液の導入孔への流入を阻害する突出部が形成された場合にも、形成された突出部を除去することができる。その結果、導入孔の入口側の端部に形成された突出部に起因して、電解液の導入孔への流入が阻害されることを回避することができる。これにより、電解液の導入孔への流入が阻害されることに起因して、電解液および分析対象がポアに導入されにくくなることを回避することができる。その結果、分析対象の分析を適切に行うことができなくなることを回避することができる。
【0009】
上記第1の局面による分析素子の製造方法において、好ましくは、第1孔の内周の近傍の基板の部分を覆うように配置され、第1孔よりも小さい第2孔を有する内側マスク部と、第1マスク層を覆う外側マスク部とを含む第2マスク層を形成する工程と、第2孔によって露出した基板の部分をウェットエッチングすることにより、導入孔を形成するとともに、内側マスク部で覆われた基板の部分が残ることによって、内側マスク部で覆われた突出部を形成する工程と、導入孔および突出部を形成した後、第2マスク層を除去することによって、突出部の第1面側の面を露出させる工程と、を含む。このように構成すれば、第2マスク層の内側マスク部に覆われているが、第1マスク層に覆われていない突出部が形成された後、第2マスク層が除去されることによって突出部の第1面側の面が露出されるので、突出部を容易に除去することができる。
【0010】
上記第1の局面による分析素子の製造方法において、好ましくは、第1孔によって露出した基板の部分をウェットエッチングすることにより、導入孔を形成するとともに、第1マスク層で覆われた基板の部分が残ることによって、第1マスク層で覆われた突出部を形成する工程と、導入孔および突出部を形成した後、突出部の上の第1マスク層を除去することによって、突出部の第1面側の面を露出させる工程と、を含む。このように構成すれば、第1マスク層に覆われている突出部が形成された後、第1マスク層が除去されることによって突出部の第1面側の面が露出されるので、突出部を容易に除去することができる。
(【0011】以降は省略されています)
この特許をJ-PlatPat(特許庁公式サイト)で参照する
関連特許
住友精密工業株式会社
慣性計測装置
10日前
住友精密工業株式会社
速度検出装置
11日前
住友精密工業株式会社
分析素子の製造方法および分析素子
10日前
住友精密工業株式会社
熱交換器の製造方法およびアルミニウム部品の製造方法
10日前
個人
メジャー文具
13日前
個人
高精度同時多点測定装置
5日前
個人
アクセサリー型テスター
6日前
日本精機株式会社
位置検出装置
19日前
日本精機株式会社
位置検出装置
19日前
ユニパルス株式会社
ロードセル
12日前
日本精機株式会社
位置検出装置
19日前
大和製衡株式会社
組合せ秤
24日前
大和製衡株式会社
組合せ秤
24日前
アズビル株式会社
圧力センサ
18日前
株式会社東芝
センサ
24日前
株式会社ヨコオ
ソケット
11日前
株式会社東芝
センサ
24日前
ダイキン工業株式会社
監視装置
10日前
トヨタ自動車株式会社
監視装置
11日前
株式会社ユーシン
操作検出装置
21日前
株式会社ヨコオ
ソケット
12日前
トヨタ自動車株式会社
検査装置
21日前
エイブリック株式会社
磁気センサ回路
18日前
株式会社チノー
放射光測温装置
12日前
株式会社東芝
重量測定装置
17日前
ローム株式会社
半導体装置
4日前
ローム株式会社
半導体装置
4日前
東レエンジニアリング株式会社
計量装置
21日前
TDK株式会社
ガスセンサ
18日前
長崎県
形状計測方法
6日前
TDK株式会社
ガスセンサ
12日前
TDK株式会社
ガスセンサ
17日前
TDK株式会社
磁気センサ
11日前
三恵技研工業株式会社
融雪レドーム
11日前
株式会社デンソー
電流センサ
4日前
株式会社熊谷組
RI計測装置
19日前
続きを見る
他の特許を見る