TOP
|
特許
|
意匠
|
商標
特許ウォッチ
Twitter
他の特許を見る
10個以上の画像は省略されています。
公開番号
2025150427
公報種別
公開特許公報(A)
公開日
2025-10-09
出願番号
2024051290
出願日
2024-03-27
発明の名称
速度検出装置
出願人
住友精密工業株式会社
代理人
個人
,
個人
主分類
G01P
3/489 20060101AFI20251002BHJP(測定;試験)
要約
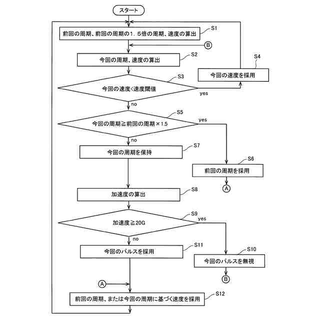
【課題】パルスの欠落や過剰な入力に起因して、算出される速度が急激に変化することを抑制可能な速度検出装置を提供する。
【解決手段】この姿勢角検出装置100は、被検出物1の速度に応じて発信されるパルスの周期に基づいて被検出物1の速度を算出する制御部30を備える。制御部30は、今回のパルスの周期が、前回のパルスの周期の1より大きい所定の倍率以上である場合、パルスが欠落していると判定し、前回のパルスの周期に基づいて、被検出物1の速度を算出し、前回のパルスの周期と今回のパルスの周期とに基づく加速度が、所定の加速度閾値以上である場合、パルスが過剰に入力されていると判定し、今回のパルスを無視する。
【選択図】図9
特許請求の範囲
【請求項1】
被検出物の速度に応じて発信されるパルスの周期に基づいて前記被検出物の速度を算出する制御部を備え、
前記制御部は、
今回のパルスの周期が、前回のパルスの周期の1より大きい所定の倍率以上である場合、パルスが欠落していると判定し、前回のパルスの周期に基づいて、前記被検出物の速度を算出し、
前回のパルスの周期と今回のパルスの周期とに基づく加速度が、所定の加速度閾値以上である場合、パルスが過剰に入力されていると判定し、今回のパルスを無視する、速度検出装置。
続きを表示(約 820 文字)
【請求項2】
被検出物の速度に応じて発信されるパルスの周期に基づいて前記被検出物の速度を算出する制御部を備え、
前記制御部は、
今回のパルスの周期が、前回のパルスの周期の1より大きい所定の倍率以上である場合、パルスが欠落していると判定し、前回のパルスの周期に基づいて、前記被検出物の速度を算出し、
前回のパルスの周期に基づく前回の速度から所定の加速度閾値以上の加速となるパルスの周期を算出し、今回のパルスの周期が算出された前記パルスの周期よりも短い場合、パルスが過剰に入力されていると判定し、今回のパルスを無視する、速度検出装置。
【請求項3】
前記制御部は、パルスが過剰に入力されていると判定した場合、
前回のパルスから次回のパルスまでのパルスの周期を取得し、
取得した前記パルスの周期と前回のパルスの周期とに基づいて、パルスの欠落およびパルスの過剰を判定する、請求項1または2に記載の速度検出装置。
【請求項4】
前記所定の倍率は、1.5倍である、請求項1または2に記載の速度検出装置。
【請求項5】
前記所定の加速度閾値は、20Gである、請求項1または2に記載の速度検出装置。
【請求項6】
前記制御部は、前記被検出物の速度が所定の速度閾値未満である場合、パルスが欠落しているか否か、および、パルスが過剰に入力しているか否かの判定を行わない、請求項1または2に記載の速度検出装置。
【請求項7】
前記所定の速度閾値は、今回発信されたパルスの周期に基づいて算出された前記被検出物の速度が45km/hに対応する、請求項6に記載の速度検出装置。
【請求項8】
前記パルスは、前記速度検出装置の外部のセンサから発信され、前記速度検出装置に入力される、請求項1または2に記載の速度検出装置。
発明の詳細な説明
【技術分野】
【0001】
この発明は、速度検出装置に関し、特に、被検出物の速度に応じて発信されるパルスの周期に基づいて被検出物の速度を算出する制御部を備える速度検出装置に関する。
続きを表示(約 2,100 文字)
【背景技術】
【0002】
従来、被検出物の速度に応じて発信されるパルスの周期に基づいて被検出物の速度を算出する制御部を備える速度検出装置が知られている(たとえば、特許文献1参照)。
【0003】
上記特許文献1には、モータの回転を検知するベアリングセンサと、ベアリングセンサから送信されるパルスに基づいて、モータの回転数(回転速度)を演算する演算部と、を備える回転速度検出装置が開示されている。この回転速度検出装置では、ベアリングセンサから送信されるパルスの間隔(周期)に基づいて、モータの回転数(回転速度)が演算されている。具体的には、パルスの間隔(周期)の逆数に定数が乗算されることにより、モータの回転数(回転速度)が演算されている。
【先行技術文献】
【特許文献】
【0004】
特開2006-234514号公報
【発明の概要】
【発明が解決しようとする課題】
【0005】
しかしながら、上記特許文献1のように、パルスの間隔(周期)の逆数に定数を乗算してモータの回転数(回転速度)を演算する場合、パルスの欠落やノイズなどが混入することにより、パルスの間隔(周期)の逆数が大きく変化してしまう。このため、演算される回転速度が急激に変動してしまうという問題点がある。
【0006】
この発明は、上記のような課題を解決するためになされたものであり、この発明の1つの目的は、パルスの欠落や過剰な入力に起因して、算出される速度が急激に変化することを抑制可能な速度検出装置を提供することである。
【課題を解決するための手段】
【0007】
上記目的を達成するために、この発明の第1の局面による速度検出装置は、被検出物の速度に応じて発信されるパルスの周期に基づいて被検出物の速度を算出する制御部を備え、制御部は、今回のパルスの周期が、前回のパルスの周期の1より大きい所定の倍率以上である場合、パルスが欠落していると判定し、前回のパルスの周期に基づいて、被検出物の速度を算出し、前回のパルスの周期と今回のパルスの周期とに基づく加速度が、所定の加速度閾値以上である場合、パルスが過剰に入力されていると判定し、今回のパルスを無視する。
【0008】
この発明の第1の局面による速度検出装置では、上記のように、制御部は、今回のパルスの周期が、前回のパルスの周期の1より大きい所定の倍率以上である場合、パルスが欠落していると判定し、前回のパルスの周期に基づいて、被検出物の速度を算出する。これにより、パルスが欠落していると判定された場合、過度に長いパルスの周期が速度の算出に採用されないため、パルスの欠落に起因して被検出物が急激に減速したこととなる速度を採用することを抑制できる。また、制御部は、前回のパルスの周期と今回のパルスの周期とに基づく加速度が、所定の加速度閾値以上である場合、パルスが過剰に入力していると判定し、今回のパルスを無視する。これにより、過度に短いパルスの周期が速度の算出に採用されないので、パルスの過剰な入力に起因して被検出物が急激に加速したこととなる速度を採用することを抑制できる。このように、パルスの欠落や過剰な入力に起因して、算出される速度が急激に変化することを抑制できる。
【0009】
この発明の第2の局面による速度検出装置は、被検出物の速度に応じて発信されるパルスの周期に基づいて被検出物の速度を算出する制御部を備え、制御部は、今回のパルスの周期が、前回のパルスの周期の1より大きい所定の倍率以上である場合、パルスが欠落していると判定し、前回のパルスの周期に基づいて、被検出物の速度を算出し、前回のパルスの周期に基づく前回の速度から所定の加速度閾値以上の加速となるパルスの周期を算出し、今回のパルスの周期が算出されたパルスの周期よりも短い場合、パルスが過剰に入力されていると判定し、今回のパルスを無視する。
【0010】
この発明の第2の局面による速度検出装置では、上記のように、制御部は、今回のパルスの周期が、前回のパルスの周期の1より大きい所定の倍率以上である場合、パルスが欠落していると判定し、前回のパルスの周期に基づいて、被検出物の速度を算出する。これにより、パルスが欠落していると判定された場合、過度に長いパルスの周期が速度の算出に採用されないため、パルスの欠落に起因して被検出物が急激に減速したこととなる速度を採用することを抑制できる。また、制御部は、前回のパルスの周期に基づく前回の速度から所定の加速度閾値以上の加速となるパルスの周期を算出し、今回のパルスの周期が算出されたパルスの周期よりも短い場合、パルスが過剰に入力されていると判定し、今回のパルスを無視する。これにより、過度に短いパルスの周期が速度の算出に採用されないので、パルスの過剰な入力に起因して被検出物が急激に加速したこととなる速度を採用することを抑制できる。このように、パルスの欠落や過剰な入力に起因して、算出される速度が急激に変化することを抑制できる。
(【0011】以降は省略されています)
この特許をJ-PlatPat(特許庁公式サイト)で参照する
関連特許
住友精密工業株式会社
慣性計測装置
5日前
住友精密工業株式会社
速度検出装置
6日前
住友精密工業株式会社
内接ギヤポンプ
6日前
住友精密工業株式会社
内接ギヤポンプ
6日前
住友精密工業株式会社
分析素子の製造方法および分析素子
5日前
住友精密工業株式会社
航空機用油圧システム及び航空機用内接ギヤポンプ
9か月前
住友精密工業株式会社
熱交換器の製造方法およびアルミニウム部品の製造方法
5日前
個人
メジャー文具
8日前
個人
アクセサリー型テスター
1日前
個人
高精度同時多点測定装置
今日
日本精機株式会社
位置検出装置
14日前
ユニパルス株式会社
ロードセル
7日前
日本精機株式会社
位置検出装置
14日前
日本精機株式会社
位置検出装置
14日前
アズビル株式会社
圧力センサ
13日前
株式会社ヨコオ
ソケット
6日前
トヨタ自動車株式会社
監視装置
6日前
株式会社ヨコオ
ソケット
7日前
トヨタ自動車株式会社
検査装置
16日前
ダイキン工業株式会社
監視装置
5日前
エイブリック株式会社
磁気センサ回路
13日前
株式会社チノー
放射光測温装置
7日前
TDK株式会社
ガスセンサ
13日前
TDK株式会社
磁気センサ
6日前
株式会社東芝
重量測定装置
12日前
TDK株式会社
ガスセンサ
7日前
TDK株式会社
ガスセンサ
12日前
長崎県
形状計測方法
1日前
日本特殊陶業株式会社
センサ
5日前
日本特殊陶業株式会社
センサ
5日前
富士電機株式会社
エンコーダ
13日前
日本特殊陶業株式会社
センサ
5日前
日本特殊陶業株式会社
センサ
5日前
日本特殊陶業株式会社
センサ
5日前
三恵技研工業株式会社
融雪レドーム
6日前
TDK株式会社
電磁波センサ
7日前
続きを見る
他の特許を見る