TOP
|
特許
|
意匠
|
商標
特許ウォッチ
Twitter
他の特許を見る
10個以上の画像は省略されています。
公開番号
2025152220
公報種別
公開特許公報(A)
公開日
2025-10-09
出願番号
2024054012
出願日
2024-03-28
発明の名称
プログラムおよびサーバ
出願人
ブラザー工業株式会社
代理人
弁理士法人コスモス国際特許商標事務所
主分類
G06Q
50/10 20120101AFI20251002BHJP(計算;計数)
要約
【課題】ラベルデータの利用を図るシステムにおいて、複数のユーザを纏めて管理できる技術を提案すること。
【解決手段】ラベル管理サーバ3のWebアプリ36は、ラベルプリンタ2Bを識別するシリアル番号が関連付けられたグループを作成可能である。Webアプリ36は、ラベル管理サーバ3に登録されているユーザアカウントのうち、グループに関連付けられたシリアル番号と同じシリアル番号が含まれるユーザアカウントを、そのグループのメンバーとする。
【選択図】図1
特許請求の範囲
【請求項1】
サーバによって実行可能なプログラムであって、前記サーバは、ラベルデータベースと、ユーザデータベースと、にアクセス可能であり、前記ラベルデータベースには、複数のラベルデータを登録可能であり、前記ラベルデータは、ラベルプリンタで印刷可能なデータであり、前記ユーザデータベースには、複数のユーザ情報を登録可能であり、前記ユーザ情報は、ログインに必要なユーザアカウントに関連付けられた情報であり、前記ユーザ情報には、ラベルプリンタを識別するプリンタ情報を含めることが可能であり、
前記サーバのコンピュータに、
情報処理装置から、前記ラベルデータベースに登録されている前記ラベルデータの1つが指定された状態でダウンロード要求を受け付けた場合に、指定された前記ラベルデータを前記情報処理装置に送信する送信処理を実行させ、
前記サーバの前記コンピュータにさらに、
前記プリンタ情報が関連付けられたグループであって、前記ユーザ情報に含まれる前記プリンタ情報が共通する前記ユーザアカウントをメンバーとすることが可能な、前記グループを作成する作成処理を実行させる、
ように構成されるプログラム。
続きを表示(約 2,900 文字)
【請求項2】
請求項1に記載するプログラムにおいて、
前記サーバの前記コンピュータに、
前記ユーザアカウントごとに、前記サーバを介して利用可能な特典を付与させることが可能であり、
前記サーバの前記コンピュータにさらに、
前記作成処理にて作成された前記グループのメンバーが有する前記特典を、前記グループのメンバーで共有させる、
ように構成されるプログラム。
【請求項3】
請求項2に記載するプログラムにおいて、
前記特典は、ラベルデータに利用可能なコンテンツの取得に用いることが可能なポイントであり、
前記ユーザ情報には、対応するユーザアカウントのユーザが獲得した前記ポイントを含めることが可能であり、
前記グループには、前記ポイントを関連付けることが可能であり、
前記サーバの前記コンピュータに、
ログインユーザが前記ポイントの獲得条件を満たした場合、前記ログインユーザのユーザアカウントをメンバーに含むグループである特定グループがあれば、前記ログインユーザが獲得した前記ポイントを、前記特定グループに関連付けられる前記ポイントに加算し、前記ログインユーザのユーザアカウントに関連付けられた前記ユーザ情報に含まれる前記ポイントは加算せず、前記特定グループがなければ、前記ログインユーザが獲得した前記ポイントを、前記ログインユーザのユーザアカウントに関連付けられた前記ユーザ情報に含まれる前記ポイントは加算する、ポイント加算処理を実行させる、
ように構成されるプログラム。
【請求項4】
請求項1に記載するプログラムにおいて、
前記サーバの前記コンピュータに、
前記情報処理装置から、ログインユーザの前記プリンタ情報を取得した場合に、
前記ユーザデータベースに登録されているログインユーザの前記ユーザ情報に、取得された前記プリンタ情報を含めて保存する保存処理を実行させ、
取得された前記プリンタ情報が関連付けられたグループである第1グループがある場合に、前記第1グループに参加するか否かをログインユーザに選択させる参加確認処理を実行させ、
前記参加確認処理にて前記第1グループに参加する選択があった場合に、前記第1グループのメンバーに、ログインユーザを追加する第1追加処理を実行させることが可能であり、前記参加確認処理にて前記第1グループに参加しない選択があった場合に、前記第1追加処理を実行させない、
ように構成されるプログラム。
【請求項5】
請求項4に記載するプログラムにおいて、
前記グループには、前記グループのメンバーの一人がオーナーとして設定され、
前記サーバの前記コンピュータに、
前記参加確認処理にて前記第1グループに参加する選択があった場合、ログインユーザを前記第1グループに追加するか否かを前記第1グループのオーナーに選択させるオーナー承認処理を実行させ、
前記オーナー承認処理にて前記第1グループに追加する選択があった場合に、前記第1追加処理を実行させ、前記オーナー承認処理にて前記第1グループに追加しない選択があった場合に、前記第1追加処理を実行させない、
ように構成されるプログラム。
【請求項6】
請求項4に記載するプログラムにおいて、
前記サーバの前記コンピュータに、
前記情報処理装置から、ログインユーザの前記プリンタ情報を取得した場合に、
前記第1グループがあり、かつ前記第1グループのメンバーにログインユーザが含まれない場合に、前記参加確認処理を実行させ、前記参加確認処理にて前記第1グループに参加する選択があった場合に、前記第1追加処理を実行させることが可能であり、
前記第1グループがない場合、あるいは前記第1グループのメンバーにログインユーザが含まれる場合に、前記参加確認処理および前記第1追加処理を実行させない、
ように構成されるプログラム。
【請求項7】
請求項4に記載するプログラムにおいて、
前記サーバの前記コンピュータに、
ユーザアカウントごとに、前記サーバを介して利用可能な特典を付与させることが可能であり、
前記サーバの前記コンピュータにさらに、
前記第1追加処理が実行された場合、ログインユーザが有する前記特典を、前記第1グループのメンバーで共有させる、
ように構成されるプログラム。
【請求項8】
請求項7に記載するプログラムにおいて、
前記特典は、ラベルデータに利用可能なコンテンツの取得に用いることが可能なポイントであり、
前記ユーザ情報には、対応するユーザアカウントのユーザが獲得した前記ポイントを含めることが可能であり、
前記グループには、前記ポイントを関連付けることが可能であり、
前記サーバの前記コンピュータに、
前記第1追加処理が実行された場合、ログインユーザのユーザアカウントに関連付けられた前記ユーザ情報に含まれる前記ポイントを、前記第1グループに関連付けられる前記ポイントに合算し、前記ユーザ情報に含まれる前記ポイントを初期化するポイント移行処理を実行させる、
ように構成されるプログラム。
【請求項9】
請求項4に記載するプログラムにおいて、
前記サーバの前記コンピュータに、
前記情報処理装置から、ログインユーザの前記プリンタ情報を取得した場合に、
前記第1グループがない場合に、新たなグループを作成するか否かをログインユーザに選択させる作成確認処理を実行させ、
前記作成確認処理にて新たなグループを作成する選択があった場合に、取得された前記プリンタ情報が関連付けられた第2グループを作成する前記作成処理を実行させ、前記作成確認処理にて新たなグループを作成しない選択があった場合に、前記作成処理を実行させない、
ように構成されるプログラム。
【請求項10】
請求項9に記載するプログラムにおいて、
前記サーバの前記コンピュータに、
前記情報処理装置から、ログインユーザの前記プリンタ情報を取得した場合に、
前記第1グループがなく、かつログインユーザが参加している他のグループがない場合に、前記作成確認処理を実行させ、前記作成確認処理にて新たなグループを作成する選択があった場合に、前記作成処理を実行させ、
前記第1グループがある場合、あるいはログインユーザが参加している他のグループがある場合に、前記作成確認処理および前記作成処理を実行させない、
ように構成されるプログラム。
(【請求項11】以降は省略されています)
発明の詳細な説明
【技術分野】
【0001】
本明細書に開示される技術分野は、ラベルデータの利用を図るシステムに用いられるプログラムおよびサーバに関する。
続きを表示(約 2,200 文字)
【背景技術】
【0002】
従来、コンテンツデータの利用を図るシステムとして、コンテンツデータを保存するサーバをインターネット上に用意し、ユーザのデバイスからコンテンツデータが投稿、すなわちそのサーバにアップロードされ、そのコンテンツデータが別のユーザのデバイスにダウンロードされるシステムが知られている。
【0003】
上述したようなシステムを開示した文献としては、例えば特許文献1がある。特許文献1に開示されるポイント管理システムでは、ユーザAのPCから写真データがWWWサーバにアップロードされ、ユーザBのPCによってその写真データが購入されてWWWサーバからダウンロードされると、購入者であるユーザBに購入額に応じたポイントが加算され、さらに投稿者であるユーザAにも、写真データのアップロード時あるいは写真データのダウンロード時に、写真データのデータサイズに応じたポイントが加算される。
【先行技術文献】
【特許文献】
【0004】
特開2002-99746号公報
【発明の概要】
【発明が解決しようとする課題】
【0005】
近年、コンテンツデータとして、ラベルプリンタでのラベルの印刷に用いられるラベルデータの、利用を図るシステムがある。このようなシステムでは、ユーザ個々にシステムを利用するためのアカウントを作成し、アカウントごとに、例えばシステムで利用可能な特典が管理される。一方で、例えば家族のような1つのプリンタを複数のユーザで利用する場合もあり、個々のユーザを管理しつつも、複数のユーザがシステムを利用する場合にはその複数のユーザを纏めて管理することも望まれる。
【課題を解決するための手段】
【0006】
上述した課題の解決を目的としてなされたプログラムは、サーバによって実行可能なプログラムであって、前記サーバは、ラベルデータベースと、ユーザデータベースと、にアクセス可能であり、前記ラベルデータベースには、複数のラベルデータを登録可能であり、前記ラベルデータは、ラベルプリンタで印刷可能なデータであり、前記ユーザデータベースには、複数のユーザ情報を登録可能であり、前記ユーザ情報は、ログインに必要なユーザアカウントに関連付けられた情報であり、前記ユーザ情報には、ラベルプリンタを識別するプリンタ情報を含めることが可能であり、前記サーバのコンピュータに、情報処理装置から、前記ラベルデータベースに登録されている前記ラベルデータの1つが指定された状態でダウンロード要求を受け付けた場合に、指定された前記ラベルデータを前記情報処理装置に送信する送信処理を実行させ、前記サーバの前記コンピュータにさらに、前記プリンタ情報が関連付けられたグループであって、前記ユーザ情報に含まれる前記プリンタ情報が共通する前記ユーザアカウントをメンバーとすることが可能な、前記グループを作成する作成処理を実行させる、ように構成されている。
【0007】
上記構成を有するサーバのプログラムは、ラベルプリンタを識別するプリンタ情報が関連付けられたグループを作成可能である。プログラムは、サーバに登録されているユーザアカウントのうち、グループに関連付けられたプリンタ情報と同じプリンタ情報が含まれるユーザアカウントを、そのグループのメンバーとすることができる。これにより、プログラムは、同じプリンタを利用する複数のユーザ単位でグループを管理することが可能になり、その結果として、例えばアカウントごとに付与される特典をグループで扱うことや、グループ単位で適切な提案を行うことが期待できる。
【0008】
上記プログラムの機能を実現するためのサーバ、システム、制御方法、および、当該コンピュータプログラムを格納するコンピュータにて読取可能な記憶媒体も、新規で有用である。
【発明の効果】
【0009】
本明細書に開示される技術によれば、ラベルデータの利用を図るシステムにおいて、複数のユーザを纏めて管理できる技術が実現される。
【図面の簡単な説明】
【0010】
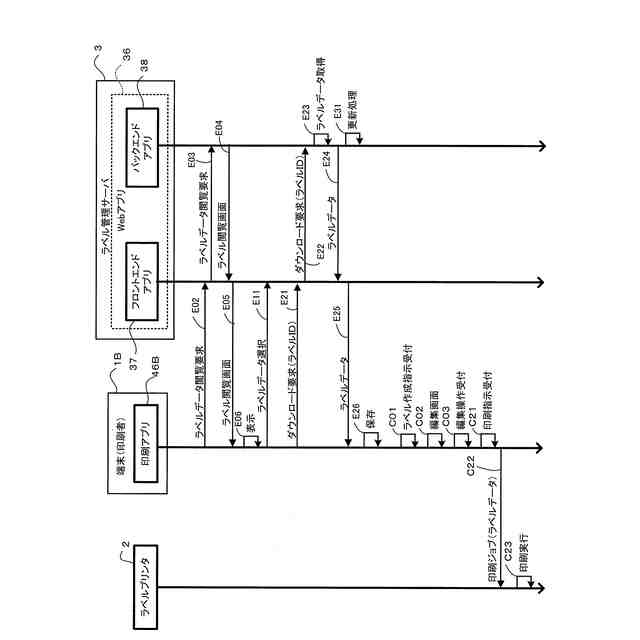
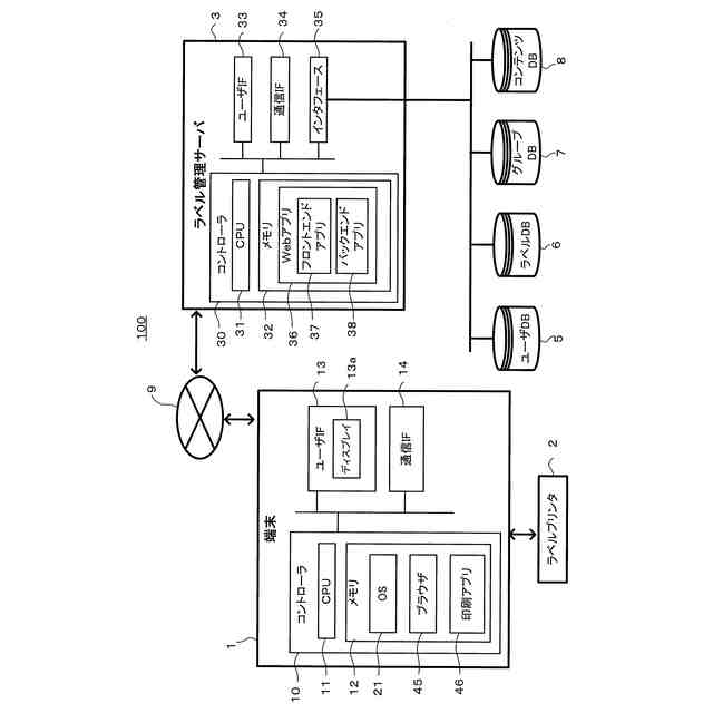
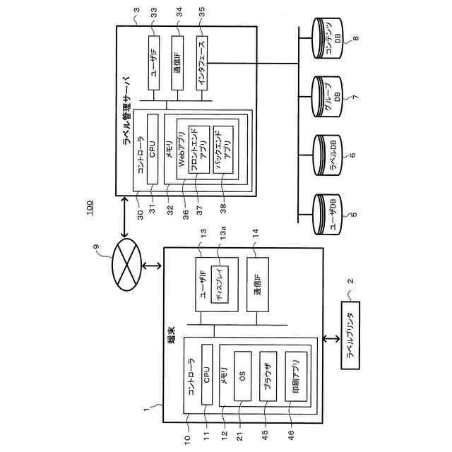
第1実施形態のラベルデータ共有システムを概略的に示す説明図である。
ユーザデータベースの一例を説明する図である。
ラベルデータベースの一例を説明する図である。
グループデータベースの一例を説明する図である。
プリンタ情報保存処理の一例を示すシーケンス図である。
投稿処理の一例を示すシーケンス図である。
有償コンテンツ購入処理の一例を示すシーケンス図である。
ダウンロード印刷処理の手順の一例を示すシーケンス図である。
グループ作成制御処理の一例を示すシーケンスである。
グループ作成処理の一例を示すシーケンス図である。
画面遷移の一例を説明する図である。
別ユーザ確認処理の一例を説明するシーケンス図である。
グループ参加処理の一例を示すシーケンス図である。
画面遷移の一例を説明する図である。
グループ手動作成処理の一例を示すシーケンス図である。
グループ手動招待処理の一例を示すシーケンス図である。
【発明を実施するための形態】
(【0011】以降は省略されています)
この特許をJ-PlatPat(特許庁公式サイト)で参照する
関連特許
ブラザー工業株式会社
ボビン
4日前
ブラザー工業株式会社
ミシン
2日前
ブラザー工業株式会社
ミシン
2日前
ブラザー工業株式会社
空調機
3日前
ブラザー工業株式会社
固定具
4日前
ブラザー工業株式会社
ホルダ
2日前
ブラザー工業株式会社
結紮装置
3日前
ブラザー工業株式会社
塗工装置
2日前
ブラザー工業株式会社
塗布装置
2日前
ブラザー工業株式会社
回収装置
2日前
ブラザー工業株式会社
塗工装置
2日前
ブラザー工業株式会社
塗工装置
2日前
ブラザー工業株式会社
印刷装置
4日前
ブラザー工業株式会社
印刷媒体
2日前
ブラザー工業株式会社
印刷媒体
2日前
ブラザー工業株式会社
印刷媒体
2日前
ブラザー工業株式会社
制御装置
3日前
ブラザー工業株式会社
制御装置
3日前
ブラザー工業株式会社
縫製装置
4日前
ブラザー工業株式会社
結紮装置
3日前
ブラザー工業株式会社
糸巻回装置
4日前
ブラザー工業株式会社
糸巻回装置
4日前
ブラザー工業株式会社
画像形成装置
4日前
ブラザー工業株式会社
静電塗工装置
2日前
ブラザー工業株式会社
画像読取装置
3日前
ブラザー工業株式会社
画像形成装置
4日前
ブラザー工業株式会社
画像形成装置
3日前
ブラザー工業株式会社
画像形成装置
2日前
ブラザー工業株式会社
画像形成装置
3日前
ブラザー工業株式会社
画像形成装置
2日前
ブラザー工業株式会社
画像形成装置
2日前
ブラザー工業株式会社
画像形成装置
4日前
ブラザー工業株式会社
画像形成装置
4日前
ブラザー工業株式会社
画像形成装置
4日前
ブラザー工業株式会社
画像形成装置
2日前
ブラザー工業株式会社
画像形成装置
2日前
続きを見る
他の特許を見る