TOP
|
特許
|
意匠
|
商標
特許ウォッチ
Twitter
他の特許を見る
公開番号
2025151431
公報種別
公開特許公報(A)
公開日
2025-10-09
出願番号
2024052858
出願日
2024-03-28
発明の名称
電動工具
出願人
マクセルイズミ株式会社
代理人
弁理士法人綿貫国際特許・商標事務所
主分類
B25F
5/00 20060101AFI20251002BHJP(手工具;可搬型動力工具;手工具用の柄;作業場設備;マニプレータ)
要約
【課題】ゴムまたはエラストマ製のオイルタンクを用いつつ、タンク容量を小さくしても動作信頼性に優れた電動工具を提供することを目的とする。
【解決手段】電動工具1は、ゴムまたはエラストマ製のオイルタンク7と、シリンダ4と、シリンダ4に作動油9bを送液する油圧ポンプ8aと、油圧ポンプ8aを駆動する電動モータ8bとを有する本体2と、シリンダ4の油圧力によって作動する工具ヘッド3を備える。そして、油圧ポンプ8aに作動油9bの吸入部5が設けられており、吸入部5に形成した吸入口5aの周囲にオイルタンク7が配されており、オイルタンク7の内側に凸部11が形成されている。オイルタンク7の凸部11は、シリンダ4に作動油9bを送液するときに吸入口5aに近づく位置に形成されている。
【選択図】図1
特許請求の範囲
【請求項1】
ゴムまたはエラストマ製のオイルタンクと、シリンダと、前記シリンダに作動油を送液する油圧ポンプと、前記油圧ポンプを駆動する電動モータとを有する本体と、前記シリンダの油圧力によって作動する工具ヘッドを備え、前記油圧ポンプに前記作動油の吸入部が設けられ前記吸入部における吸入口の周囲に前記オイルタンクが配される構成であり、前記オイルタンクの内側に凸部が形成されており、前記凸部は、前記シリンダに前記作動油を送液するときに前記吸入口に近づく位置に形成されていること
を特徴とする電動工具。
続きを表示(約 1,000 文字)
【請求項2】
前記オイルタンクは、前記凸部の幅が前記吸入口の内径の0.5倍以下であり、前記凸部の長さが前記吸入口の内径の2倍以上であり、前記作動油で満たされたときに前記シリンダの軸線と同じ方向になるように前記凸部が形成されていること
を特徴とする請求項1に記載の電動工具。
【請求項3】
ゴムまたはエラストマ製のオイルタンクと、シリンダと、前記シリンダに作動油を送液する油圧ポンプと、前記油圧ポンプを駆動する電動モータとを有する本体と、前記シリンダの油圧力によって作動する工具ヘッドを備え、前記油圧ポンプに前記作動油の吸入部が設けられ前記吸入部における吸入口の周囲に前記オイルタンクが配される構成であり、前記吸入部に段差が形成されており、前記吸入口は、前記段差に亘って形成されていること
を特徴とする電動工具。
【請求項4】
前記段差は、前記オイルタンクの肉厚の1倍以上であり、前記吸入口を前記シリンダの軸線に向かって通る中心線と交差しつつ、前記吸入部を周回するように形成されていること
を特徴とする請求項3に記載の電動工具。
【請求項5】
ゴムまたはエラストマ製のオイルタンクと、シリンダと、前記シリンダに作動油を送液する油圧ポンプと、前記油圧ポンプを駆動する電動モータとを有する本体と、前記シリンダの油圧力によって作動する工具ヘッドを備え、前記油圧ポンプに前記作動油の吸入部が設けられ前記吸入部における吸入口の周囲に前記オイルタンクが配される構成であり、前記吸入部に溝形状の油路が形成されており、前記油路は、前記吸入口に繋がって形成されていること
を特徴とする電動工具。
【請求項6】
前記油路は、前記シリンダの軸線と同じ方向にて前記吸入口と前記吸入部の後端とに亘って形成されていること
を特徴とする請求項5に記載の電動工具。
【請求項7】
前記油路は、前記吸入口を前記シリンダの軸線に向かって通る中心線から外れた位置で前記油圧ポンプの周方向にて前記吸入口のひとつと前記吸入口の他のひとつとに亘って形成されていること
を特徴とする請求項5に記載の電動工具。
【請求項8】
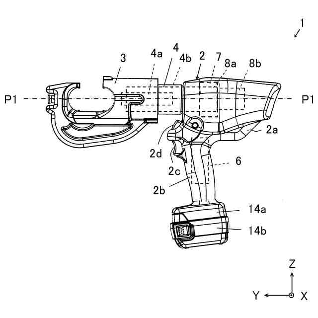
前記本体は、前記電動モータを起動する起動スイッチが配されたハンドル部と、前記電動モータに電力を供給するバッテリパックと、前記バッテリパックを脱着可能に取付ける取付部を有すること
を特徴とする請求項1~7のいずれか一項に記載の電動工具。
発明の詳細な説明
【技術分野】
【0001】
本発明は、油圧式の電動工具に関する。
続きを表示(約 1,600 文字)
【背景技術】
【0002】
従来、油圧式の電動工具が提案されている(特許文献1:特開2001-018018号公報、特許文献2:特開2022-181248号公報)。
【先行技術文献】
【特許文献】
【0003】
特開2001-018018号公報
特開2022-181248号公報
【発明の概要】
【発明が解決しようとする課題】
【0004】
ゴムまたはエラストマ製のオイルタンクは、軽量かつ密閉性に優れている。しかし、例えば、連続使用や周囲温度上昇の影響等で作動油が高温になった場合や、経年動作に伴って作動油が漏出しオイルタンク内の作動油が減少した場合において、オイルタンクの挙動が変化して作動油の吸入口を塞いでしまい、作動油の吸入不足に伴うピストン動作の減速や作動油の吸入停止に伴う作動不良に至ることがある。また、電動工具の小型化を図るためにタンク容量を極力小さくしたいが、タンク容量を小さくすると吸入口へのオイルタンク内壁の張り付きが生じるリスクが高くなるという課題がある。
【課題を解決するための手段】
【0005】
本発明は、上記事情に鑑みてなされ、ゴムまたはエラストマ製のオイルタンクを用いつつ、タンク容量を小さくしても動作信頼性に優れた電動工具を提供することを目的とする。
【0006】
本発明は、一実施形態として、以下に開示する解決策により、前記課題を解決する。
【0007】
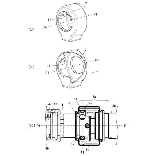
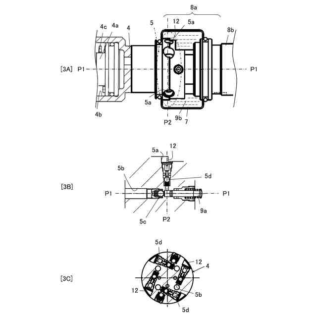
本発明に係る電動工具は、ゴムまたはエラストマ製のオイルタンクと、シリンダと、前記シリンダに作動油を送液する油圧ポンプと、前記油圧ポンプを駆動する電動モータとを有する本体と、前記シリンダの油圧力によって作動する工具ヘッドを備え、前記油圧ポンプに前記作動油の吸入部が設けられ前記吸入部における吸入口の周囲に前記オイルタンクが配される構成であり、前記オイルタンクの内側に凸部が形成されており、前記凸部は、前記シリンダに前記作動油を送液するときに前記吸入口に近づく位置に形成されていることを特徴とする。
【0008】
この構成によれば、タンク容量を小さくしたオイルタンクが吸入部の吸入口に近接したとしても凸部が吸入口に最初に接することで、吸入口とオイルタンクとに隙間が確保できるので吸入部への油路が確保できる。よって、動作信頼性の高い小型の電動工具にできる。
【0009】
一例として、前記オイルタンクは、前記凸部の幅が前記吸入口の内径の0.5倍以下である。この構成によれば、油路を確保しつつオイルタンクの変形量を確保できる。一例として、前記オイルタンクは、前記凸部の長さが前記吸入口の内径の2倍以上である。この構成によれば、オイルタンクの変形量が大きくなったとしても吸入口を塞がずに油路を確保できる。一例として、前記オイルタンクは、前記作動油が満たされたときに前記シリンダの軸線と同じ方向になる位置に前記凸部が形成されている。この構成によれば、シリンダに作動油を送液するときに吸入口にオイルタンクが最初に近づく位置に凸部が配される。尚且つ、型抜き方向に凸部を形成できるので、金型によるオイルタンクの成形が容易にできる。
【0010】
本発明に係る電動工具は、ゴムまたはエラストマ製のオイルタンクと、シリンダと、前記シリンダに作動油を送液する油圧ポンプと、前記油圧ポンプを駆動する電動モータとを有する本体と、前記シリンダの油圧力によって作動する工具ヘッドを備え、前記油圧ポンプに前記作動油の吸入部が設けられ前記吸入部における吸入口の周囲に前記オイルタンクが配される構成であり、前記吸入部に段差が形成されており、前記吸入口は、前記段差に亘って形成されていることを特徴とする。
(【0011】以降は省略されています)
この特許をJ-PlatPat(特許庁公式サイト)で参照する
関連特許
個人
固定補助具
1か月前
個人
折りたたみ工具
1か月前
川崎重工業株式会社
ロボット
11日前
株式会社三協システム
製函機
1か月前
株式会社不二越
ロボット
10日前
株式会社竹中工務店
補助セット
10日前
CKD株式会社
把持装置
1か月前
株式会社三協システム
移載装置
1か月前
株式会社不二越
ロボット操作装置
1か月前
株式会社不二越
ロボットシステム
1か月前
川崎重工業株式会社
ハンド
2日前
太陽パーツ株式会社
アシストスーツ
1か月前
日本精工株式会社
締結用工具
1か月前
株式会社ミクロブ
把持装置
1か月前
SMC株式会社
着脱装置
1か月前
トヨタ自動車株式会社
ロボット
5日前
株式会社不二越
移動ロボットシステム
13日前
ARMA株式会社
ジョイントフレーム
1か月前
工機ホールディングス株式会社
作業機
2日前
川崎重工業株式会社
塗装システム
2日前
株式会社不二越
エッジ仕上げ装置
23日前
本田技研工業株式会社
装置
16日前
株式会社不二越
ロボットシステム
1か月前
株式会社不二越
ロボットシステム
1か月前
トヨタ自動車株式会社
歩行ロボット
1か月前
トヨタ自動車株式会社
軌道生成装置
5日前
株式会社不二越
垂直多関節ロボット
24日前
シンフォニアテクノロジー株式会社
搬送装置
13日前
アネックスツール株式会社
ドライバービット
9日前
ライオン株式会社
移載システム
25日前
大和ハウス工業株式会社
ねじ回転工具
1か月前
工機ホールディングス株式会社
作業機
2日前
ダイハツ工業株式会社
移載治具
1か月前
株式会社マキタ
回転打撃工具
5日前
川崎重工業株式会社
ワーク搬送ロボット
2日前
ワールド技研株式会社
ロボットセル装置
10日前
続きを見る
他の特許を見る