TOP
|
特許
|
意匠
|
商標
特許ウォッチ
Twitter
他の特許を見る
10個以上の画像は省略されています。
公開番号
2025150371
公報種別
公開特許公報(A)
公開日
2025-10-09
出願番号
2024051212
出願日
2024-03-27
発明の名称
筆記具
出願人
三菱鉛筆株式会社
代理人
個人
主分類
B43K
8/14 20060101AFI20251002BHJP(筆記用または製図用の器具;机上付属具)
要約
【課題】通常の筆記具と同様の筆記動作で粗大粒子を含む高粘度のインクを継続して安定的に吐出することができる筆記具を提供する。
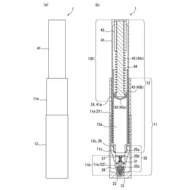
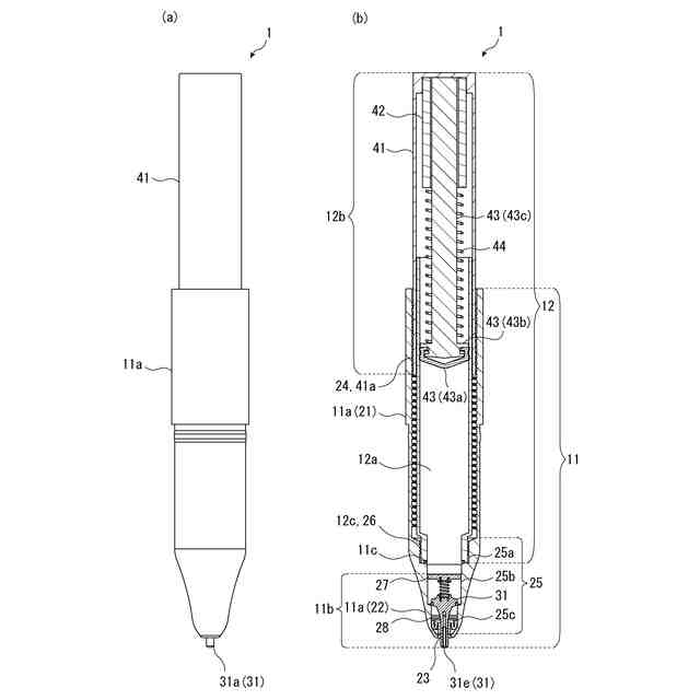
【解決手段】本発明にかかる筆記具1は、軸筒11aと、この軸筒11aの内部に収容されるとともに軸筒11aの先端開口から先端部を突出するペン先部11bとを有し、前記先端部からインクを吐出する吐出機構部11を備える。さらに、この筆記具1は、吐出機構部11に取り付けられたインク収容管12aと、このインク収容管12aに収容されたインクを一定の力で加圧する圧縮部12bとを有する加圧機構部12を備える。そして、ペン先部11bは、インク流路を開閉する弁として機能し、筆記動作における筆圧によって軸筒11aの中心軸に対して傾くことにより開弁状態となり、開弁によりインク流路に流れ込んだインクを前記先端部から吐出する。
【選択図】図2
特許請求の範囲
【請求項1】
軸筒、および当該軸筒の内部に収容されるとともに当該軸筒の先端開口から先端部を突出するペン先部、を有し、前記先端部からインクを吐出する吐出機構部と、
前記吐出機構部に取り付けられたインク収容管、および当該インク収容管に収容されたインクを一定の力で加圧する圧縮部、を有する加圧機構部と、
を備え、
前記ペン先部は、インク流路を開閉する弁として機能し、筆記動作における筆圧によって前記軸筒の中心軸に対して傾くことにより開弁状態となり、開弁によりインク流路に流れ込んだインクを前記先端部から吐出する、
ことを特徴とする筆記具。
続きを表示(約 530 文字)
【請求項2】
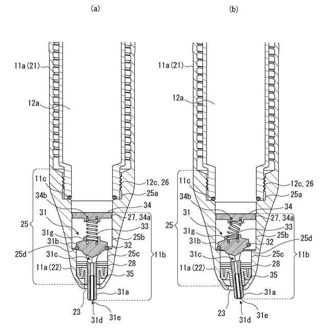
前記ペン先部は、内部にインク流路を形成する筒状で長細な細管部と、インク流路を開閉するために前記細管部の一端側に円盤状に設けられた弁部と、を有する弁体を備え、
開弁した場合に、前記細管部の他端側である前記先端部に形成されたインク流出孔から、前記圧縮部により一定の力で加圧されたインクを吐出する、
ことを特徴とする請求項1に記載の筆記具。
【請求項3】
前記ペン先部は、筆圧により傾いた前記ペン先部を元の位置に戻すための復元力を有する弾性体を備え、筆記動作を終了すると前記弾性体の復元力により閉弁状態となり、閉弁によりインクの吐出を停止する、
ことを特徴とする請求項2に記載の筆記具。
【請求項4】
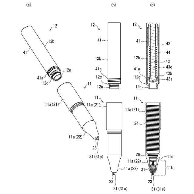
前記軸筒は、円筒部と当該円筒部の一端からテーパー状に先細りする縮径部とを有する形状とし、
円筒形状の前記圧縮部の外周面に形成された雄螺子と前記円筒部の内壁に形成された雌螺子とを螺合によりつなぎ合わせ、さらなる螺入により、前記圧縮部を前記軸筒の内部にさらにねじ込むことにより、前記インク収容管に収容されたインクを一定の力で加圧する、
ことを特徴とする請求項1に記載の筆記具。
発明の詳細な説明
【技術分野】
【0001】
本発明は、粗大粒子を含む高粘度のインクによる筆記を可能とする筆記具に関する。
続きを表示(約 1,600 文字)
【背景技術】
【0002】
従来から、ザラザラした文字を指でなぞって発音することで文字を体得する教具として、砂文字板と呼ばれる教具が市販されている。しかしながら、このような教具は、触読性は高いものの、高価であり、また、選択可能な文字数(ひらがな、カタカナ、アルファベットなど)が少ないため、漢字等の文字学習に向いていない。
【0003】
また、文字数を増やすために、たとえば、糊状のインクに粒子(ラメ)が含まれたペンや、インクが乾くと描線が膨らむ(描線が所定の厚みをもって固まる)ペンなどを利用して手作りの文字板を作成し、文字学習用の教具として使用することも行われている。しかしながら、このような教具は、安価でかつ文字を自由に増やすことができるものの、砂文字板と比較すると触読性に劣る。
【0004】
たとえば、文字学習の教具に求められる性能としては、触読性に優れ、安価でかつ細かい描線(漢字など)を自由に表現できることが重要である。特に、優れた触読性を得るために、粗大粒子を含む高粘度のインクにより描線を表現可能な筆記具が求められている。
【0005】
下記特許文献1~5には、高粘度インクにより描線を表現可能な筆記具の一例として、各種のインク吐出機構が開示されている。
【0006】
たとえば、特許文献1には、ボールペンのチップに関し、不使用時には硬質ボールが内面シール体の棒体の先端に当接し、スプリングの弾発力により内面シール体がインク導出孔を完全に密閉し、高粘度インクの流通を防止するバルブ構造が記載されている。さらに、この特許文献1には、硬質ボールに筆圧が加わると、スプリングの弾発力に抗して内面シール体とともにボールが後退し、内面シールが解除されて高粘度インクが流出し、これにより筆記が可能になることについて記載されている。
【0007】
また、特許文献2には、描画ペンの構造に関し、ペン軸に形成されたリザーバからペン先に至るインク流路を開閉するバルブがペン先に内蔵されていることが記載されている。さらに、この特許文献2には、ペン先から突出するように付勢されたニードル状操作子が付勢力に抗してペン先内部に後退したときにバルブが開き、筆圧が負荷されてニードル操作子が後退したときに、ニードル操作子とペン先の内周面との隙間に高粘度インクの流路が形成されることが記載されている。
【0008】
また、特許文献3には、高粘度液剤の塗布器のバルブ構造に関し、塗布器の先端に塗布孔が形成され、コイルばねの付勢力により円錐状の弁体部の先端が塗布孔より外方に突出していることが記載されている。さらに、この特許文献3には、被塗物の表面に弁体部の先端を押し付け、弁体部をコイルばねの付勢に抗して内奥側に押し込むことにより、弁体部と塗布器の先端内面との間に隙間が形成され、その隙間から高粘度液剤(高粘度インク)が外部へ流出することが記載されている。
【0009】
また、特許文献4には、先端開口部に止着された円筒状の固定部と、この固定部内に摺動可能に嵌挿され、バネの付勢力により固定部より露出していた先端部が筆記面への筆圧により固定部の先端と同一レベルまで後退した際に弁機構が開放され、高粘度インクが固定部との隙間より導出する可動ペンと、を備えるペイントマーカーが記載されている。
【0010】
また、特許文献5には、押し出しチューブ式筆記具に関し、バネの付勢力により自動的にチューブ内の高粘度インクが押し出される構造を有し、ペン先の内面下端とボールがバルブを構成し、被筆記体にボールを押し付けることにより高粘度インクが抽出されることが記載されている。
【先行技術文献】
【特許文献】
(【0011】以降は省略されています)
この特許をJ-PlatPat(特許庁公式サイト)で参照する
関連特許
個人
両利き筆記具
19日前
個人
ペンスタンド
11か月前
ぺんてる株式会社
塗布具
6か月前
三菱鉛筆株式会社
筆記具
4日前
三菱鉛筆株式会社
塗布具
4日前
ぺんてる株式会社
筆記具
2か月前
ぺんてる株式会社
塗布具
6か月前
個人
ツールホルダー
4か月前
個人
筆記具
1か月前
コクヨ株式会社
転写具
5か月前
コクヨ株式会社
転写具
5か月前
コクヨ株式会社
転写具
5か月前
個人
板発条スケールコンパス。
17日前
個人
開封具
7か月前
三菱鉛筆株式会社
筆記具
9日前
株式会社東山
ペン
2か月前
ぺんてる株式会社
消しゴム組成物
11か月前
株式会社3S
塗布具
6か月前
個人
携帯用消しゴムとその保持形態
11か月前
ぺんてる株式会社
ボールペンチップ
5か月前
ぺんてる株式会社
ボールペンチップ
1か月前
個人
電子黒板システム
10か月前
ぺんてる株式会社
ボールペンリフィル
5か月前
三菱鉛筆株式会社
筆記具
7か月前
株式会社サクラクレパス
塗布具
5か月前
株式会社サクラクレパス
塗布具
1か月前
三菱鉛筆株式会社
筆記具
1か月前
有限会社コスモ
挟着具
17日前
株式会社ウッドロード
ボールペン本体
8か月前
三菱鉛筆株式会社
筆記具
4か月前
三菱鉛筆株式会社
筆記具
5か月前
株式会社サクラクレパス
出没式筆記具
11か月前
三菱鉛筆株式会社
筆記具
5か月前
個人
学習用定規及びプリント切断方法
5か月前
株式会社パイロットコーポレーション
筆記具
3か月前
株式会社パイロットコーポレーション
筆記具
6か月前
続きを見る
他の特許を見る