TOP
|
特許
|
意匠
|
商標
特許ウォッチ
Twitter
他の特許を見る
公開番号
2025150356
公報種別
公開特許公報(A)
公開日
2025-10-09
出願番号
2024051193
出願日
2024-03-27
発明の名称
壁吸い込みフィルタユニットのパンチングフェースおよび戸袋の構造
出願人
三機工業株式会社
代理人
個人
,
個人
主分類
E06B
7/02 20060101AFI20251002BHJP(戸,窓,シャッタまたはローラブラインド一般;はしご)
要約
【課題】戸袋内などの狭い空間を有効に利用して空気取り入れ口にできる壁吸い込みフィルタユニットのパンチングフェースおよび戸袋の構造を提供する。
【解決手段】フィルタユニット11が設けられる控え壁12と、その控え壁12の前方16~24mmの位置を覆う引き戸13との間戸袋20に配置されるパンチングフェース14。パンチングフェース14は、矩形状の正面パネル23と、正面パネル23の上端、下端および左右の側縁から立ち上がる高さ7~11mmの枠部24とからなり、正面パネル23に多数のパンチング孔23aが形成され、枠部24に、長手方向に延びる開口22が形成されている。パンチングフェース14を吸い込みフィルタユニット11に用いた戸袋の構造10。
【選択図】図1
特許請求の範囲
【請求項1】
フィルタユニットが設けられる壁と、その壁の前方16~24mmの位置を覆う板体との間の狭い空間に配置され、前記壁に取り付けられるパンチングフェースであって、
矩形状の正面パネルと、
正面パネルの上端、下端および左右の側縁からそれぞれ立ち上がる高さ7~11mmの枠部とからなり、
正面パネルに多数のパンチング孔が形成され、
枠部に、枠部で囲まれる空間と外部とを連通し、枠部の長手方向に延びる複数の開口が形成されている、パンチングフェース。
続きを表示(約 590 文字)
【請求項2】
前記狭い空間が戸袋であり、
前記板体が戸袋に収納される引き戸であり、
前記壁が戸袋の控え壁であり、
収納されたときの引き戸と正面パネルとの隙間が8~12mmである、
請求項1記載のパンチングフェース。
【請求項3】
前記開口の総面積Sと、前記引き戸と正面パネルの隙間面積(隙間d×対応外周長さY)の比率K(S/d×Y)が、0.6~0.9の範囲にある、
請求項2記載のパンチングフェース。
【請求項4】
前記開口を有する枠部の一つが戸袋内と外部とを仕切る仕切り壁と当接しており、その仕切り壁の当接部位が外部と連通している、
請求項2記載のパンチングフェース。
【請求項5】
フィルタユニットが設けられる控え壁と、
控え壁の前方16~24mmの位置を開閉自在に覆う引き戸と、
控え壁に取り付けられるパンチングフェースとからなり、
パンチングフェースが、矩形状の正面パネルと、正面パネルの上端、下端および左右の側縁からそれぞれ立ち上がる高さ7~11mmの枠部とからなり、
正面パネルに多数のパンチング孔が形成され、
枠部に、枠部で囲まれる空間と外部とを連通し、枠部の長手方向に延びる複数の開口が形成されている、
戸袋の構造。
発明の詳細な説明
【技術分野】
【0001】
この発明は、壁吸い込みフィルタユニットのパンチングフェースおよびそれを用いた戸袋の構造に関する。
続きを表示(約 2,000 文字)
【背景技術】
【0002】
クリーンルームなどでは、室内の空気を天井と床面あるいは対向する側壁に、吹き出し口と吸込み口を設け、空気をHEPAフィルタなどのフィルタユニットである程度清浄化したうえで、室内に取り込んだり、外部に放出したりする(特許文献1参照)。このようなフィルタユニットでは、吹き出し口の内側にフィルタボックスを設け、フィルタエレメントを押し込んだ上で、パンチングフェースで覆って固定する。
【0003】
パンチングフェースは、建具の一部であり、自重を支えたり形状を維持したりするため、立体的な形態にして剛性を付与することが多い。他方、特許文献2の空気清浄機のように、本体ケースに吸込み口を設け、吸い込み口の内側にフィルタを配置することもある。ところで吸い込み口を室内や廊下などの壁面に設ける場合、人や物の行き来などの妨げにならないよう、できるだけ突出しない、薄いパンチングフェースが求められる。
【0004】
特許文献3および特許文献4では、戸袋(引き戸収納部)内の空間を空気の通路として利用して、省スペースを実現する技術を提案している。特許文献3の換気システムは、部屋と廊下の間仕切り壁に多数の縦スリットからなる通気口を形成し、引き戸で出入り口を閉じているときでも室内の空気を換気できる。そして引き戸や控え壁に吸音材を貼り付けて、通気音を抑制している。特許文献4は、戸袋の表面パネルに開閉自在のルーバ付きの通風口を設け、さらに表面パネルを着脱自在とした間仕切り構成を提案している。
【先行技術文献】
【特許文献】
【0005】
特開昭63-46327号公報
特開2001-324181号公報
特開平10-318581号公報
実開昭49-106107号公報
【発明の概要】
【発明が解決しようとする課題】
【0006】
特許文献1のクリーンルームでは、パンチングフェースを床などに広く敷き詰めるが、このような構造を廊下と室内の仕切り壁などの吸い込み口に適用することは経済的でない。特許文献2の空気清浄機の本体ケースの一部をパンチングフェースとして利用したり、特許文献3、4のように戸袋内の控え壁に適用したりすることも考えられる。しかし戸袋内は引き戸が出入りするなど、スペース的に制約が大きい。
【0007】
本発明は、戸袋内などの狭い空間を有効に利用して空気取り入れ口を構成できるシンプルな構成の壁吸い込みフィルタユニットのパンチングフェースおよび戸袋の構造を提供することを課題としている。
【課題を解決するための手段】
【0008】
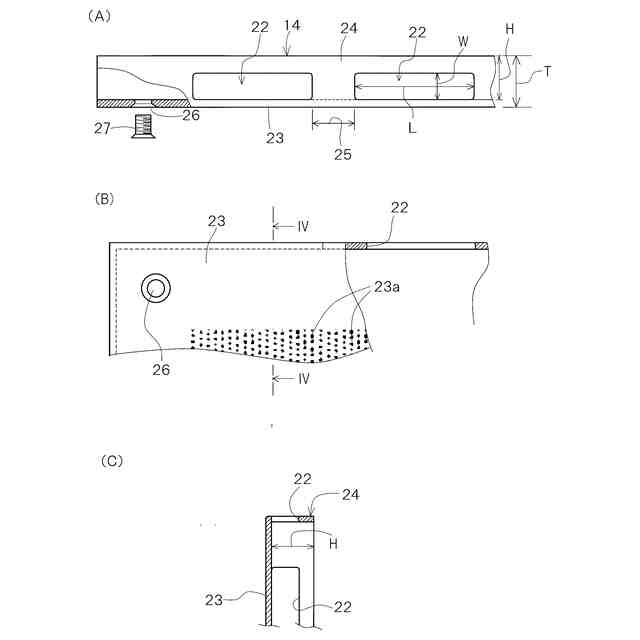
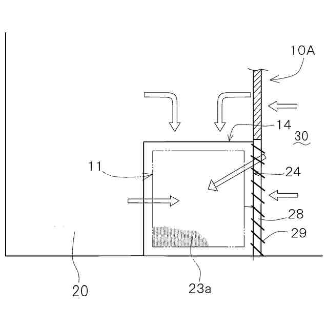
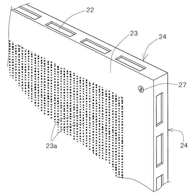
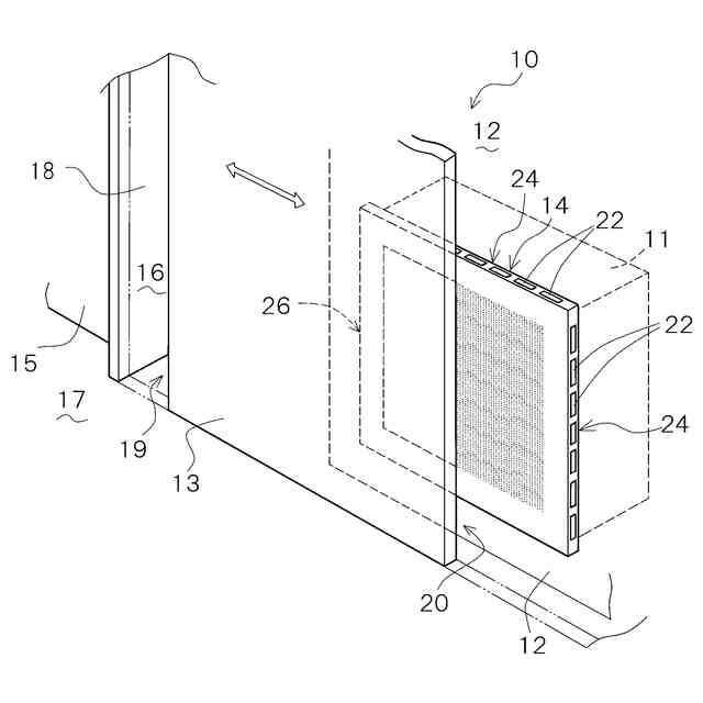
本発明のパンチングフェース14は、フィルタユニット11が設けられる壁(控え壁12)と、その壁(12)の前方16~24mmの位置を覆う板体(引き戸13)との間の狭い空間(戸袋20)に配置され、前記壁(12)に取り付けられるパンチングフェース14であって、矩形状の正面パネル23と、正面パネル23の上端、下端および左右の側縁からそれぞれ立ち上がる高さ7~11mmの枠部24とからなり、正面パネル23に多数のパンチング孔23aが形成され、枠部24に、枠部24で囲まれる空間と外部とを連通し、枠部24の長手方向に延びる複数の開口22が形成されていることを特徴としている。
【0009】
このようなパンチングフェース14は、前記狭い空間が戸袋20であり、前記板体が戸袋20に収納される引き戸13であり、前記壁が戸袋20の控え壁12であり、収納されたときの引き戸13と正面パネル23との隙間dが8~12mmであるものが好ましい。また、前記開口22の総面積Sと、前記引き戸13と正面パネル23の隙間面積(隙間d×対応外周長さY)との比率K(S/d×Y)が、0.6~0.9の範囲にあるものが一層好ましい。また、前記開口22を有する枠部24の一つが戸袋20内と外部30を仕切る仕切り壁28と当接しており、その仕切り壁28の当接部位が外部30と連通しているものが好ましい。
【0010】
本発明の戸袋の構造10、10Aは、フィルタユニット11が設けられる控え壁12と、控え壁12の前方16~24mmの位置を開閉自在に覆う引き戸13と、控え壁12に取り付けられるパンチングフェース14とからなり、パンチングフェース14が、矩形状の正面パネル23と、正面パネル23の上端、下端および左右の側縁からそれぞれ立ち上がる高さ7~11mmの枠部24とからなり、正面パネル23に多数のパンチング孔23aが形成され、枠部24に、枠部24で囲まれる空間と外部とを連通し、枠部24の長手方向に延びる複数の開口22が形成されていることを特徴としている。
【発明の効果】
(【0011】以降は省略されています)
この特許をJ-PlatPat(特許庁公式サイト)で参照する
関連特許
三機工業株式会社
下水汚泥焼却灰の肥料化方法
1か月前
三機工業株式会社
壁吸い込みフィルタユニットのパンチングフェースおよび戸袋の構造
2か月前
三機工業株式会社
セメント構造体内へのスリーブ埋設施工方法及びセメント構造体の製造方法
1か月前
三機工業株式会社
高天井倉庫への空調システムの設置方法
1か月前
株式会社ニチベイ
遮蔽装置
1か月前
三協立山株式会社
開口部建材
1か月前
三協立山株式会社
開口部装置
2か月前
三協立山株式会社
開口部建材
1か月前
豊田合成株式会社
調光装置
1か月前
文化シヤッター株式会社
引戸装置
1か月前
不二サッシ株式会社
引違いサッシ
2か月前
文化シヤッター株式会社
止水装置
2か月前
豊田合成株式会社
調光装置
1か月前
株式会社LIXIL
太陽電池ガラス
2か月前
株式会社ニチベイ
ロールスクリーン
3日前
株式会社LIXIL
建具
2か月前
有限会社高橋土木
梯子固定装置
18日前
株式会社LIXIL
建具
2か月前
株式会社LIXIL
建具
2か月前
株式会社LIXIL
建具
2か月前
株式会社LIXIL
建具
1か月前
株式会社LIXIL
建具
2か月前
倉敷紡績株式会社
外構ユニット
2か月前
株式会社LIXIL
建具
2か月前
株式会社LIXIL
建具
2か月前
株式会社LIXIL
建具
2か月前
株式会社LIXIL
建具
2か月前
株式会社LIXIL
建具
2か月前
文化シヤッター株式会社
シャッター構造
10日前
株式会社ニチベイ
縦型ブラインド
1か月前
株式会社ニチベイ
ロールスクリーン
2か月前
株式会社ニチベイ
ブラインド用カバー装置
1か月前
三和シヤッター工業株式会社
制御システム
2か月前
清水建設株式会社
化粧カバー
2か月前
三和シヤッター工業株式会社
フック棒
2か月前
株式会社セブンホーム
ベネチアン・ステンドグラス
1か月前
続きを見る
他の特許を見る