TOP
|
特許
|
意匠
|
商標
特許ウォッチ
Twitter
他の特許を見る
10個以上の画像は省略されています。
公開番号
2025149695
公報種別
公開特許公報(A)
公開日
2025-10-08
出願番号
2024050499
出願日
2024-03-26
発明の名称
フック棒
出願人
三和シヤッター工業株式会社
代理人
個人
,
個人
主分類
E06B
9/78 20060101AFI20251001BHJP(戸,窓,シャッタまたはローラブラインド一般;はしご)
要約
【課題】
フック棒使用時におけるフック棒の操作性が良いように、フック棒の持ち方をサポートする。
【解決手段】
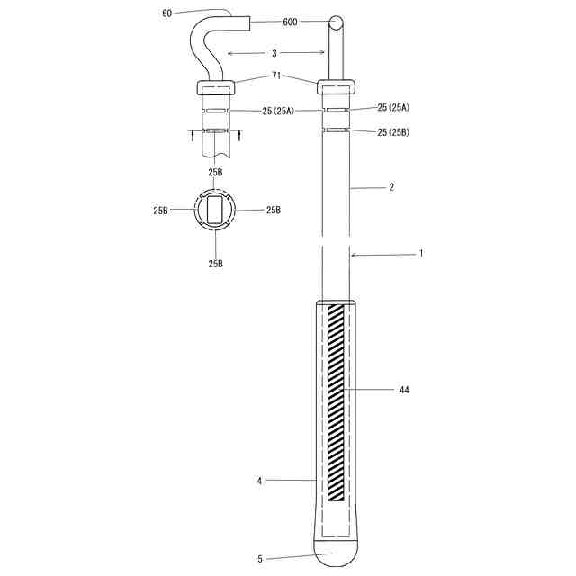
先端にフック部3が形成され、基端にグリップ部4が形成された棒状部(本体パイプ2)を備え、フック部3は、棒状部(本体パイプ2)の長さ方向に略直角に延びる掛止部60を備え、グリップ部4は、視認可能な親指置き部44を備えており、親指置き部44は、当該親指置き部44を上側に向けた時に、掛止部60の先端600が上に向くような位置に形成されている。
【選択図】図12
特許請求の範囲
【請求項1】
先端にフック部が形成され、基端にグリップ部が形成された棒状部を備え、
前記フック部は、前記棒状部の長さ方向に略直角に延びる掛止部を備え、
前記グリップ部は、視認可能な親指置き部を備えており、
前記親指置き部は、当該親指置き部を上側に向けた時に、前記掛止部の先端が上に向くような位置に形成されている、
フック棒。
続きを表示(約 89 文字)
【請求項2】
前記親指置き部は、前記グリップ部の外面に形成され、当該グリップ部の長さ方向に延びるフラット部ないし凹部である、
請求項1に記載のフック棒。
発明の詳細な説明
【技術分野】
【0001】
本発明は、建物開口部を開閉する開閉体(典型的には、シャッターカーテン)を手動操作するためのフック棒に関するものである。
続きを表示(約 1,600 文字)
【背景技術】
【0002】
手動式シャッター装置において、全開姿勢にあるシャッターカーテンを引き降ろして降下させる際に、先端にフック部を備え、基端にグリップ部を備えたフック棒を用いる場合がある(特許文献1)。
【0003】
特許文献1に開示された従来のフック棒と類似のフック棒1´を図15に示す。フック棒1´は、本体パイプ2´の先端のフック部3´と、本体パイプ2の基端のグリップ部4´からなり、グリップ部4´は、本体パイプ2´の基端側部位に対して接着剤及びリベットRで固定されており、フック部3´は、本体パイプ2´の先端側部位をつぶし、かつ、回転止めとして1ヵ所カシメることで固定されており、また、保護ゴムGを装着してある。
【0004】
このようなフック棒1´をシャッターカーテンの下端の座板にどのように掛止するかは操作者によって異なり得る。具体的には、フック棒1´のグリップ部4´を掴んだ状態で、フック部3´の掛止部が上に向いた姿勢で操作を行う場合と、フック棒1´のグリップ部4´を掴んだ状態で、フック部3´の掛止部が下に向いた姿勢で操作を行う場合と、がある。
【0005】
ここで、フック棒1´を座板に掛止した時に、フック部3´の掛止部が下に向いていると、シャッターカーテンの閉鎖中に掛止部が座板の孔部から抜けにくくなり、閉鎖に時間を要するおそれがり、操作者にとってストレスとなる。掛止部が座板の孔部から抜けずシャッターカーテンが下降を継続すると、フック棒1´が床と衝突するおそれもある。
【0006】
一方、フック部3´が座板に係止した状態で、フック部3´の掛止部が下に向いていると、座板の孔部からフック棒1´の掛止部が抜けにくいという事実が、操作者であるエンドユーザに認識されていないという現実がある。
特許第6978374号
【発明の開示】
【発明が解決しようとする課題】
【0007】
本発明は、フック棒使用時におけるフック棒の操作性が良いように、フック棒の持ち方をサポートすることを目的とする。
【課題を解決するための手段】
【0008】
かかる課題を解決するべく本発明が採用した技術手段は、
先端にフック部が形成され、基端にグリップ部が形成された棒状部を備え、
前記フック部は、前記棒状部の長さ方向に略直角に延びる掛止部を備え、
前記グリップ部は、視認可能な親指置き部を備えており、
前記親指置き部は、当該親指置き部を上側に向けた時に、前記掛止部の先端が上に向くような位置に形成されている、
フック棒、である。
【0009】
1つの態様では、前記親指置き部は、前記グリップ部の外面に形成され、当該グリップ部の長さ方向に延びるフラット部ないし凹部である。
なお、親指を載せる部位が表示されており、操作者に視認可能であれば、親指置き部の構成は限定されない。例えば、親指置き部としては、外周面の所定部位を識別可能に表示するマークであればよく、このようなマークとして、色あるいは/および模様等で識別可能に表示するもの、表面形状(例えば、親指の腹を載せる凸部や凹部)で識別可能に表示するものが例示される。
【発明の効果】
【0010】
本発明では、グリップ部は視認可能な親指置き部を備えており、当該親指置き部を上側に向けた時に、前記掛止部の先端が上に向くような位置に形成されているので、親指置き部に親指を置くようにグリップ部を掴むと、自動的にフック部の掛止部の先端が上を向くようになり、掛止部の先端が上を向いた状態で座板に引っ掛けてシャッターカーテンを降下させることで、下降中の座板の孔部からスムーズにフック部を抜くことができ、フック棒の操作性が良好である。
【図面の簡単な説明】
(【0011】以降は省略されています)
この特許をJ-PlatPat(特許庁公式サイト)で参照する
関連特許
他の特許を見る