TOP
|
特許
|
意匠
|
商標
特許ウォッチ
Twitter
他の特許を見る
公開番号
2025159590
公報種別
公開特許公報(A)
公開日
2025-10-21
出願番号
2024062283
出願日
2024-04-08
発明の名称
セメント構造体内へのスリーブ埋設施工方法及びセメント構造体の製造方法
出願人
三機工業株式会社
代理人
個人
,
個人
主分類
E04G
15/06 20060101AFI20251014BHJP(建築物)
要約
【課題】スリーブサイズの変更が困難であり、セメント系材料の厚さがスリーブよりも厚くなるような設計の場合でも、スリーブを利用してセメント構造体に貫通口を形成しやすくする。
【解決手段】セメント系材料で構成される構造体1内に筒状のスリーブ20を埋設して、構造体1に貫通口を形成する施工方法であって、スリーブ20の開口の少なくとも一方側に養生蓋30を着脱可能に取り付け、養生蓋30付きのスリーブ20を構造体1の型枠10によって挟み込むようにして型枠10内に配置し、型枠10内にセメント系材料を流し込んだ後に固化させることにより型枠10内に構造体1を形成して、その後に型枠10を取り外す。養生蓋30を必要に応じて取り外すことで、構造体1に貫通口が形成される。
【選択図】図1
特許請求の範囲
【請求項1】
セメント系材料で構成される構造体内に、筒状のスリーブを埋設して、前記構造体に貫通口を形成する施工方法であって、
前記スリーブの開口の少なくとも一方側に養生蓋を着脱可能に取り付ける工程と、
前記養生蓋付きのスリーブを前記構造体の型枠によって挟み込むようにして前記型枠内に配置する工程と、
前記型枠内に前記セメント系材料を流し込んだ後に固化させることにより前記型枠内に前記構造体を形成する工程と、
前記型枠を取り外す工程と、を含み、
前記養生蓋を必要に応じて取り外すことで前記構造体に貫通口が形成される
施工方法。
続きを表示(約 710 文字)
【請求項2】
前記養生蓋は、前記スリーブのフランジに対してボルト及びナットを利用して取り付けられており、
前記ナットは、その最大幅よりも長さのほうが長い長ナットが用いられ、
前記ナットは、前記構造体内に埋設されている
請求項1に記載の施工方法。
【請求項3】
前記スリーブのうち前記養生蓋が取り付けられている側の開口部に、網部材を取り付ける工程をさらに含む
請求項1又は請求項2に記載の施工方法。
【請求項4】
前記スリーブのうち前記養生蓋が取り付けられている側の開口部に、ダクトを取り付ける工程をさらに含む
請求項1又は請求項2に記載の施工方法。
【請求項5】
前記スリーブの埋設位置は、軒天であって、前記スリーブによって形成された貫通口が屋内と屋外を繋ぐ通気口として機能する位置である
請求項1又は請求項2に記載の施工方法。
【請求項6】
筒状のスリーブにより貫通口が形成されたセメント系材料の構造体の製造方法であって、
前記スリーブの開口の少なくとも一方側に養生蓋を着脱可能に取り付ける工程と、
前記養生蓋付きのスリーブを前記構造体の型枠によって挟み込むようにして前記型枠内に配置する工程と、
前記型枠内に前記セメント系材料を流し込んだ後に固化させることにより前記型枠内に前記構造体を形成する工程と、
前記型枠を取り外す工程と、を含み、
前記養生蓋を必要に応じて取り外すことで前記構造体に貫通口が形成される
セメント系材料の構造体の製造方法。
発明の詳細な説明
【技術分野】
【0001】
本発明は、セメント系材料の構造体内にスリーブを埋設して貫通口を形成する施工方法に関する。また、本発明はセメント系材料の構造体の製造方法に関する。
続きを表示(約 2,300 文字)
【背景技術】
【0002】
従来から、セメント系材料によって建物などの構造体(「セメント構造体」ともいう。)を形成する際に、そのセメント構造体の壁や天井、軒天などにスリーブを埋設して貫通口を形成することが行われている。このような貫通口は、形成箇所にも依るが、ダクトを繋げて通気口として利用されたり、電気配線、水道、ガス管等を敷設するために利用される。
【0003】
セメント構造体に貫通口を形成する方法としては、従来から、当該構造体の外形に沿って組まれた型枠内にあらかじめ金属や合成樹脂製の筒状のスリーブを設置しておき、その型枠内に生のセメント系材料を流し込んで硬化させた後に型枠を取り外す方法が知られている(例えば特許文献1)。なお、貫通口の形成後、スリーブも必要に応じて取り除かされる。
【先行技術文献】
【特許文献】
【0004】
特開2016-113844号公報
【発明の概要】
【発明が解決しようとする課題】
【0005】
ところで、例えば外壁上部から屋外側に向かって張り出した軒部分の軒天(軒裏ともいう)のように、セメント系材料に対して上下方向に貫通する貫通口を形成することが必要となる場合がある。この場合、従来は、例えば軒天の下方部分に対応する型枠を組んで、その上にスリーブを設置し、そのスリーブの上には型枠を作らない状態で、スリーブの上端がセメント系材料の面から突出するように、その型枠内に生のセメント系材料を型枠内に流し込むことが行われていた。しかしながら、例えば資材調達が困難でスリーブのサイズを変更できないといったような事情から、スリーブの長さをその埋込部分のセメント系材料の厚さよりも長くできない場合には、上記の方法では施工することができないという課題があった。つまり、スリーブの長さがその埋込部分のセメント系材料の厚さよりも短い場合、スリーブの上端がセメント系材料の面から突出しないため、仮にこの状態で型枠内に生のセメント系材料を流し込むこととすると、スリーブの内部にセメント系材料が流れ込み貫通口が形成されなくなってしまう。
【0006】
また、上面側と下面側(又は正面側と背面側)に対となる型枠を組んでそれらの型枠の間にスリーブを設置する場合も同様である。すなわち、一対の型枠の間のセメント系材料の厚さがスリーブの長さよりも厚くなるように設計されている場合には、スリーブの内部に生のセメント系材料が流れ込むこととなるため、前述した軒天と同じ事情から施工が困難になる。
【0007】
このように、スリーブサイズの変更が困難であって、セメント系材料の厚さがスリーブよりも厚くなるような設計の場合には、スリーブを利用してセメント構造体に貫通口を形成することが難しいという課題があった。そこで、本発明は、このような課題を解決することを主な目的とする。
【課題を解決するための手段】
【0008】
本発明の発明者は、上記の従来技術の問題を解決する手段について鋭意検討した結果、スリーブの開口の少なくとも一方を覆うように養生蓋を取り付けた状態で、これらのスリーブと養生蓋を一対の型枠の間に設置し、その後に型枠内に生のセメント系材料を流し込んで固化させることにより、スリーブサイズの変更が困難な場合であっても、スリーブ内へのセメント系材料の流入を防止して、構造体に貫通口を形成できるようになるという知見を得た。そして、本発明者は、上記知見に基づけば従来技術の課題を解決できることに想到し、本発明を完成させた。具体的に説明すると、本発明は以下の工程を含む。
【0009】
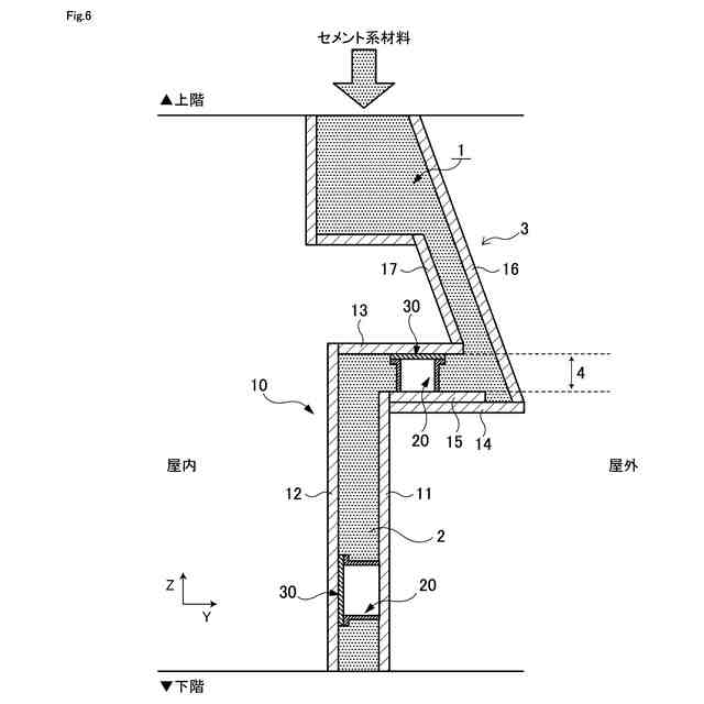
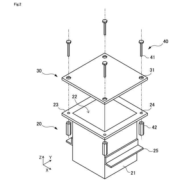
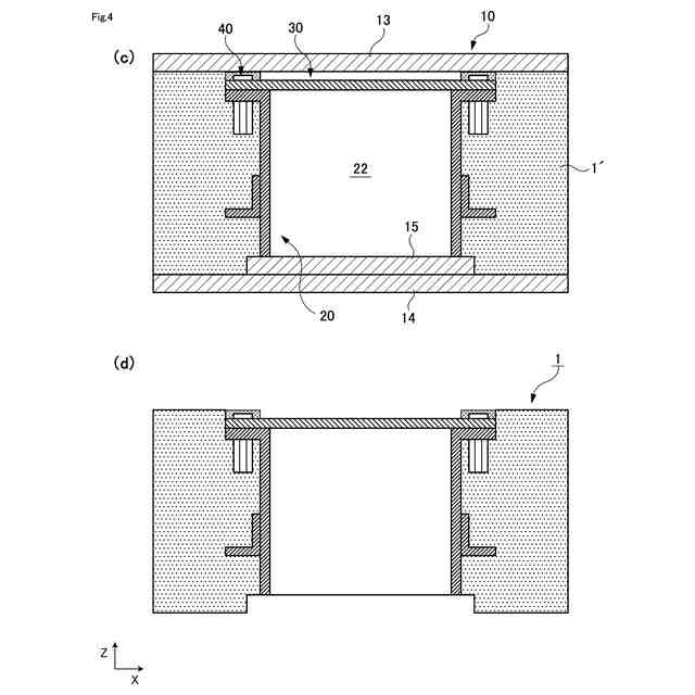
本発明の第1の側面は、セメント構造体内へのスリーブ埋設施工方法に関する。本発明に係る施工方法では、セメント系材料で構成される構造体1内に筒状のスリーブ20を埋設して、この構造体1に貫通口を形成する。なお、セメント系材料とは、例えばコンクリート、モルタル、及びセメントペーストなどのセメントを硬化材料とした硬化体である。本発明に係る施工方法では、まず、スリーブ20の開口22の少なくとも一方側に養生蓋30を着脱可能に取り付ける。また、養生蓋30付きのスリーブ20を構造体1用の型枠10によって挟み込むようにして、この型枠10内に配置する。その後、型枠10内にセメント系材料を流し込んだ後に固化させる。これにより、型枠10内にセメント系材料からなる構造体1が形成される。その後、構造体1から型枠10を取り外す。これにより、養生蓋30を必要に応じて取り外すことで構造体1に貫通口が形成される。なお、本発明において、構造体1からスリーブ20を取り除くことは基本的には想定されていない。
【0010】
上記工程のように、スリーブ20の開口22を養生蓋30で覆った状態で一対の型枠10内にスリーブ20を配置することで、スリーブ20の長さがその埋込部位におけるセメント系材料の厚さより短い場合であっても、養生蓋30によってスリーブ20内に生のセメント系材料が流れ込むことを防止できる。なお、型枠10内にスリーブ20を配置するときには、調整用の枠材をスリーブ20の開口22の一方側に配置してもよい。また、スリーブ20に養生蓋30を取り付けておくことで、例えばスリーブ20によって上下に延びる貫通口を形成する場合には、この養生蓋30が上階から下階へ物や人が落下するのを防止ための蓋としても機能する。
(【0011】以降は省略されています)
この特許をJ-PlatPat(特許庁公式サイト)で参照する
関連特許
三機工業株式会社
下水汚泥焼却灰の肥料化方法
1か月前
三機工業株式会社
壁吸い込みフィルタユニットのパンチングフェースおよび戸袋の構造
2か月前
三機工業株式会社
セメント構造体内へのスリーブ埋設施工方法及びセメント構造体の製造方法
1か月前
三機工業株式会社
高天井倉庫への空調システムの設置方法
1か月前
個人
安心補助てすり
1か月前
個人
免震建築構造
4日前
株式会社フジタ
合成床
4日前
個人
住宅の省エネ方法
今日
個人
防災建築物
1か月前
株式会社シンケン
住宅
1か月前
三協立山株式会社
構造体
1か月前
三協立山株式会社
構造体
1か月前
三洋工業株式会社
床構造
1か月前
三協立山株式会社
構造体
27日前
株式会社大林組
接合構造
1か月前
鹿島建設株式会社
解体方法
1か月前
鹿島建設株式会社
接合構造
1か月前
ミサワホーム株式会社
玄関
1か月前
ミサワホーム株式会社
住宅
1か月前
岡部株式会社
柱梁接合構造
19日前
鹿島建設株式会社
補強構造
4日前
鹿島建設株式会社
制震架構
1か月前
株式会社オカムラ
移動式什器
1か月前
株式会社タカショー
塀
1か月前
株式会社竹中工務店
建物構造
1か月前
日精株式会社
機械式駐車装置
2か月前
株式会社 シコク
手摺り装置
1か月前
株式会社タカショー
塀
1か月前
日精株式会社
機械式駐車装置
1か月前
極東開発工業株式会社
駐車装置
1か月前
個人
木造建築物の建築方法
25日前
理研軽金属工業株式会社
庇
20日前
アルインコ株式会社
作業台
1か月前
株式会社竹中工務店
跳ね出し架構
1か月前
積水ハウス株式会社
建築物
20日前
株式会社スローテック
耐火被覆体
1か月前
続きを見る
他の特許を見る