TOP
|
特許
|
意匠
|
商標
特許ウォッチ
Twitter
他の特許を見る
公開番号
2025170925
公報種別
公開特許公報(A)
公開日
2025-11-20
出願番号
2024075791
出願日
2024-05-08
発明の名称
梯子固定装置
出願人
有限会社高橋土木
代理人
個人
,
個人
主分類
E06C
7/46 20060101AFI20251113BHJP(戸,窓,シャッタまたはローラブラインド一般;はしご)
要約
【課題】梯子の転倒を確実に防止することができる安全性の高い梯子固定装置を提供する。
【解決手段】梯子固定装置1は、上面11に設けられた上面開口部11aから梯子Lを挿入可能な装置本体10と、装置本体10に挿入された梯子Lを支持する固定プレート20と、不使用時に上面開口部11aを被覆する蓋30とを備える。
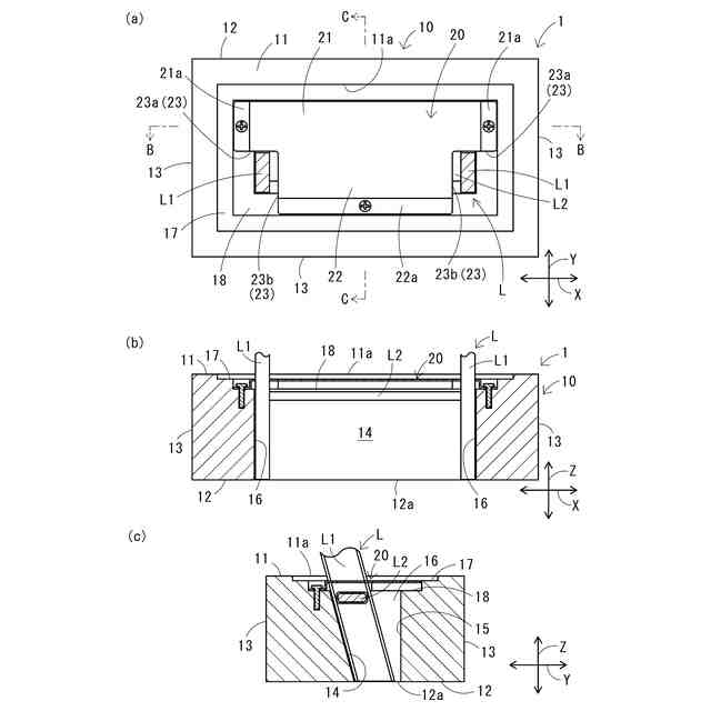
装置本体10は上面11及び底面12と、上面11及び底面12間に環状の外壁を形成する外側面13とによって装置外面を構成する。装置本体10の内面は、Z軸に対して傾斜する傾斜内面14と、傾斜内面14に対向しZ軸に対してほぼ平行に延びる対向内面15と、傾斜内面14及び対向内面15の間に延びる略鉛直の一対の側内面16,16とを備える。傾斜内面14、対向内面15及び側内面16,16によって装置本体10内に梯子Lを保持可能な空洞を形成する。底面12には底面開口部12aが形成される。
【選択図】図1
特許請求の範囲
【請求項1】
梯子を挿入可能な上面開口部を有する装置本体と、前記上面開口部に配置され前記梯子を支持する固定プレートと、を備える梯子固定装置であって、
前記装置本体は、鉛直方向に対して傾斜する傾斜内面と、前記傾斜内面に対向する対向内面と、前記傾斜内面及び前記対向内面の間に延びる一対の側内面とを備え、前記傾斜内面、前記対向内面及び前記側内面によって前記装置本体内に空洞を形成し、
前記固定プレートは、前記梯子の支柱が貫通可能な貫通部を備えることを特徴とする梯子固定装置。
続きを表示(約 210 文字)
【請求項2】
前記装置本体の底面には、前記上面開口部に連通する底面開口部を備えることを特徴とする請求項1記載の梯子固定装置。
【請求項3】
前記装置本体には、前記上面開口部よりも開口面積の小さい第1段部と、さらに前記第1段部よりも開口面積の小さい第2段部とを備え、前記第1段部に前記上面開口部を被覆する蓋を載置し、前記第2段部に前記固定プレートを載置することを特徴とする請求項1記載の梯子固定装置。
発明の詳細な説明
【技術分野】
【0001】
この発明は、特に屋根の上にのぼる際に使用する梯子の転倒を防止するための梯子固定装置に関する。
続きを表示(約 1,600 文字)
【背景技術】
【0002】
例えば、特許文献1には梯子を固定する装置として、梯子の下端に安定補強体を取り付けることが記載される。安定補強体には孔が形成され、この孔に杭や釘などを刺して梯子を地面に固定することとしている。
【先行技術文献】
【特許文献】
【0003】
特開2002-295157号公報
【発明の概要】
【発明が解決しようとする課題】
【0004】
しかしながら、地面が土の場合には杭や釘を刺すこともできるが、地面がコンクリート等の場合には刺すことができない。また、梯子を屋根に掛けた場合、梯子は下端が地面に接地し、上端近傍が屋根の軒先と接触する。屋根に上った利用者が上端に足をかけて降りようとしたとき軒先を中心に梯子が回転してしまうことがある。てこの原理で梯子の下端には非常に大きな力がかかり安定補強体の杭等が外れてしまう虞がある。
【0005】
この発明は、梯子の転倒を確実に防止することができる安全性の高い梯子固定装置を提供することを課題とする。
【課題を解決するための手段】
【0006】
この発明は、梯子を挿入可能な上面開口部を有する装置本体と、前記上面開口部に配置され前記梯子を支持する固定プレートと、を備える梯子固定装置であって、前記装置本体は、鉛直方向に対して傾斜する傾斜内面と、前記傾斜内面に対向する対向内面と、前記傾斜内面及び前記対向内面の間に延びる一対の側内面とを備え、前記傾斜内面、前記対向内面及び前記側内面によって前記装置本体内に空洞を形成し、前記固定プレートは、前記梯子の支柱が貫通可能な貫通部を備えることを特徴とする。
この発明によれば、装置本体に梯子を挿入し、固定プレートで梯子を固定することによって梯子の転倒を防止することができ、安全性の高い梯子固定装置を提供することができる。
【0007】
前記装置本体の底面には、前記上面開口部に連通する底面開口部を備えることを特徴とする。
底面開口部を備えることにより、装置本体内に水が溜まるのを防ぐことができる。
【0008】
前記装置本体には、前記上面開口部よりも開口面積の小さい第1段部と、さらに前記第1段部よりも開口面積の小さい第2段部とを備え、前記第1段部に前記上面開口部を被覆する蓋を載置し、前記第2段部に前記固定プレートを載置することを特徴とする。
不使用時には、第2段部に固定プレートを載置したまま第1段部に蓋をすることができ、コンパクトに収納することができる。
【発明の効果】
【0009】
この発明に係る梯子固定装置によれば、装置本体に梯子を挿入し、支柱を傾斜内面に接触させて保持することができる。挿入した梯子は、固定プレートで固定することができる。したがって、梯子の転倒を確実に防止することができ、安全性の高い梯子固定装置を提供することができる。
【図面の簡単な説明】
【0010】
(a)使用状態における梯子固定装置全体の正面図。(b)図1(a)のB-B線断面図。(c)図1(a)のC-C線断面図。
(a)装置本体の正面図。(b)図1(a)のB-B線断面図。(c)図1(a)のC-C線断面図。
(a)固定プレートの正面図。(b)図1(a)のB-B線断面図。(c)図1(a)のC-C線断面図。
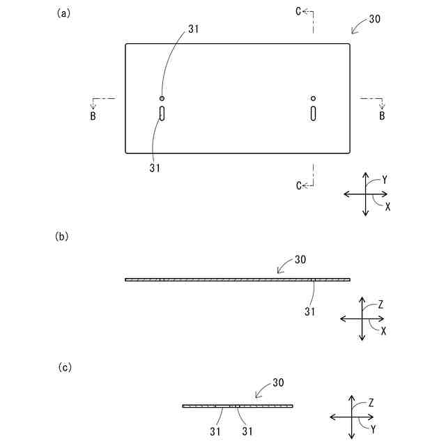
(a)蓋の正面図。(b)図1(a)のB-B線断面図。(c)図1(a)のC-C線断面図。
(a)蓋をした状態の固定装置全体の正面図。(b)図1(a)のB-B線断面図。(c)図1(a)のC-C線断面図。
【発明を実施するための形態】
(【0011】以降は省略されています)
この特許をJ-PlatPat(特許庁公式サイト)で参照する
関連特許
有限会社高橋土木
梯子固定装置
1日前
中国電力株式会社
脚立
3か月前
株式会社ナカオ
作業台
2か月前
株式会社ニチベイ
遮蔽装置
22日前
三協立山株式会社
開口部装置
2か月前
三協立山株式会社
開口部装置
2か月前
三協立山株式会社
開口部装置
2か月前
三協立山株式会社
開口部建材
15日前
三協立山株式会社
開口部建材
15日前
三協立山株式会社
開口部装置
2か月前
三協立山株式会社
開口部装置
2か月前
三協立山株式会社
開口部装置
1か月前
ミサワホーム株式会社
水切り材
2か月前
文化シヤッター株式会社
引戸装置
1か月前
不二サッシ株式会社
引違いサッシ
2か月前
豊田合成株式会社
調光装置
14日前
文化シヤッター株式会社
止水装置
1か月前
豊田合成株式会社
調光装置
1か月前
不二サッシ株式会社
引違いサッシ
1か月前
株式会社LIXIL
太陽電池ガラス
1か月前
三協立山株式会社
サッシの製造方法
2か月前
株式会社LIXIL
建具
1か月前
株式会社LIXIL
建具
2か月前
株式会社LIXIL
建具
1か月前
株式会社LIXIL
建具
1か月前
株式会社LIXIL
建具
1か月前
株式会社LIXIL
建具
1か月前
株式会社LIXIL
建具
2か月前
株式会社LIXIL
建具
1か月前
株式会社LIXIL
建具
2か月前
株式会社LIXIL
建具
1か月前
株式会社LIXIL
建具
2か月前
株式会社LIXIL
建具
1か月前
倉敷紡績株式会社
外構ユニット
1か月前
株式会社LIXIL
建具
1か月前
三和シヤッター工業株式会社
水密構造
3か月前
続きを見る
他の特許を見る