TOP
|
特許
|
意匠
|
商標
特許ウォッチ
Twitter
他の特許を見る
公開番号
2025139468
公報種別
公開特許公報(A)
公開日
2025-09-26
出願番号
2024038423
出願日
2024-03-12
発明の名称
ロールスクリーン
出願人
株式会社ニチベイ
代理人
個人
,
個人
主分類
E06B
9/50 20060101AFI20250918BHJP(戸,窓,シャッタまたはローラブラインド一般;はしご)
要約
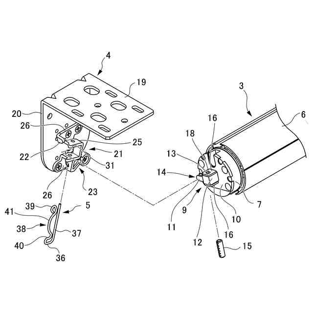
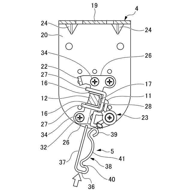
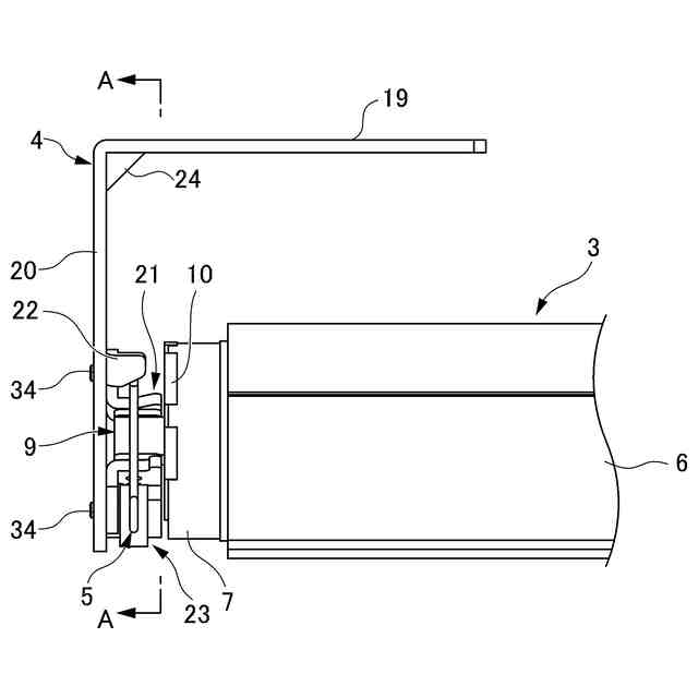
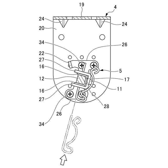
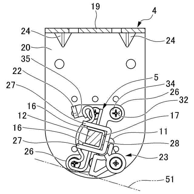
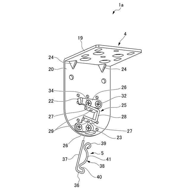
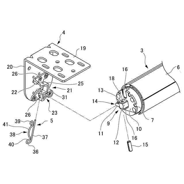
【課題】スクリーンを昇降可能な巻取部の軸部をサイドブラケットに固定するための固定ピンを非正規の取付向きで取り付けてしまうことを防止可能なロールスクリーンを提供する。
【解決手段】ロールスクリーンは、スクリーンを昇降可能な巻取部3と、巻取部3の両端部から突出する一対の軸部をそれぞれ支持可能な一対の軸受部をそれぞれ有する一対のサイドブラケットと、軸部9を軸受部21に固定する固定ピン5と、を備える。固定ピン5は、折返部36、第1脚部37及び第2脚部38を有する。一方のサイドブラケット4は、固定ピン5が非正規の取付向きである場合には、第2脚部38と当接することで軸部9及び軸受部21の夫々の挿通孔への第1脚部37の挿入を規制する挿入規制部23を有する。
【選択図】図3
特許請求の範囲
【請求項1】
スクリーンを昇降可能な巻取部と、
前記巻取部の両端部から突出する一対の軸部をそれぞれ支持可能な一対の軸受部をそれぞれ有する一対のサイドブラケットと、
一方の前記軸部及び一方の前記軸受部と、他方の前記軸部及び他方の前記軸受部とのうちの少なくとも一方において、前記軸部及び前記軸受部を連通するように夫々に形成された挿通孔に一部が挿入されて取り付けられることにより、前記軸部を前記軸受部に固定する固定ピンと、を備え、
前記固定ピンは、折返部と、前記折返部の一端から延在し前記軸部及び前記軸受部の夫々の挿通孔に挿入可能な線状の第1脚部と、前記折返部の他端から延在する第2脚部と、を有し、
前記一対のサイドブラケットの少なくとも一方は、前記固定ピンが非正規の取付向きである場合には、前記第2脚部と当接することで前記軸部及び前記軸受部の夫々の前記挿通孔への前記第1脚部の挿入を規制する挿入規制部を有する、ロールスクリーン。
続きを表示(約 670 文字)
【請求項2】
前記固定ピンは、一部に被規制部が形成された前記第2脚部を有し、
前記一対のサイドブラケットの少なくとも一方は、前記巻取部の軸方向と交差する基部と、前記基部から起立して設けられ前記被規制部が当接することにより前記軸部及び前記軸受部に取り付けられた前記固定ピンの前記第1脚部と前記第2脚部とが拡開するのを規制する規制部と、を有し、
前記挿入規制部は、前記第2脚部の前記被規制部が前記規制部に当接可能となる正規の取付向きである場合には、前記軸部及び前記軸受部の夫々の前記挿通孔への前記第1脚部の挿入を許容する、請求項1に記載のロールスクリーン。
【請求項3】
前記挿入規制部は、平面状の下端面を有しており、
前記軸部及び前記軸受部の夫々の前記挿通孔に前記第1脚部が挿入された状態において、前記挿入規制部の前記下端面に沿う面上に、前記固定ピンの下端が位置している、請求項1に記載のロールスクリーン。
【請求項4】
前記挿入規制部は、前記固定ピンが前記非正規の取付向きである場合に前記第2脚部と当接する当接部と、前記挿通孔の挿入方向に沿って延びるガイド部と、を有する、請求項1に記載のロールスクリーン。
【請求項5】
前記挿入規制部は、前記軸受部の近傍において、前記サイドブラケットに取り付けられる、請求項1に記載のロールスクリーン。
【請求項6】
前記挿入規制部は、前記軸受部に一体に形成される、請求項1に記載のロールスクリーン。
発明の詳細な説明
【技術分野】
【0001】
本発明は、ロールスクリーンに関する。
続きを表示(約 1,800 文字)
【背景技術】
【0002】
従来、下記特許文献1に開示されるように、スクリーンを巻き取る巻取軸と、巻取軸を回転可能に支持する支持ブラケットとを備えるロールスクリーンが知られている。支持ブラケットには、上部に開口部が設けられた支持孔が形成されている。端部にフランジが形成された巻取軸の芯軸を開口部から支持孔に挿入することで、軸方向に移動不能となるように巻取軸を支持ブラケットに支持することができる。
【0003】
また、下記特許文献1に開示されたロールスクリーンは、支持ブラケットの開口部を開閉可能に可動するストッパと、ストッパが開口部を閉鎖した状態においてストッパ及び支持ブラケットを貫通するように夫々の挿通孔に挿入される固定ピンとを備える。固定ピンには、一端部を折り返すように屈曲させて形成した係止部が設けられており、支持ブラケットには、固定ピンの係止部を係止するための係止ピンが設けられている。
【0004】
このような構成によれば、支持ブラケット及びストッパに挿入された固定ピンの係止部を支持ブラケットの係止ピンに係合させることで、固定ピンの脱落が防止される。従って、巻取軸を支持ブラケットに確実に保持できるようになる。
【先行技術文献】
【特許文献】
【0005】
特開2002-004751号公報
【発明の概要】
【発明が解決しようとする課題】
【0006】
しかしながら、特許文献1に開示されたロールスクリーンの構成では、固定ピンを正規の取付向きとは逆向きでも支持ブラケット及びストッパに挿入できてしまうため、固定ピンの係止部が支持ブラケットの係止ピンに係合されず、固定ピンの脱落が生じ得る状態となってしまう可能性がある。そのため、誤って固定ピンを非正規の取付向きで取り付けてしまうことを防止可能なロールスクリーンが望まれている。
【0007】
本発明は、このような課題に鑑みてなされたものであり、スクリーンを昇降可能な巻取部の軸部をサイドブラケットに固定するための固定ピンを非正規の取付向きで取り付けてしまうことを防止可能なロールスクリーンを提供することを目的とする。
【課題を解決するための手段】
【0008】
本発明者は、非正規の取付向きでは固定ピンがサイドブラケットに取り付けられない構成とすることで、上記の課題を解決できると考え、これに基づいて、以下のような新たなロールスクリーンを発明するに至った。
【0009】
(1)本発明によるロールスクリーンは、スクリーンを昇降可能な巻取部と、前記巻取部の両端部から突出する一対の軸部をそれぞれ支持可能な一対の軸受部をそれぞれ有する一対のサイドブラケットと、一方の前記軸部及び一方の前記軸受部と、他方の前記軸部及び他方の前記軸受部とのうちの少なくとも一方において、前記軸部及び前記軸受部を連通するように夫々に形成された挿通孔に一部が挿入されて取り付けられることにより、前記軸部を前記軸受部に固定する固定ピンと、を備え、前記固定ピンは、折返部と、前記折返部の一端から延在し前記軸部及び前記軸受部の夫々の挿通孔に挿入可能な線状の第1脚部と、前記折返部の他端から延在する第2脚部と、を有し、前記一対のサイドブラケットの少なくとも一方は、前記固定ピンが非正規の取付向きである場合には、前記第2脚部と当接することで前記軸部及び前記軸受部の夫々の前記挿通孔への前記第1脚部の挿入を規制する挿入規制部を有する。
【0010】
(2)上記(1)において、前記固定ピンは、一部に被規制部が形成された前記第2脚部を有し、前記一対のサイドブラケットの少なくとも一方は、前記巻取部の軸方向と交差する基部と、前記基部から起立して設けられ前記被規制部が当接することにより前記軸部及び前記軸受部に取り付けられた前記固定ピンの前記第1脚部と前記第2脚部とが拡開するのを規制する規制部と、を有し、前記挿入規制部は、前記第2脚部の前記被規制部が前記規制部に当接可能となる正規の取付向きである場合には、前記軸部及び前記軸受部の夫々の前記挿通孔への前記第1脚部の挿入を許容するのが好ましい。
(【0011】以降は省略されています)
この特許をJ-PlatPat(特許庁公式サイト)で参照する
関連特許
株式会社ニチベイ
遮蔽構造
1か月前
株式会社ニチベイ
遮蔽装置
23日前
株式会社ニチベイ
縦型ブラインド
16日前
株式会社ニチベイ
ロールスクリーン
23日前
株式会社ニチベイ
ロールスクリーン
1か月前
株式会社ニチベイ
ブラインド用カバー装置
1か月前
株式会社ニチベイ
ルーバー回転装置及び間仕切装置
1か月前
株式会社ニチベイ
ルーバー回転装置及び間仕切装置
1か月前
株式会社ニチベイ
回転規制具及びロールスクリーン
1か月前
株式会社ナカオ
作業台
2か月前
中国電力株式会社
脚立
3か月前
株式会社ESP
止水板
3か月前
株式会社ニチベイ
遮蔽装置
23日前
三協立山株式会社
開口部建材
16日前
三協立山株式会社
開口部装置
2か月前
三協立山株式会社
開口部装置
1か月前
三協立山株式会社
開口部装置
2か月前
三協立山株式会社
開口部装置
2か月前
三協立山株式会社
開口部建材
16日前
三協立山株式会社
開口部装置
2か月前
三協立山株式会社
開口部装置
2か月前
ミサワホーム株式会社
水切り材
2か月前
豊田合成株式会社
調光装置
15日前
不二サッシ株式会社
引違いサッシ
1か月前
文化シヤッター株式会社
引戸装置
1か月前
不二サッシ株式会社
引違いサッシ
2か月前
豊田合成株式会社
調光装置
1か月前
文化シヤッター株式会社
止水装置
1か月前
株式会社ニチベイ
縦型ブラインド
3か月前
株式会社LIXIL
太陽電池ガラス
1か月前
三協立山株式会社
サッシの製造方法
2か月前
株式会社LIXIL
建具
2か月前
株式会社LIXIL
建具
1か月前
倉敷紡績株式会社
外構ユニット
1か月前
株式会社LIXIL
建具
2か月前
株式会社LIXIL
建具
3か月前
続きを見る
他の特許を見る