TOP
|
特許
|
意匠
|
商標
特許ウォッチ
Twitter
他の特許を見る
公開番号
2025142782
公報種別
公開特許公報(A)
公開日
2025-10-01
出願番号
2024042333
出願日
2024-03-18
発明の名称
遮蔽構造
出願人
株式会社ニチベイ
代理人
個人
,
弁理士法人i.PARTNERS特許事務所
主分類
E06B
9/388 20060101AFI20250924BHJP(戸,窓,シャッタまたはローラブラインド一般;はしご)
要約
【課題】遮蔽装置の意匠性を損なうことなく、遮蔽装置と対向部との隙間を遮蔽可能な技術を提供する。
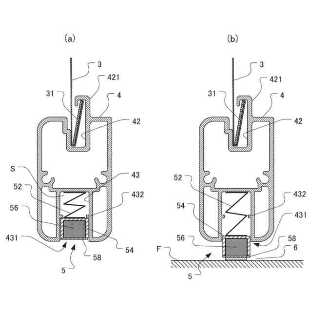
【解決手段】遮蔽装置の下端と該遮蔽装置の下方に位置する対向部Fとの隙間Gを遮蔽する隙間遮蔽部5であって、前記遮蔽装置の下端に設けられたウエイトバー4に形成された空間内に設けられ、前記ウエイトバー4から出没自在なホルダ54と、前記対向部Fが有する固定磁性体6の上方に位置し、該固定磁性体6に対して磁力吸着可能な磁性体56と、前記空間内に設けられ、前記ホルダ54が前記空間内に収容されるように該ホルダ54を付勢する弾性体52とを備え、前記ホルダ54は、前記磁性体56を有し、前記ウエイトバー4が前記対向部Fに近接した場合、前記弾性体52の付勢力に抗して前記固定磁性体6及び磁性体56間に生じる吸引力により、前記ウエイトバー4から突出して前記隙間Gを遮蔽した。
【選択図】図2
特許請求の範囲
【請求項1】
遮蔽装置の下端と該遮蔽装置の下方に位置する対向部との隙間を遮蔽する遮蔽構造であって、
前記遮蔽装置の下端に設けられたバー部材に形成された空間内に設けられ、前記バー部材から出没自在な出没部と、
前記対向部が有する第1の磁性体の上方に位置し、該第1の磁性体に対して磁力吸着可能な第2の磁性体と、
前記空間内に設けられ、前記出没部が前記空間内に収容されるように該出没部を付勢する付勢部と
を備え、
前記出没部は、前記第2の磁性体を有し、前記バー部材が前記対向部に近接した場合、前記付勢部の付勢力に抗して前記第1及び第2の磁性体間に生じる吸引力により、前記バー部材から突出して前記隙間を遮蔽する
遮蔽構造。
続きを表示(約 790 文字)
【請求項2】
前記第1及び第2の磁性体の少なくとも一方は硬磁性体を含み、他方は硬磁性体又は軟磁性体を含む
請求項1記載の遮蔽構造。
【請求項3】
前記付勢部は、弾性体である
請求項1記載の遮蔽構造。
【請求項4】
前記付勢部は、前記第2の磁性体に対して磁力吸着可能な第3の磁性体であり、
前記付勢部の付勢力は、前記第2及び第3の磁性体間に生じる吸引力であり、前記バー部材が前記対向部に近接した場合における前記第1及び第2の磁性体間に生じる吸引力よりも弱い
請求項1記載の遮蔽構造。
【請求項5】
前記出没部は、少なくとも前記第2の磁性体の壁面を覆うように該磁性体を保持するホルダを有する
請求項1記載の遮蔽構造。
【請求項6】
前記第2の磁性体の下面には、該磁性体と前記第1の磁性体との接触を防止するための緩衝部材が設けられている
請求項1記載の遮蔽構造。
【請求項7】
前記空間内に設けられ、前記付勢部による前記出没部の所定量以上の前記空間内への埋没を規制する埋没規制部
を更に備える請求項1記載の遮蔽構造。
【請求項8】
前記付勢部は、前記空間の一部を画成する上方側壁面と前記出没部との間に設けられ、
前記埋没規制部は、前記空間の一部を画成する前方側壁面及び後方側壁面の少なくとも一方の壁面に設けられて他方の壁面側に突出するリブとして形成される
請求項7記載の遮蔽構造。
【請求項9】
前記バー部材の上方への移動に応じて、前記出没部と係合することにより、前記第1及び第2の磁性体との磁力吸着を解除する解除部
を更に備える請求項1~請求項8のいずれか一項記載の遮蔽構造。
発明の詳細な説明
【技術分野】
【0001】
本実施形態は、遮蔽装置と枠体や床面等の対向部との隙間を遮蔽する遮蔽構造に関する。
続きを表示(約 1,800 文字)
【背景技術】
【0002】
従来、遮蔽装置下端と、遮蔽装置の下方において該遮蔽装置下端と対向する窓の下枠や床面等の対向部との隙間を遮蔽可能な技術として、下記特許文献1に示されるものが知られている。この文献に示されるブラインドは、そのボトムレールの長手方向全長に亘ってボトムレールから出没可能に垂下する遮光部材が備えられている。当該ブラインドを最下限まで下降させる場合、スラットが略垂直に傾動した状態でボトムレールが下降して、対向部としての窓の下枠に当接することとなる。この際、遮光部材は窓の下枠に当接してボトムレール内に没入する。没入後、スラットを水平方向に回転させると、昇降コードによってボトムレールが若干引き上げられるため、ボトムレールと窓の下枠との間に隙間が生じる。しかしながら、遮光部材がボトムレールから露出して窓の下枠に当接している状態であるため、当該隙間を埋めるように遮蔽し、当該隙間からの光漏れを防止できる。
【先行技術文献】
【特許文献】
【0003】
実公平3-28720号公報
【発明の概要】
【発明が解決しようとする課題】
【0004】
しかしながら、このような技術では、常にボトムレールから遮光部材が垂下して露出することとなるため、遮蔽装置の意匠性が損なわれていた。
【0005】
本発明は上述した課題を解決するためになされたものであり、遮蔽装置の意匠性を損なうことなく、遮蔽装置と対向部との隙間を遮蔽可能な技術を提供することを目的とする。
【課題を解決するための手段】
【0006】
上述した課題を解決するため、本発明の一態様は、遮蔽装置の下端と該遮蔽装置の下方に位置する対向部との隙間を遮蔽する遮蔽構造であって、前記遮蔽装置の下端に設けられたバー部材に形成された空間内に設けられ、前記バー部材から出没自在な出没部と、前記対向部が有する第1の磁性体の上方に位置し、該第1の磁性体に対して磁力吸着可能な第2の磁性体と、前記空間内に設けられ、前記出没部が前記空間内に収容されるように該出没部を付勢する付勢部とを備え、前記出没部は、前記第2の磁性体を有し、前記バー部材が前記対向部に近接した場合、前記付勢部の付勢力に抗して前記第1及び第2の磁性体間に生じる吸引力により、前記バー部材から突出して前記隙間を遮蔽することを特徴とする。
【発明の効果】
【0007】
本発明によれば、遮蔽装置の意匠性を損なうことなく、遮蔽装置と対向部との隙間を遮蔽可能な技術を提供できる。
【図面の簡単な説明】
【0008】
第1の実施形態に係るロールスクリーンの構成を示す正面図である。
第1の実施形態に係るウエイトバー及び隙間遮蔽部を説明するための図である。
第1の実施形態に係る隙間遮蔽部を示す斜視図である。
第1の実施形態に係る隙間遮蔽部の動作を示す概略縦断面図である。
第2の実施形態に係るウエイトバー及び隙間遮蔽部を説明するための図である。
第3の実施形態に係るウエイトバー及び隙間遮蔽部を説明するための図である。
【発明を実施するための形態】
【0009】
以下、本発明に係る実施形態について図面を参照しつつ説明する。本実施形態においては、遮蔽材として昇降可能なスクリーンを備えるロールスクリーンを例にとり説明を行う。なお、ロールスクリーンが設けられた際の室内側の面を正面、室外側の面を背面、正面と背面とからなる方向を前後方向、ロールスクリーンの幅方向を左右方向と称して以後説明を行う。また、本明細書及び図面において、実質的に同一の機能を有する構成要素については、同一の符号を付することにより重複説明を省略する。
【0010】
<第1の実施形態>
(全体構成)
第1の実施形態に係るロールスクリーンの全体構成について説明する。図1は本実施形態に係るロールスクリーンの構成を示す正面図である。なお、図1は、ロールスクリーン1のウエイトバー4が最下降位置まで下降され、窓の下枠や床面等である対向部Fに最も近接した状態が示されている。
(【0011】以降は省略されています)
この特許をJ-PlatPat(特許庁公式サイト)で参照する
関連特許
株式会社ニチベイ
遮蔽装置
7日前
株式会社ニチベイ
遮蔽構造
1か月前
株式会社ニチベイ
アダプタ装置
2か月前
株式会社ニチベイ
ロールスクリーン
7日前
株式会社ニチベイ
ロールスクリーン
1か月前
株式会社ニチベイ
ロールスクリーン
2か月前
株式会社ニチベイ
ブラインド用カバー装置
23日前
株式会社ニチベイ
ルーバー回転装置及び間仕切装置
1か月前
株式会社ニチベイ
ルーバー回転装置及び間仕切装置
1か月前
株式会社ニチベイ
回転規制具及びロールスクリーン
1か月前
株式会社ニチベイ
ブラインド用振れ止め装置及びブラインド用振れ止め機構
1か月前
株式会社ESP
止水板
2か月前
中国電力株式会社
脚立
2か月前
株式会社ナカオ
作業台
1か月前
株式会社ニチベイ
遮蔽装置
7日前
三協立山株式会社
開口部装置
2か月前
三協立山株式会社
開口部装置
1か月前
三協立山株式会社
開口部装置
1か月前
三協立山株式会社
開口部装置
1か月前
三協立山株式会社
開口部装置
2か月前
三協立山株式会社
開口部装置
2か月前
ミサワホーム株式会社
水切り材
2か月前
株式会社TJMデザイン
脚立用ホルダー
3か月前
株式会社ニチベイ
縦型ブラインド
3か月前
不二サッシ株式会社
引違いサッシ
2か月前
文化シヤッター株式会社
止水装置
29日前
豊田合成株式会社
調光装置
22日前
不二サッシ株式会社
引違いサッシ
29日前
文化シヤッター株式会社
引戸装置
20日前
三協立山株式会社
サッシの製造方法
1か月前
株式会社LIXIL
太陽電池ガラス
1か月前
株式会社LIXIL
建具
1か月前
株式会社LIXIL
建具
1か月前
株式会社LIXIL
建具
1か月前
株式会社LIXIL
建具
1か月前
倉敷紡績株式会社
外構ユニット
28日前
続きを見る
他の特許を見る