TOP
|
特許
|
意匠
|
商標
特許ウォッチ
Twitter
他の特許を見る
10個以上の画像は省略されています。
公開番号
2025145659
公報種別
公開特許公報(A)
公開日
2025-10-03
出願番号
2024045952
出願日
2024-03-22
発明の名称
ルーバー回転装置及び間仕切装置
出願人
株式会社ニチベイ
代理人
弁理士法人南青山国際特許事務所
主分類
E06B
7/086 20060101AFI20250926BHJP(戸,窓,シャッタまたはローラブラインド一般;はしご)
要約
【課題】より簡易な構造でルーバーの角度を保持可能なルーバー回転装置及び間仕切装置を提供すること。
【解決手段】ルーバー回転装置は、複数のルーバーユニットを連結することにより複数のルーバーを同期させて回転操作可能に構成されるルーバー回転装置である。前記各ルーバーユニットは、その長手方向両端部から突出する軸部を有するとともに、当該軸部の少なくとも一方にピニオンギアが形成された1つのルーバーと、前記軸部を回転可能に支持する一対のベース部材と、前記ルーバーの長手方向両端部のうち少なくとも一端部に、前記複数のルーバーユニット間において相互に連結可能に設けられ、前記ピニオンギアと噛合するラックギアを有し、前記ルーバーの回転操作に伴い摺動する可動部材と、を有する。前記可動部材は、前記ルーバーの非回転操作時において、当該可動部材の摺動位置を弾性力により保持可能な保持部を有する。
【選択図】図9
特許請求の範囲
【請求項1】
複数のルーバーユニットを連結することにより複数のルーバーを同期させて回転操作可能に構成されるルーバー回転装置であって、
前記各ルーバーユニットは、
その長手方向両端部から突出する軸部を有するとともに、当該軸部の少なくとも一方にピニオンギアが形成された1つのルーバーと、
前記軸部を回転可能に支持する一対のベース部材と、
前記ルーバーの長手方向両端部のうち少なくとも一端部に、前記複数のルーバーユニット間において相互に連結可能に設けられ、前記ピニオンギアと噛合するラックギアを有し、前記ルーバーの回転操作に伴い摺動する可動部材と、を有し、
前記可動部材は、前記ルーバーの非回転操作時において、当該可動部材の摺動位置を弾性力により保持可能な保持部を有する
ルーバー回転装置。
続きを表示(約 810 文字)
【請求項2】
請求項1に記載のルーバー回転装置であって、
前記可動部材は、当該可動部材の摺動方向に沿って開口された長孔状の開口部を有し、
前記ラックギアは、前記開口部の短手方向一方側の内側面に形成され、
前記保持部は、前記ピニオンギアと当接しその弾性力により当該ピニオンギアを保持するように前記開口部の短手方向他方側の内側面に設けられる
ルーバー回転装置。
【請求項3】
請求項2に記載のルーバー回転装置であって、
前記保持部は、前記開口部の短手方向他方側の内側面に前記ピニオンギアと当接するように形成された当接部と、当該当接部に前記弾性力を付与するように前記当接部に沿って前記可動部材に形成された空洞部と、を有する
ルーバー回転装置。
【請求項4】
請求項3に記載のルーバー回転装置であって、
前記当接部は、少なくとも一部に凹凸部を有する
ルーバー回転装置。
【請求項5】
請求項1に記載のルーバー回転装置であって、
前記ルーバーユニットは、前記ベース部材との間で前記可動部材を覆うカバー部材を有し、
前記保持部は、前記カバー部材の内壁と弾性的に摺接するように前記可動部材に形成された弾性片である
ルーバー回転装置。
【請求項6】
請求項1に記載のルーバー回転装置であって、
前記ルーバーユニットは、前記ルーバーの長手方向端部に取付可能に設けられ、前記軸部を有するルーバーホルダを有する
ルーバー回転装置。
【請求項7】
請求項1乃至6のいずれかに記載の少なくとも1つのルーバー回転装置と、
前記少なくとも1つのルーバー回転装置の上端に設けられ、レールに移動可能に支持されるランナと
を具備する間仕切装置。
発明の詳細な説明
【技術分野】
【0001】
本発明は、間仕切、窓、ドア、面格子等に用いられるルーバー回転装置及び当該ルーバー回転装置を有する間仕切装置に関する。
続きを表示(約 1,400 文字)
【背景技術】
【0002】
従来から、建物の窓部や内部空間の間仕切等に、光、風、温度、音、視野等の調整のために用いられるルーバー回転装置が知られている。
【0003】
例えば下記特許文献1には、扉枠間に複数個のルーバーを平行状に配置し、扉枠内に収容したキャップを各ルーバーの端部に嵌め、各キャップを連結板で連結し、キャップの中の一つをピニオンギアに選定し、扉枠の屋内側に案内部材を固定し、案内部材内にピニオンギアと噛み合うラックギアを備えたスライド部材を摺動自在に設け、スライド部材を摺動させてルーバーを回転させるように構成されたルーバー回転装置が開示されている。
【0004】
ここで、案内部材は内面を開放した筐体であり、その内側面には波形ストッパーが連なるように形成されている。そして、スライド部材の側面には波形ストッパーに係合する突起を有する舌片が形成されており、舌片の突起が波形ストッパーに係合することでルーバーを任意の角度で固定できるように構成されている。
【0005】
また、上記のルーバー回転装置は、窪みが凹設されたストッパーをスライド部材内に付勢した状態で備えており、ストッパーが付勢力に抗して移動し窪みが舌片と対向する位置となると、舌片が窪み内に変位可能となり、舌片の突起が波形ストッパーに係合した係合状態が解除可能となる。
【0006】
更に、上記のルーバー回転装置は、ストッパーを移動可能又は移動不能な状態に切替操作可能に構成されたレバーを備えている。即ち、レバーの操作によって、上記係合状態をロックしてルーバーを任意の角度に保持可能としたり、上記係合状態のロックを解除してルーバーの角度を調整可能としたりすることができる。
【先行技術文献】
【特許文献】
【0007】
特開2004-052386号公報
【発明の概要】
【発明が解決しようとする課題】
【0008】
しかしながら、上記のルーバー回転装置は、ルーバーの角度を保持するための構造が複雑であるという課題があった。
【0009】
本発明は、以上のような事情に鑑みてなされたものであり、より簡易な構造でルーバーの角度を保持可能なルーバー回転装置及び間仕切装置を提供することを目的とする。
【課題を解決するための手段】
【0010】
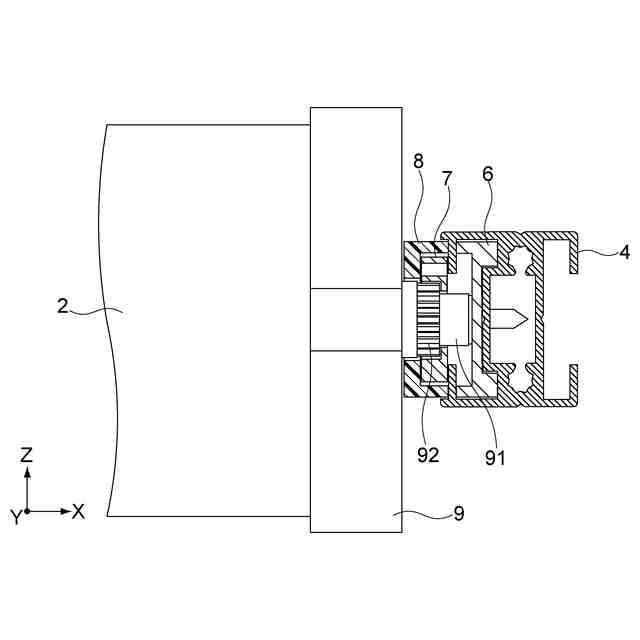
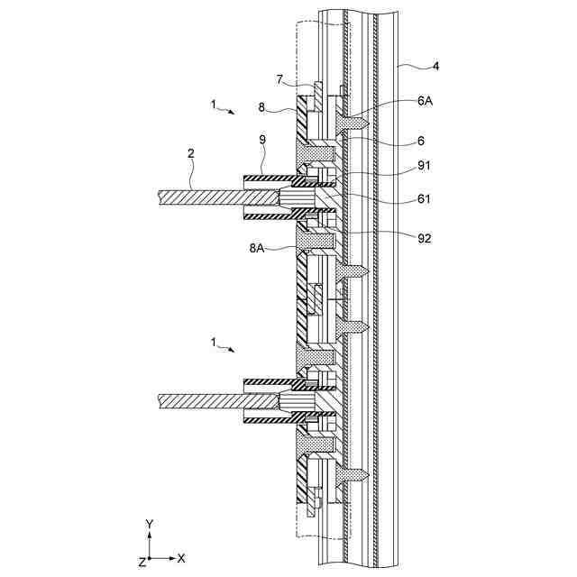
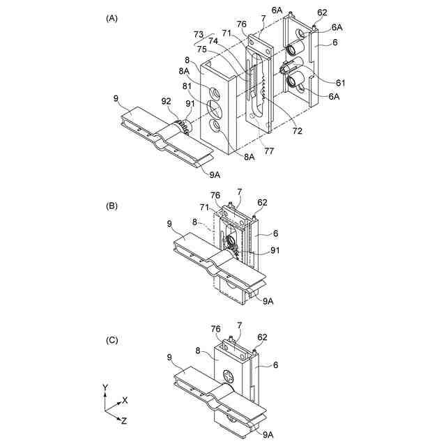
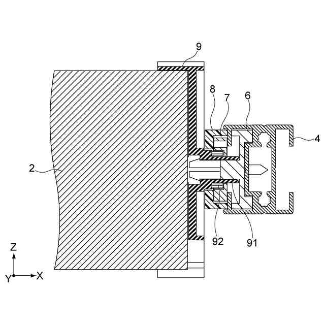
上記目的を達成するため、本発明の一形態に係るルーバー回転装置は、複数のルーバーユニットを連結することにより複数のルーバーを同期させて回転操作可能に構成されるルーバー回転装置である。前記各ルーバーユニットは、その長手方向両端部から突出する軸部を有するとともに、当該軸部の少なくとも一方にピニオンギアが形成された1つのルーバーと、前記軸部を回転可能に支持する一対のベース部材と、前記ルーバーの長手方向両端部のうち少なくとも一端部に、前記複数のルーバーユニット間において相互に連結可能に設けられ、前記ピニオンギアと噛合するラックギアを有し、前記ルーバーの回転操作に伴い摺動する可動部材と、を有する。前記可動部材は、前記ルーバーの非回転操作時において、当該可動部材の摺動位置を弾性力により保持可能な保持部を有する。
(【0011】以降は省略されています)
この特許をJ-PlatPat(特許庁公式サイト)で参照する
関連特許
株式会社ニチベイ
遮蔽構造
4日前
株式会社ニチベイ
ロールスクリーン
9日前
株式会社ニチベイ
ロールスクリーン
1か月前
株式会社ニチベイ
ルーバー回転装置及び間仕切装置
2日前
株式会社ニチベイ
ルーバー回転装置及び間仕切装置
2日前
株式会社ニチベイ
回転規制具及びロールスクリーン
6日前
株式会社ニチベイ
ブラインド用振れ止め装置及びブラインド用振れ止め機構
27日前
株式会社ESP
止水板
1か月前
中国電力株式会社
脚立
1か月前
株式会社ナカオ
作業台
25日前
三協立山株式会社
構造体
3か月前
三協立山株式会社
構造体
3か月前
三協立山株式会社
開口部装置
1か月前
三協立山株式会社
開口部装置
27日前
三協立山株式会社
開口部装置
1か月前
三協立山株式会社
開口部装置
3か月前
三協立山株式会社
開口部装置
27日前
三協立山株式会社
開口部装置
1か月前
ミサワホーム株式会社
水切り材
1か月前
不二サッシ株式会社
引違いサッシ
1か月前
株式会社ニチベイ
縦型ブラインド
2か月前
株式会社TJMデザイン
脚立用ホルダー
2か月前
株式会社LIXIL
太陽電池ガラス
6日前
永大産業株式会社
開閉構造体
3か月前
三協立山株式会社
サッシの製造方法
26日前
株式会社LIXIL
建具
2か月前
株式会社LIXIL
建具
6日前
株式会社LIXIL
建具
2か月前
株式会社LIXIL
建具
16日前
ナブテスコ株式会社
建具及び表示装置
2か月前
株式会社LIXIL
建具
16日前
株式会社LIXIL
建具
1か月前
三協立山株式会社
エクステリア構成材
1か月前
株式会社LIXIL
建具
16日前
株式会社LIXIL
建具
16日前
株式会社大林組
シャッター装置
2か月前
続きを見る
他の特許を見る